多传感器时延下井工矿无轨胶轮车轨迹跟踪控制

Trajectory tracking control of trackless rubber-tired vehicles in underground mines under multi-sensor time delays

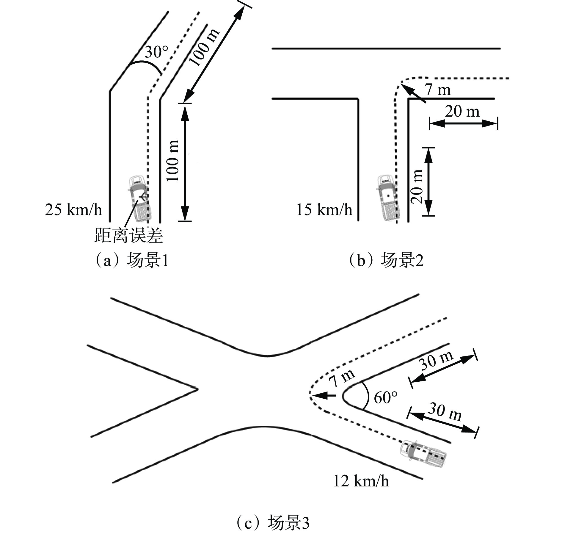
  • 摘要: 井工矿无人驾驶系统通常采用基于视觉和激光雷达传感器的SLAM算法进行场景重建和车辆定位。但井下环境粉尘密度大、照明条件差,复杂的基于感知的定位算法会有显著的计算时延,而且井下车辆大多采用改装解决方案,不可避免地存在执行器时延。上述因素会产生累积效应,因此有必要研究多传感器时延下井工矿无轨胶轮车轨迹跟踪控制。构建了车辆横向控制动力学模型,提出了2种建模方法来分析时延对车辆动力学控制稳定性的影响,一种是状态增广建模方法,另一种是基于构造Lyapunov泛函的方法。利用CarSim和Simulink构建井下车辆轨迹跟踪控制仿真测试环境,仿真结果表明,在关注相对于参考轨迹的平均跟踪距离误差时,需要限制感知算法的时延和定位标准差;当存在与安全相关的最大跟踪距离误差约束时,应优先考虑感知算法的时延要求。

     

    Abstract: The underground mine unmanned driving system typically uses SLAM algorithms based on vision and Light Detection and Ranging (LiDAR) sensors for scene reconstruction and vehicle positioning. However, in underground environments, the dust density is high, and lighting conditions are poor, making complex perception-based positioning algorithms prone to significant computational delays. Additionally, most underground vehicles use modified solutions, which inevitably introduce actuator delays. These factors can have a cumulative effect, making it necessary to study trajectory tracking control for underground mine trackless rubber-tired vehicles under multi-sensor delays. A lateral control dynamics model for the vehicle was developed, and two modeling methods were proposed to analyze the impact of delays on the stability of vehicle dynamics control: one was the state augmented modeling method, and the other was the Lyapunov functional-based method. The CarSim and Simulink platforms were used to construct a simulation testing environment for underground vehicle trajectory tracking control. Simulation results indicated that when focusing on the average tracking distance error relative to the reference trajectory, it was necessary to limit the delay of the perception algorithm and the standard deviation of positioning. When there was a maximum tracking distance error constraint related to safety, the delay requirements of the perception algorithm should be prioritized.

     

/

返回文章
返回