井下矿工多目标检测与跟踪联合算法

A joint algorithm of multi-target detection and tracking for underground miners

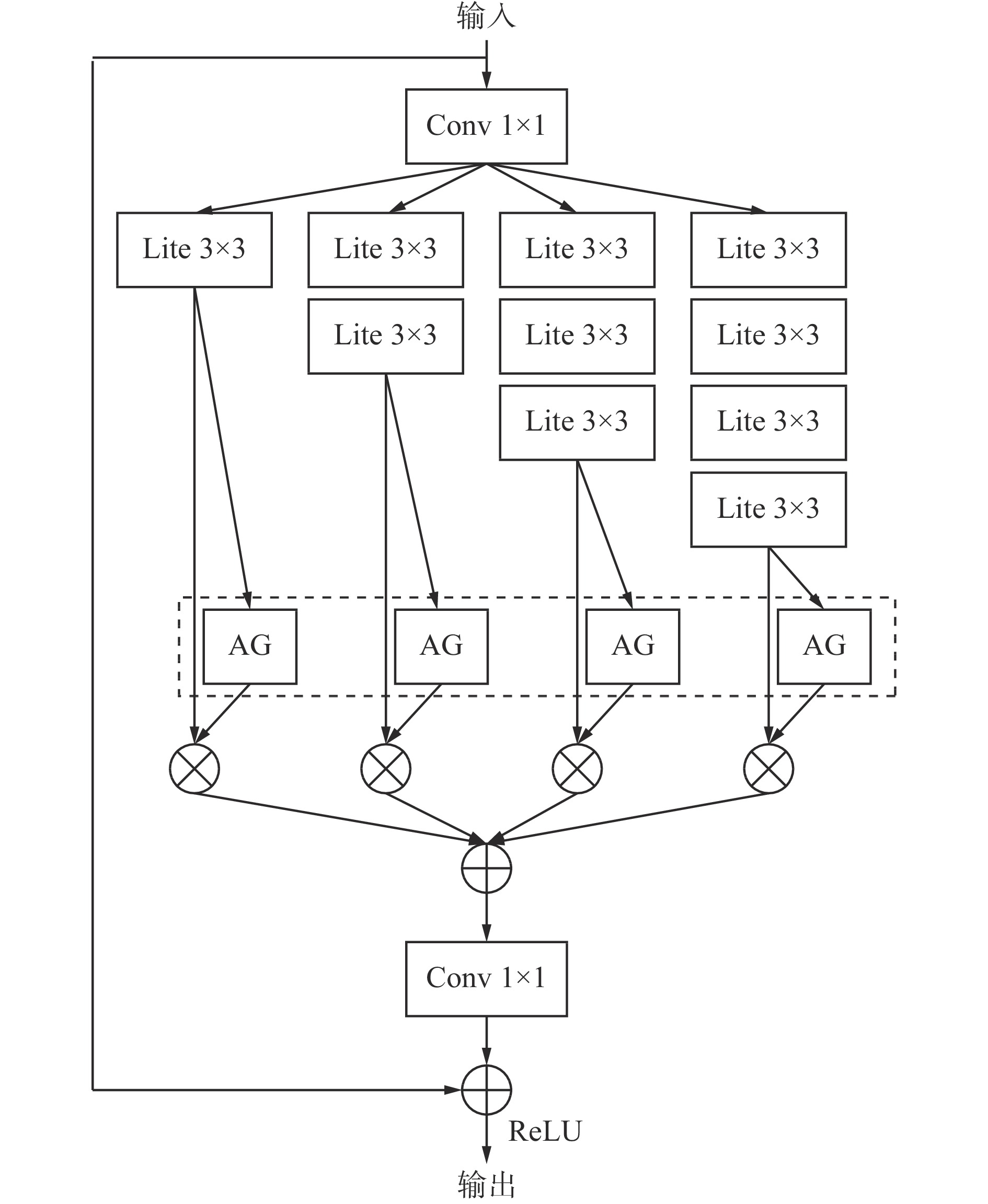
  • 摘要: 针对现有的煤矿井下矿工多目标跟踪算法检测速度慢、识别精度低等问题,提出了一种基于改进YOLOv5s模型与改进Deep SORT算法的多目标检测与跟踪联合算法。多目标检测部分,在YOLOv5s的基础上进行改进,得到YOLOv5s−GAD模型:引入幻象瓶颈卷积(GhostConv)模块和深度可分离卷积(DWConv)模块,分别替换YOLOv5s模型骨干网络和路径聚合网络中的BottleneckCSP模块,以提高特征提取速度;针对井下光线暗、图像噪点多等特点,在最小特征图中引入高效通道注意力神经网络(ECA−Net)模块,以提高模型整体精度。多目标跟踪部分,使用全尺度网络(OSNet)替换Deep SORT中的浅层残差网络进行全方位特征学习,以更好地实现行人重识别,提高目标跟踪的准确性。实验结果表明:在自定义数据集Miner21上,YOLOv5s−GAD模型的平均精度(交并比为0.5时)达97.8%,帧率达140.2 帧/s,多目标检测效果优于常用的Faster RCNN,YOLOv3,YOLOv5s模型;在公开行人数据集MOT17上,多目标检测与跟踪联合算法的速度与准确率等综合性能优于IOU17,Deep SORT等常用多目标跟踪算法,人员身份转换次数最少,行人重识别效果最好;采用井下矿工多目标检测与跟踪联合算法能够及时检测并跟踪井下矿工,多目标跟踪效果良好。

     

    Abstract: The existing multi-target tracking algorithms for underground miners has the problems of slow detection speed and low recognition precision. In order to solve the above problems, a joint algorithm of multi-target detection and tracking algorithm based on the improved YOLOv5s model and the improved Deep SORT algorithm is proposed. In the part of multi-target detection, the YOLOv5s-GAD model is obtained by improving YOLOv5s model. The GhostConv module and the depthwise separable convolution (DWConv) module are introduced to replace the BottleneckCSP module in the YOLOv5s model backbone network and path aggregation network respectively. Therefore, the feature extraction speed is improved. Considering the characteristics of dark underground light and many noisy images, the efficient channel attention neural network (ECA-Net) module is introduced into the minimum feature map to improve the model's overall precision. In the part of multi-target tracking, the omni-scale network (OSNet) is used to replace the shallow residual network in Deep SORT to carry out omni-directional feature learning. Therefore, pedestrian re-identification and target tracking precision are improved. The experimental result shows that on the custom dataset Miner21, the YOLOv5s-GAD model average preciscom (when the intersection of union ratio is 0.5) reaches 97.8%, and the frame rate reaches 140.2 frames/s. The multi-target detection effect is better than the commonly used Faster RCNN, YOLOv3 and YOLOv5s models. On the public miners dataset MOT17, the speed and accuracy of the multi-target detection and tracking joint algorithm are better than those of IOU17, Deep SORT and other common multi-target tracking algorithms. The proposed model has the least number of personnel identity conversions and the best miner re-recognition effect. The joint algorithm of multi-target detection and tracking for underground miners can detect and track underground miners in time, and the multi-target tracking effect is good.

     

/

返回文章
返回