Loading [MathJax]/jax/output/SVG/jax.js

基于支架结构运动学的放煤机构精准控制研究

王祖洸, 王伸, 李东印, 李化敏, 王文, 岳帅帅, 李东辉

王祖洸,王伸,李东印,等. 基于支架结构运动学的放煤机构精准控制研究[J]. 工矿自动化,2024,50(9):28-40. DOI: 10.13272/j.issn.1671-251x.18212
引用本文: 王祖洸,王伸,李东印,等. 基于支架结构运动学的放煤机构精准控制研究[J]. 工矿自动化,2024,50(9):28-40. DOI: 10.13272/j.issn.1671-251x.18212
WANG Zuguang, WANG Shen, LI Dongyin, et al. Study on precise control of coal caving mechanisms based on the kinematics of support structures[J]. Journal of Mine Automation,2024,50(9):28-40. DOI: 10.13272/j.issn.1671-251x.18212
Citation: WANG Zuguang, WANG Shen, LI Dongyin, et al. Study on precise control of coal caving mechanisms based on the kinematics of support structures[J]. Journal of Mine Automation,2024,50(9):28-40. DOI: 10.13272/j.issn.1671-251x.18212

基于支架结构运动学的放煤机构精准控制研究

基金项目: 河南理工大学安全学科“双一流”创建国家级重点项目培育资助项目(AQ20240306);河南省科技攻关计划项目(242102320210);河南省重点研发专项项目(241111320800);河南理工大学博士基金资助项目(B2023-26)。
详细信息
    作者简介:

    王祖洸(1991—),男,河南焦作人,讲师,博士,研究方向为采矿理论和技术、智能开采等,E-mail:wangzg@hpu.edu.cn

    通讯作者:

    王伸(1991—),男,河南修武人,副教授,博士,研究方向为岩层控制技术、智能开采等,E-mail:wangshen@hpu.edu.cn

  • 中图分类号: TD823.49

Study on precise control of coal caving mechanisms based on the kinematics of support structures

  • 摘要: 放煤机构的精准控制是实现智能化、无人化放顶煤开采的重要基础,放煤机构与后部刮板输送机的空间关系及支架姿态对空间关系的影响规律是构建放顶煤支架控制模型的关键。以ZF17000/27.5/42D型低位放顶煤支架为研究对象,阐述了支架顶板和底板不同俯仰姿态下放煤机构与后部刮板输送机的空间关系;基于液压支架放煤机构开口度控制逻辑,搭建了支架姿态感知系统,提出了液压支架放煤机构末端运动学分析方法;建立了基于D−H矩阵的低位放顶煤液压支架放煤机构末端运动学模型,并据此构建了液压支架放煤机构开口度计算模型,平均计算误差仅为1.71%,满足现场应用精度要求;提出了基于姿态反馈的支架放煤机构闭环控制方法,并将基于放煤机构开口度计算模型开发的放煤决策模型应用于现场。应用效果表明:自动放煤时各支架平均放煤时间的均方差仅为0.13 min,较人工放煤方式整体放煤效率提高20%~43.9%;顶煤采出率达89%,后部刮板输送机负载更加均衡,过载率仅为0.73%。
    Abstract: Precise control of the coal caving mechanism is a crucial foundation for realizing intelligent and unmanned top coal caving mining. The spatial relationship between the coal caving mechanism and the rear scraper conveyor, as well as the top coal influence of the hydraulic support's posture on this spatial relationship, is key to constructing a control model for the caving support. Using the ZF17000/27.5/42D low-position top coal caving support as the research object, this study explained the spatial relationship between the coal caving mechanism and the rear scraper conveyor under different pitch angles of the support's roof and base. Based on the control logic for the opening degree of the hydraulic support's coal caving mechanism, a support posture sensing system was established, and a method for kinematic analysis of the hydraulic support's coal caving mechanism was proposed. A kinematic model for the end of the low-position hydraulic support's coal caving mechanism based on the D-H matrix was developed, and a calculation model for the opening degree of the hydraulic support's coal caving mechanism was constructed. The average calculation error was only 1.71%, meeting the accuracy requirements for field applications. A closed-loop control method for the coal caving mechanism based on posture feedback was proposed, and the coal caving decision model developed from the opening degree calculation model was applied in the field. Application results showed that during automatic coal caving, the mean square deviation of the average caving time for each support was only 0.13 minutes, with an overall caving efficiency improvement of 20%-43.9% compared to manual caving. The top coal recovery rate reached 89%, and the load on the rear scraper conveyor was more balanced, with an overload rate of only 0.73%.
  • 图  1   放顶煤支架关键构件

    Figure  1.   Key structural components of top coal caving support

    图  2   底座、顶梁不同状态时液压支架姿态特征

    Figure  2.   Posture characteristics of hydraulic support under different states of base and top beam

    图  3   体坐标系与世界坐标系的空间关系

    Figure  3.   Spatial relationship between body coordinate system and world coordinate system

    图  4   标准D−H坐标系及其变换参数

    Figure  4.   Standard D-H coordinate system and its transformation parameters

    图  5   放顶煤液压支架D−H坐标系模型

    Figure  5.   D-H coordinate system model of top coal caving hydraulic support

    图  6   支架姿态传感器安装位置

    Figure  6.   Installation position of support posture sensors

    图  7   D−H参数计算模型

    Figure  7.   Calculation model of D-H parameters

    图  8   不同姿态下支架放煤机构运动轨迹及开口度特征

    Figure  8.   Motion trajectory and opening degree characteristics of coal caving mechanism under different postures of support

    图  9   放顶煤液压支架数值仿真模型

    Figure  9.   Numerical simulation model of top coal caving hydraulic support

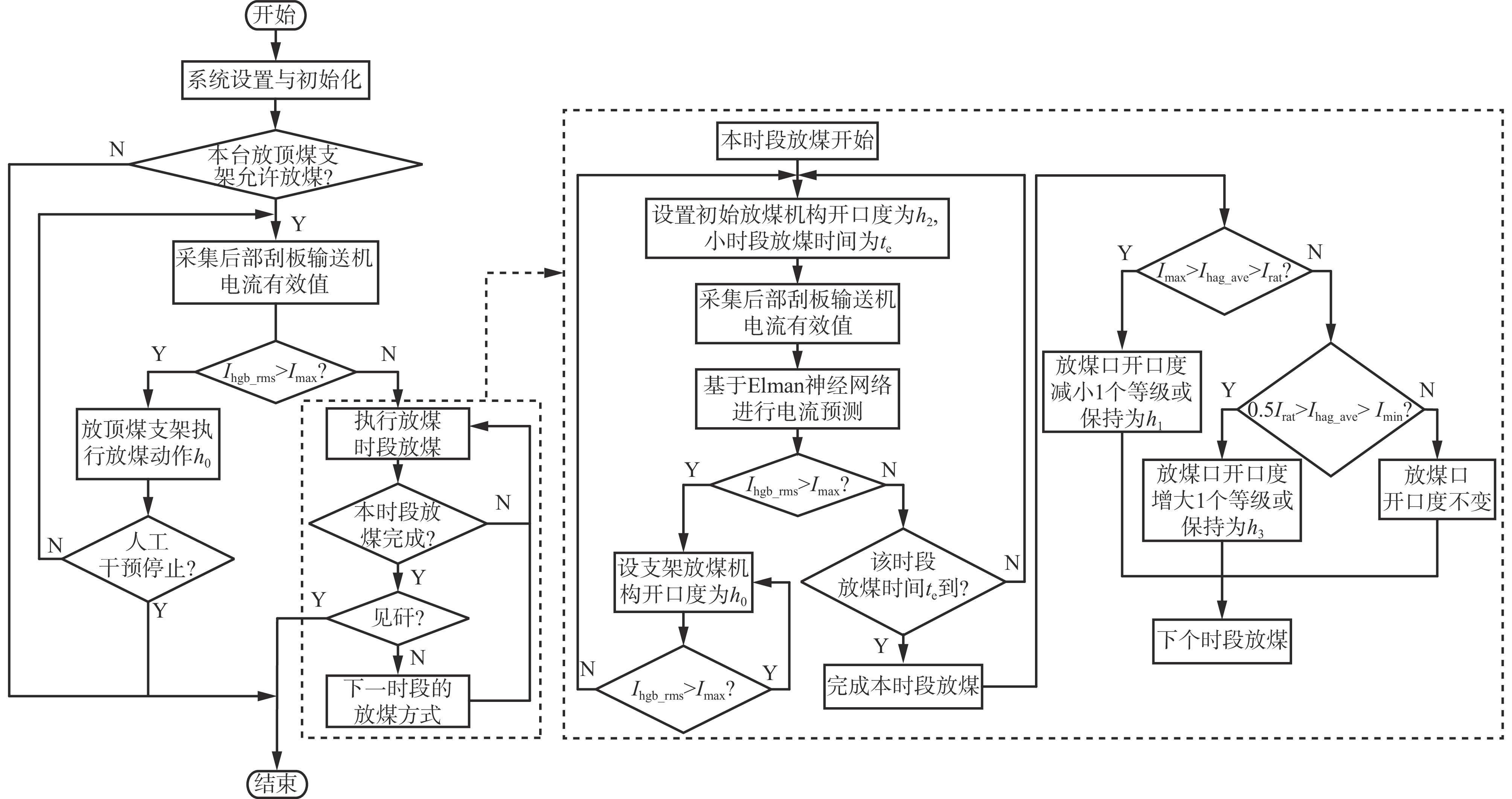
    图  10   基于放煤机构开口度控制的自动放煤流程

    Figure  10.   Automatic coal caving flow based on the coal caving mechanism's opening degree

    图  11   工作面各支架平均放煤时间

    Figure  11.   Average coal caving time of each support in working face

    图  12   顶煤放出量统计

    Figure  12.   Statistical diagram of top coal caving volume

    图  13   后部刮板输送机电动机电流曲线

    Figure  13.   Current curves of rear scraper conveyor motor

    表  1   放顶煤液压支架D−H坐标系变换参数

    Table  1   Transformation parameters of D-H coordinate system for top coal caving hydraulic support

    关节i αi gi di θi
    1 0 0 0 θ1
    2 0 g2 0 θ2
    3 0 g3 0 θ3
    4 0 g4 0 θ4
    5 0 g5 0 θ5
    6 0 g6 0 θ6
    下载: 导出CSV

    表  2   液压支架D−H参数

    Table  2   D-H parameters of hydraulic support

    序号 D−H参数 结构参数 数值 含义
    1 g2 lOB 1 712.5 mm 前连杆下铰接点B距固定
    坐标系原点O的距离
    2 g3 lBD 1 884.7 mm 前连杆上下2个铰接点间的距离
    3 g4 lDF 1 564.8 mm 前连杆上铰接点D与掩护梁上
    铰接点F的距离
    4 g5 lFI 2 473.7 mm 掩护梁上下2个铰接点间的距离
    5 g6 lIJ 1 707.0 mm 尾梁上铰接点到尾梁末端的距离
    6 θ1 β1 实测数据 底座与水平面的夹角
    7 θ2 AOB 57° OB线与底座的夹角,固定值
    8 θ3 180°−∠OBD 计算数据 OB线与前连杆夹角的补角
    9 θ4 180°−∠BDF 计算数据 DF线与前连杆夹角的补角
    10 θ5 180°−∠DFI 168° DF线与掩护梁夹角的补角
    11 θ6 180°−∠HIJ 计算数据 掩护梁与尾梁之间的夹角
    下载: 导出CSV

    表  3   部分支架构件参数

    Table  3   Parameters of some support structural components

    序号 结构参数 数值 含义
    1 β2 实测数据 前连杆与水平面的夹角
    2 DFI 12° DF线与掩护梁的夹角
    3 lD0D 493.9 mm 前连杆上铰接点到HE线的距离
    4 lDE 500.1 mm 前后连杆上铰接点间的距离
    5 lBC 1 033.4 mm 前后连杆下铰接点间的距离
    6 BCCʹ 25° C点到AB的垂线与BC的夹角
    7 lCE 1 519.6 mm 后连杆上下铰接点间的距离
    8 IʹIP 70° 尾梁行程传感器上安装杆至
    尾梁关节处形成的夹角
    9 NIJʹ 13° 尾梁行程传感器下安装杆至
    尾梁关节处形成的夹角
    10 lPI 336.7 mm 尾梁行程传感器上铰接点至
    尾梁上铰接点的距离
    11 lIN 892.7 mm 尾梁行程传感器下铰接点至
    尾梁上铰接点的距离
    12 lPN 714 mm+ lw 尾梁行程传感器2个铰接点间
    的距离(实测数据)
    下载: 导出CSV

    表  4   放煤机构开口度测试结果

    Table  4   Test results of opening degree of coal caving mechanism

    序号 底座倾
    角/(°)
    前连杆
    倾角/(°)
    尾梁行
    程/mm
    计算值/
    mm
    测量值/
    mm
    差值/
    mm
    误差/
    %
    1 0 45 220 459.27 465.13 5.86 1.26
    2 0 46 220 479.68 487.93 8.25 1.69
    3 0 47 220 499.42 508.19 8.77 1.73
    4 0 48 220 536.59 533.48 −3.11 −0.58
    5 0 49 220 565.27 557.02 −8.25 −1.48
    6 0 50 220 590.60 583.02 −7.58 −1.30
    7 1 47 220 544.24 555.68 11.44 2.06
    8 2 47 220 591.79 605.76 13.97 2.31
    9 3 47 220 642.19 655.05 12.86 1.96
    10 4 47 220 695.54 707.06 11.52 1.63
    11 5 47 220 751.99 761.27 9.28 1.22
    12 −1 47 220 457.26 465.27 8.01 1.72
    13 −2 47 220 417.69 422.16 4.47 1.06
    14 −3 47 220 380.65 380.80 0.15 0.04
    15 −4 47 220 346.10 341.08 −5.02 −1.47
    16 −5 47 220 314.01 303.01 −7.00 −2.31
    17 0 47 350 58.11 61.80 3.69 5.97
    18 0 47 280 282.41 289.30 6.89 2.38
    19 0 47 230 488.30 494.47 6.17 1.25
    20 0 47 170 726.81 732.40 5.59 0.76
    21 0 47 110 990.70 995.86 5.16 0.52
    22 0 47 50 1300.71 1307.65 6.94 0.53
    下载: 导出CSV
  • [1] 王国法,张良,李首滨,等. 煤矿无人化智能开采系统理论与技术研发进展[J]. 煤炭学报,2023,48(1):34-53.

    WANG Guofa,ZHANG Liang,LI Shoubin,et al. Progresses in theory and technological development of unmanned smart mining system[J]. Journal of China Coal Society,2023,48(1):34-53.

    [2] 王家臣. 我国综放开采40年及展望[J]. 煤炭学报,2023,48(1):83-99.

    WANG Jiachen. 40 years development and prospect of longwall top coal caving in China[J]. Journal of China Coal Society,2023,48(1):83-99.

    [3] 于斌,徐刚,黄志增,等. 特厚煤层智能化综放开采理论与关键技术架构[J]. 煤炭学报,2019,44(1):42-53.

    YU Bin,XU Gang,HUANG Zhizeng,et al. Theory and its key technology framework of intelligentized fully-mechanized caving mining in extremely thick coal seam[J]. Journal of China Coal Society,2019,44(1):42-53.

    [4] 宋选民,朱德福,王仲伦,等. 我国煤矿综放开采40年:理论与技术装备研究进展[J]. 煤炭科学技术,2021,49(3):1-29.

    SONG Xuanmin,ZHU Defu,WANG Zhonglun,et al. Advances on longwall fully-mechanized top-coal caving mining technology in China during past 40 years:theory,equipment and approach[J]. Coal Science and Technology,2021,49(3):1-29.

    [5] 范京道,金智新,王国法,等. 煤矿智能化重构人与煤空间关系研究[J]. 中国工程科学,2023,25(2):243-253.

    FAN Jingdao,JIN Zhixin,WANG Guofa,et al. Reconstructing human-coal space relationship through coalmine intellectualization[J]. Strategic Study of CAE,2023,25(2):243-253.

    [6] 马英. 基于尾梁振动信号采集的煤矸识别智能放煤方法研究[J]. 煤矿开采,2016,21(4):40-42,25.

    MA Ying. Intelligent coal caving with gangue identification based on tail beam vibration signal collection[J]. Coal Mining Technology,2016,21(4):40-42,25.

    [7] 张艳丽,张守祥. 基于Hilbert-Huang变换的煤矸声波信号分析[J]. 煤炭学报,2010,35(1):165-168.

    ZHANG Yanli,ZHANG Shouxiang. Analysis of coal and gangue acoustic signals based on Hilbert-Huang transformation[J]. Journal of China Coal Society,2010,35(1):165-168.

    [8] 刘闯,李化敏,常发展,等. 微波照射-红外探测主动式煤矸识别方法[J]. 矿业研究与开发,2023,43(2):184-188.

    LIU Chuang,LI Huamin,CHANG Fazhan,et al. Active identification method of coal and gangue by microwave irradiation-infrared detection[J]. Mining Research and Development,2023,43(2):184-188.

    [9] 牛剑峰. 综采放顶煤工作面自动放煤控制系统研究[J]. 工矿自动化,2018,44(6):27-30.

    NIU Jianfeng. Research on automatic drawing control system on fully-mechanized coal face with sublevel caving[J]. Industry and Mine Automation,2018,44(6):27-30.

    [10] 张良,牛剑峰,代刚,等. 综放工作面煤矸自动识别系统设计及应用[J]. 工矿自动化,2014,40(9):121-124.

    ZHANG Liang,NIU Jianfeng,DAI Gang,et al. Design of automatic identification system of coal and gangue for fully-mechanized coal caving working face and its application[J]. Industry and Mine Automation,2014,40(9):121-124.

    [11] 宋庆军,肖兴明,张天顺,等. 基于声波的放顶煤过程自动控制系统[J]. 计算机工程与设计,2015,36(11):3123-3127.

    SONG Qingjun,XIAO Xingming,ZHANG Tianshun,et al. Automatic control systems in top-coal caving based on acoustic wave[J]. Computer Engineering and Design,2015,36(11):3123-3127.

    [12] 王家臣,潘卫东,张国英,等. 图像识别智能放煤技术原理与应用[J]. 煤炭学报,2022,47(1):87-101.

    WANG Jiachen,PAN Weidong,ZHANG Guoying,et al. Principles and applications of image-based recognition of withdrawn coal and intelligent control of draw opening in longwall top coal caving face[J]. Journal of China Coal Society,2022,47(1):87-101.

    [13] 贺海涛,王佳豪,张海峰,等. 基于U−Net的放煤状态控制关键技术研究[J]. 煤炭科学技术,2022,50(增刊2):237-243.

    HE Haitao,WANG Jiahao,ZHANG Haifeng,et al. Calculation method of gangue content of coal gangue mixed image in fully-mechanized caving based on U-Net[J]. Coal Science and Technology,2022,50(S2):237-243.

    [14] 范志忠,王耀辉,黄志增. 支架压力和位态模糊识别的综放放煤模式[J]. 辽宁工程技术大学学报(自然科学版),2016,35(11):1205-1211. DOI: 10.11956/j.issn.1008-0562.2016.11.003

    FAN Zhizhong,WANG Yaohui,HUANG Zhizeng. Pattern of automation top-coal caving based on fuzzy recognition of support pressure and state[J]. Journal of Liaoning Technical University (Natural Science),2016,35(11):1205-1211. DOI: 10.11956/j.issn.1008-0562.2016.11.003

    [15] 杨艺,王圣文,崔科飞,等. 基于模糊深度Q网络的放煤智能决策方法[J]. 工矿自动化,2023,49(4):78-85.

    YANG Yi,WANG Shengwen,CUI Kefei,et al. Intelligent decision-making method for coal caving based on fuzzy deep Q-network[J]. Journal of Mine Automation,2023,49(4):78-85.

    [16] 张守祥,张学亮,刘帅,等. 智能化放顶煤开采的精确放煤控制技术[J]. 煤炭学报,2020,45(6):2008-2020.

    ZHANG Shouxiang,ZHANG Xueliang,LIU Shuai,et al. Intelligent precise control technology of fully mechanized top coal caving face[J]. Journal of China Coal Society,2020,45(6):2008-2020.

    [17] 潘卫东,李新源,员明涛,等. 基于顶煤运移跟踪仪的自动化放煤技术原理及应用[J]. 煤炭学报,2020,45(增刊1):23-30.

    PAN Weidong,LI Xinyuan,YUN Mingtao,et al. Principle and application of automatic caving technology based on top coal migration tracker[J]. Journal of China Coal Society,2020,45(S1):23-30.

    [18] 刘长友,张宁波,郭凤岐,等. 特厚煤层综放煤-矸-岩放落流动的时序规律及识别方法[J]. 煤炭学报,2022,47(1):137-151.

    LIU Changyou,ZHANG Ningbo,GUO Fengqi,et al. Sequential rules and identification method of coal-gangue-rock caving flow in fully mechanized top-coal-caving workface of extra thick coal seam[J]. Journal of China Coal Society,2022,47(1):137-151.

    [19] 郭金刚,李化敏,王祖洸,等. 综采工作面智能化开采路径及关键技术[J]. 煤炭科学技术,2021,49(1):128-138.

    GUO Jingang,LI Huamin,WANG Zuguang,et al. Path and key technologies of intelligent mining in fully-mechanized coal mining face[J]. Coal Science and Technology,2021,49(1):128-138.

    [20] 李东辉,李东印,王伸,等. 液压支架放煤机构安全过煤临界准则及放煤口精准控制方法研究[J]. 煤炭科学技术,2023,51(9):251-260.

    LI Donghui,LI Dongyin,WANG Shen,et al. Safe passing critical criterion for drawn top-coal on rear conveyor and accurate control approach for drawing opening dimension[J]. Coal Science and Technology,2023,51(9):251-260.

    [21] 巨文涛,赵东升,刘佳金. 精确控制放煤机构液压系统设计研究[J]. 山西焦煤科技,2022,46(6):47-49. DOI: 10.3969/j.issn.1672-0652.2022.06.013

    JU Wentao,ZHAO Dongsheng,LIU Jiajin. Design and research of hydraulic system for accurate control of coal caving mechanism[J]. Shanxi Coking Coal Science & Technology,2022,46(6):47-49. DOI: 10.3969/j.issn.1672-0652.2022.06.013

    [22] 许永祥,张金虎,佟友,等. 基于计算运动学的掩护式液压支架运动特性研究[J]. 煤矿开采,2018(4):4-7.

    XU Yongxiang,ZHANG Jinhu,TONG You,et al. Study of shield hydraulic support motion characteristics based on calculation kinematics[J]. Coal Mining Technology,2018(4):4-7.

    [23] 张树楠,曹现刚,崔亚仲,等. 基于多传感器的液压支架直线度测量方法研究[J]. 煤矿机械,2020,41(4):56-59.

    ZHANG Shunan,CAO Xiangang,CUI Yazhong,et al. Research on straightness measurement method of hydraulic support based on multi-sensor[J]. Coal Mine Machinery,2020,41(4):56-59.

    [24] 孙君令. 姿态数据驱动的液压支架运动状态监测技术研究[D]. 徐州:中国矿业大学,2019.

    SUN Junling. Research on monitoring technology of hydraulic support motion state driven by attitude data[D]. Xuzhou:China University of Mining and Technology,2019.

    [25] 路绪良,闫海峰,张霖. 液压支架逆向运动学分析[J]. 工矿自动化,2018,44(10):43-47.

    LU Xuliang,YAN Haifeng,ZHANG Lin. Inverse kinematics analysis of hydraulic support[J]. Industry and Mine Automation,2018,44(10):43-47.

    [26] 欧阳敏. 两柱放顶煤液压支架顶梁承载状态及智能监控技术研究[D]. 北京:煤炭科学研究总院,2022.

    OUYANG Min. Research on the bearing status and intelligent monitoring technology of the top beam of two pillar top caving hydraulic support[D]. Beijing:China Coal Research Institute,2022.

  • 期刊类型引用(8)

    1. 杨瑞峰,张岩,徐海洋,冯文龙. “黑灯”选煤厂建设与发展路径探究. 选煤技术. 2025(01): 1-8 . 百度学术
    2. 澹台乐琰,党小炜,孙再征,武书恒,陈警卫,白霄,澹台夏敏. 智能化选煤厂多层交换网络系统设计与应用. 煤炭工程. 2025(04): 27-33 . 百度学术
    3. 杨宗义. 工业安全控制平台在太原选煤厂的应用. 山西焦煤科技. 2024(04): 32-34+39 . 百度学术
    4. 张肇龙,李冬,张治军,高建川,王然风. 山西焦煤集团选煤厂智能化建设的实践与思考. 中国煤炭. 2024(06): 98-104 . 百度学术
    5. 陈修奇,白永清,徐成剑,陈峥,路畅通,王传真. 龙王沟选煤厂集控系统与停送电系统智能化升级实践与分析. 选煤技术. 2024(03): 92-96 . 百度学术
    6. 陈修奇,白永清,姜思远,张忠,盖春杰,王传真. 龙王沟选煤厂智能化控制实践与分析. 洁净煤技术. 2024(S1): 553-559 . 百度学术
    7. 李衡. 盐水对氧化煤浮选效果的影响. 安徽化工. 2024(05): 100-103 . 百度学术
    8. 曹正远,王毅,谷林,朱星昱,刘学成. 新街台格庙北矿区选煤厂智能化建设规划. 煤炭工程. 2024(S1): 21-26 . 百度学术

    其他类型引用(0)

图(13)  /  表(4)
计量
  • 文章访问数:  472
  • HTML全文浏览量:  39
  • PDF下载量:  24
  • 被引次数: 8
出版历程
  • 收稿日期:  2024-07-30
  • 修回日期:  2024-09-19
  • 网络出版日期:  2024-10-16
  • 刊出日期:  2024-08-31

目录

    LI Donghui

    1. On this Site
    2. On Google Scholar
    3. On PubMed

    /

    返回文章
    返回