贪心策略与调度规则融合的煤矸分拣机器人多任务分配方法

A multi-task allocation method for coal gangue sorting robots based on the integration of greedy strategy and scheduling rules

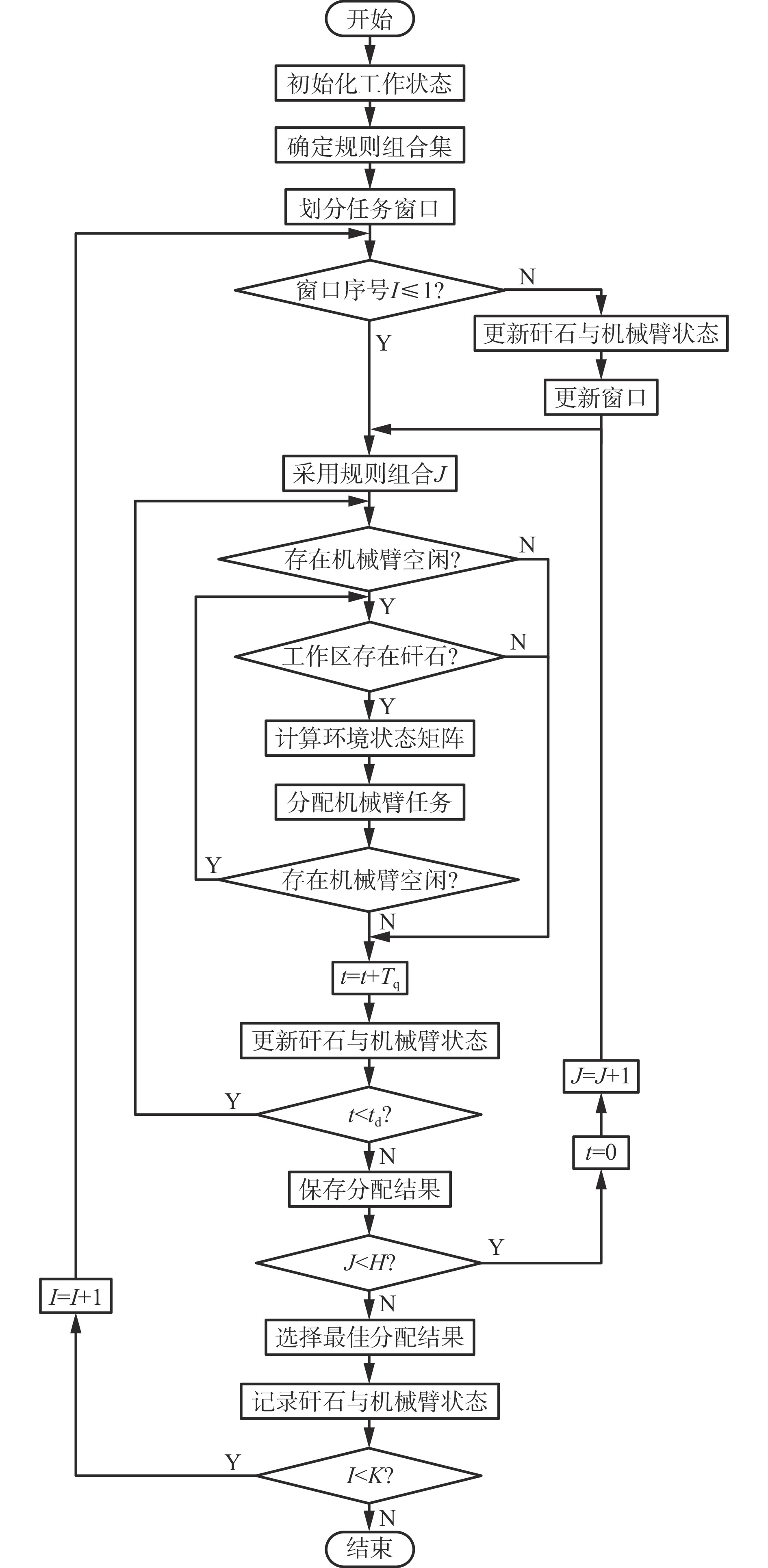
  • 摘要: 煤炭复杂的原煤开采工艺与原煤含矸率变化导致带式输送机上矸石的到达率、位置坐标和粒度大小呈现非线性变化,影响煤矸分拣的综合收益。在综合考虑矸石队列特征与排队论调度规则的基础上,提出了贪心策略与调度规则融合的多机械臂煤矸分拣机器人多任务分配方法。构建包含匹配矩阵、效益矩阵和环境状态矩阵的多机械臂煤矸分拣机器人多任务分配基础框架。分析矸石队列各维度信息特点与部分调度规则机理,研究不同调度规则间的组合方法,建立调度规则组合集,通过贪心策略比较不同时间窗口内不同调度规则的综合收益,以煤矸分拣过程中的分拣率与任务完成成功率作为综合收益,按照综合收益最大来选择调度规则进行多任务分配。搭建不同最大过煤量的时变原煤流仿真环境,进行多机械臂煤矸分拣机器人多任务分配仿真实验,结果表明:对于最大过煤量120,150 kg/s的时变原煤流样本,采用贪心策略与调度规则融合的煤矸分拣机器人多任务分配方法时矸石分拣率分别为97.69%,89.10%,较单一调度规则方法分别提升6.82%,5.67%;任务完成成功率为95.64%,86.46%,较单一调度规则方法分别提升3.02%,2.13%;机械臂利用率标准差较小,表明该方法降低了原煤流时变性对煤矸分拣综合收益的影响。

     

    Abstract: The complex raw coal mining process and the variation in the raw coal gangue content result in nonlinear changes in the arrival time, position coordinates, and particle size of the gangue on the belt conveyor, which affects the overall benefits of coal gangue sorting. Based on a comprehensive consideration of the gangue queue characteristics and queuing theory scheduling rules, a multi-task allocation method for coal gangue sorting robots, integrating a greedy strategy and scheduling rules, was proposed. A basic framework for multi-task allocation of multi-arm coal gangue sorting robots was constructed, including a matching matrix, benefit function matrix, and environmental state matrix. The characteristics of each dimension of the gangue queue information and the mechanisms of some scheduling rules were analyzed. The combination methods of different scheduling rules were studied, and a scheduling rule combination set was established. Through the greedy strategy, the overall benefits of different scheduling rules within different time windows were compared, with the sorting rate and task completion success rate in the coal gangue sorting process serving as the overall benefit rate. The scheduling rule that maximized the overall benefit was selected for multi-task allocation. A time-varying raw coal flow simulation environment with different maximum coal throughput was set up for multi-robot coal gangue sorting task allocation simulation experiments. The results showed that for time-varying raw coal flow samples with maximum coal throughput of 120 and 150 kg/s, the coal gangue sorting rates were 97.69% and 89.10%, respectively, when using the proposed multi-task allocation method with a greedy strategy and scheduling rules, which was an improvement of 6.82% and 5.67%, respectively, compared to the single scheduling rule method. The task completion success rates were 95.64% and 86.46%, respectively, showing improvements of 3.02% and 2.13%, respectively. The standard deviation of robot arm utilization was lower, indicating that the method reduced the impact of the time-varying raw coal flow on the overall benefits of coal gangue sorting.

     

/

返回文章
返回