基于直挂储能控制的煤矿交直流混合配电网电压波动抑制研究

Research on voltage fluctuation suppression in coal mine AC/DC hybrid distribution network based on directly-coupled energy storage control

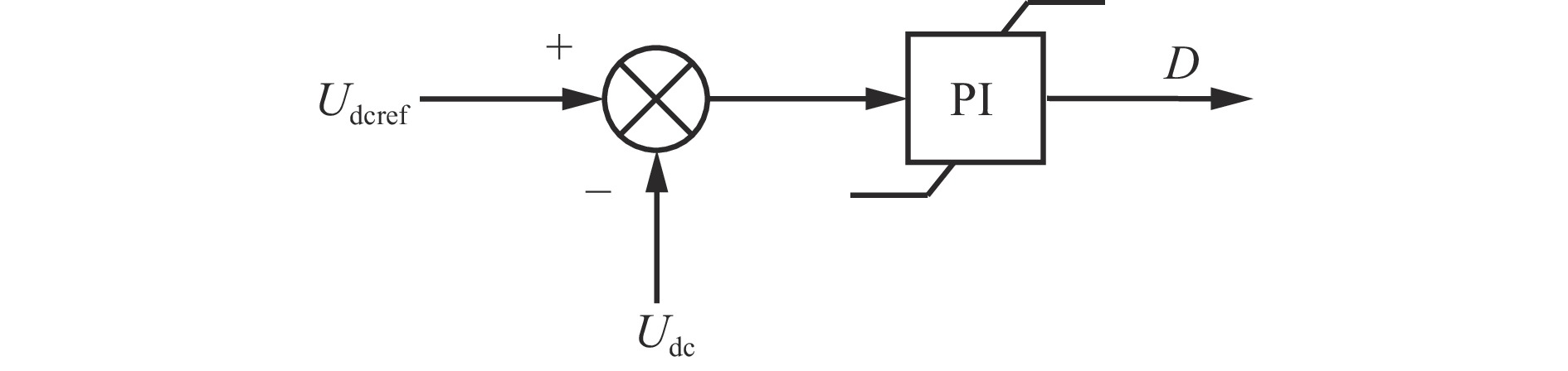
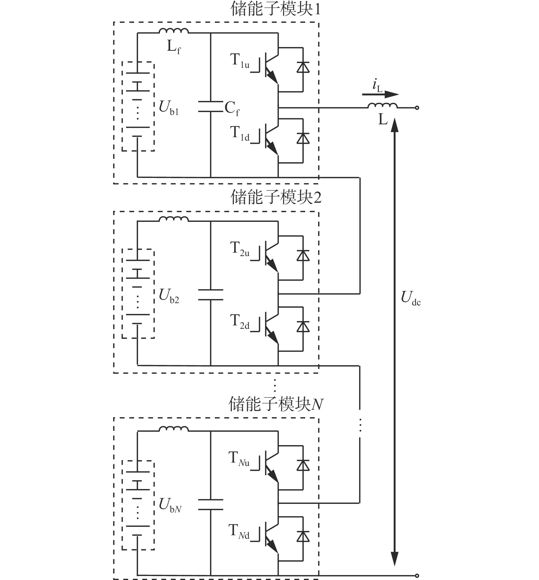
  • 摘要: 针对煤矿交直流混合配电网中因负载变化造成的直流母线电压波动问题,通常在直流母线处设置储能装置予以解决。现有的储能装置控制策略使得装置负担过重,且未考虑其荷电状态。针对煤矿交直流混合配电网的直流侧直挂储能拓扑,提出一种抑制母线电压波动的储能装置控制策略。经分析确定直挂储能装置工作于定功率模式,通过加入母线电压反馈进而调整储能装置出力的方式改进传统定功率控制策略,从而减小系统的不平衡功率;采用载波移相调制策略,以降低电流纹波;以荷电状态为对象进行排序均压,保证各储能子模块均匀充放电。在PSCAD/EMTDC中搭建煤矿交直流混合配电网仿真模型并进行实验,结果表明:在切除电动机或纯阻性负载突变情况下,母线电压波动率分别减小约70%和90%,验证了该控制策略可有效抑制母线电压波动,且蓄电池充放电速率为0.628C,满足快速响应要求。在实时数字仿真实验平台中进行硬件在环实验,结果与仿真结果一致,进一步验证了该控制策略的有效性。

     

    Abstract: Voltage fluctuations on the DC bus caused by load variations are a common issue in coal mine AC/DC hybrid distribution networks. A typical solution involves installing energy storage devices on the DC bus, but existing control strategies often impose excessive stress on the devices and overlook their State of Charge (SOC). This study introduced a control strategy designed specifically for directly-coupled energy storage systems on the DC side of coal mine AC/DC hybrid networks to mitigate voltage fluctuations. The proposed strategy improved the conventional constant power control approach by integrating DC bus voltage feedback, enabling dynamic adjustments to the energy storage output, and reducing system power imbalances. A carrier phase-shift modulation method was applied to minimize current ripple, while a SOC-based sorting mechanism ensured balanced charging and discharging across energy storage submodules. To validate the strategy, a simulation model of the AC/DC hybrid distribution network was built using PSCAD/EMTDC. The results showed significant improvements: DC bus voltage fluctuation rates were reduced by approximately 70% during motor shutdowns and by 90% under sudden resistive load changes. The battery charge/discharge rate was controlled at 0.628C, meeting the fast-response requirements. Further validation was performed through hardware-in-the-loop testing on a real-time digital simulation platform, which demonstrated consistency with the simulation results, confirming the strategy's effectiveness.

     

/

返回文章
返回