轻量化的多尺度跨通道注意力煤流检测网络

Lightweight multi-scale cross channel attention coal flow detection network

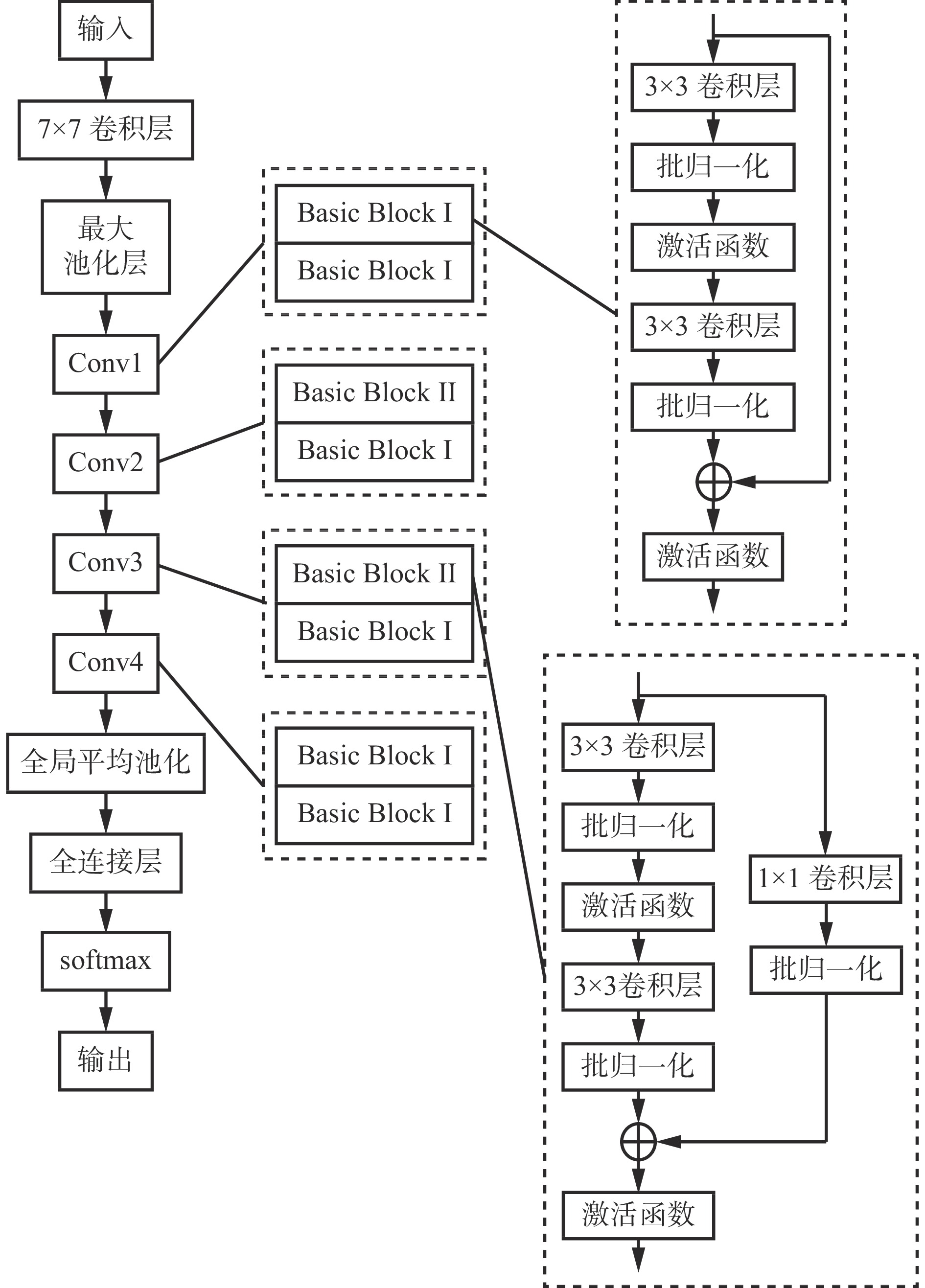
  • 摘要: 为通过变频调速提高带式输送机运行效率,需要对带式输送机煤流进行检测。现有基于深度学习的带式输送机煤流检测方法难以在模型轻量化和分类准确度之间达到平衡,且很少考虑在特征提取过程中通道权重分布不平衡对检测准确度的影响。针对上述问题,提出了一种轻量化的多尺度跨通道注意力煤流检测网络,该网络由特征提取网络和分类网络组成。将轻量化的残差网络ResNet18作为特征提取网络,并在此基础上引入煤流通道注意力(CFCA)子网络,CFCA子网络采用多个卷积核大小不同的一维卷积,并对一维卷积的输出进行堆叠,以捕获特征图中不同尺度的跨通道交互关系,实现对特征图权重的重新分配,从而提高特征提取网络的语义表达能力。分类网络由3个全连接层构成,其将向量化的特征提取网络的输出作为输入,并对其进行非线性映射,最终得到“煤少”、“煤适中”、“煤多”3类结果的概率分布,通过将煤流检测问题转换为图像分类问题,避免瞬时煤流量波动过大导致带式输送机频繁变频调速的问题,提高带式输送机运行稳定性。实验结果表明,ResNet18+CFCA网络在几乎不增加网络参数量和计算复杂度的情况下,比ResNet18网络在分类准确率上提升了1.6%,可更加有效地区分图像中的前景信息,准确提取煤流特征。

     

    Abstract: In order to improve the operating efficiency of belt conveyors through variable frequency speed regulation, it is necessary to detect the coal flow of belt conveyor. The existing deep learning-based coal flow detection methods for belt conveyors are difficult to achieve a balance between model lightweight and classification accuracy. There are few researches on the impact of imbalanced channel weight distribution on detection accuracy in the feature extraction process. In order to solve the above problems, a lightweight multi-scale cross channel attention coal flow detection network is proposed. The network consists of a feature extraction network and a classification network. The lightweight residual network ResNet18 is used as the feature extraction network, and on this basis, the coal flow channel attention (CFCA) subnetwork is introduced. The CFCA subnetwork uses multiple one-dimensional convolutions with different kernel sizes, and stacks the output of one-dimensional convolution to capture cross channel interaction relationships at different scales in the feature map. It achieves the reassignment of feature map weights, thereby improving semantic expression capability of the feature extraction network. The classification network consists of three fully connected layers, which take the output of the vectorized feature extraction network as input and perform nonlinear mapping on it. It ultimately obtains the probability distribution of three types of results: "little coal", "moderate coal", and "much coal". By transforming the coal flow detection problem into an image classification problem, the problem of frequent frequency conversion and speed regulation of belt conveyors caused by excessive fluctuations in instantaneous coal flow is avoided. It improves stability of belt conveyor operation. The experimental results show that the ResNet18+CFCA network improves classification accuracy by 1.6% compared to the ResNet18 network, with almost no increase in network parameters and computational complexity. It can distinguish foreground information in images more effectively and accurately extract coal flow features.

     

/

返回文章
返回