基于局部几何−拓扑地图的地下矿自动驾驶定位导航方法

A localization and navigation method for underground mine autonomous driving based on local geometric topology map

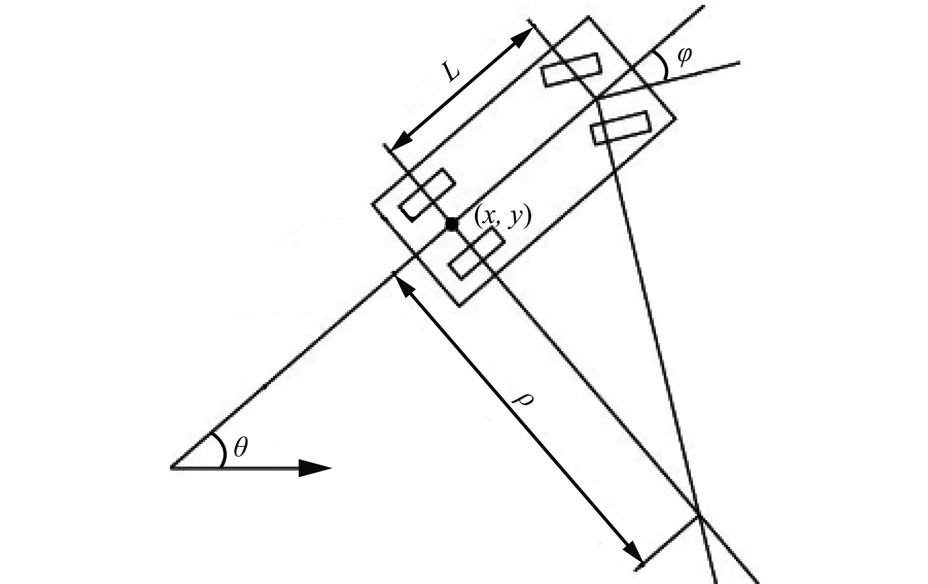
  • 摘要: 无人驾驶技术在提高效率、节省成本、减少安全隐患等方面具有巨大优势。针对目前地下环境中定位导航方案实施难度大、成本高、构建地图耗时长等问题,提出了一种基于局部几何−拓扑地图的地下矿自动驾驶定位导航方法。设计了一种局部几何−拓扑地图,井下环境的路网主体结构由拓扑地图表示,该地图上定义了巷道(边)和交叉路口(节点),在每个节点中存储以该节点为中心构建的局部几何地图,用以实现节点处的精确定位。提出了一种基于局部几何−拓扑地图的定位方法,使用基于激光雷达的交叉路口检测算法与交叉路口定位算法进行车辆全局定位。设计了一种基于自适应模型预测控制(MPC)的轨迹跟随算法,保证车辆在交叉路口大曲率转向时的路径跟踪精度。使用三维物理仿真平台构建了地下矿的仿真环境与车辆仿真模型,仿真结果表明:该方法能够实现地下矿自动驾驶定位导航功能,在各种类型交叉路口的定位误差均在0.2 m以内,可以满足自动驾驶的定位精度要求;在整个行驶过程中车辆始终保持较为平稳的行驶状态和较小的跟踪误差。与目前依赖于5G、UWB等技术的定位导航方法相比,该方法仅依赖于激光雷达与惯性测量单元2种车身传感器,在控制设备成本上具有极大优势。

     

    Abstract: Unmanned driving technology has enormous advantages in improving efficiency, saving costs and reducing safety hazards. In the current implementation of localization and navigation solutions in underground environments, there are problems of implementation difficulties, high costs, and time-consuming construction of maps. In order to solve the above problems, a localization and navigation method for underground mine autonomous driving based on local geometric topology map is proposed. A local geometric topology map has been designed. The main structure of the underground environment road network is represented by a topology map. The map defines roadways (sides) and intersections (nodes), and stores a local geometric map built around the node in each node to achieve precise positioning at the node. A localization method based on local geometric topology map is proposed, which uses a LiDAR-based intersection detection algorithm and intersection localization algorithm for global vehicle localization. A trajectory-following algorithm based on adaptive model predictive control (MPC) has been designed to ensure the path-tracking precision of vehicles turning at high curvature intersections. A simulation environment and vehicle simulation model for underground mines are constructed by using a 3D physical simulation platform. The simulation results show that this method can achieve underground mine autonomous driving localization and navigation functions. The positioning errors are within 0.2 m at various types of intersections, meeting the positioning localization precision requirements of autonomous driving. Throughout the entire driving process, the vehicle maintains a relatively stable driving state and a small tracking error. Compared with the current localization and navigation methods that rely on technologies such as 5G and UWB, this method only relies on two types of vehicle sensors: LiDAR and inertial measurement unit. It has great advantages in controlling equipment costs.

     

/

返回文章
返回