基于多尺度局部直方图均衡化的矿井图像增强方法

Mine image enhancement method based on multi-scale local histogram equalization

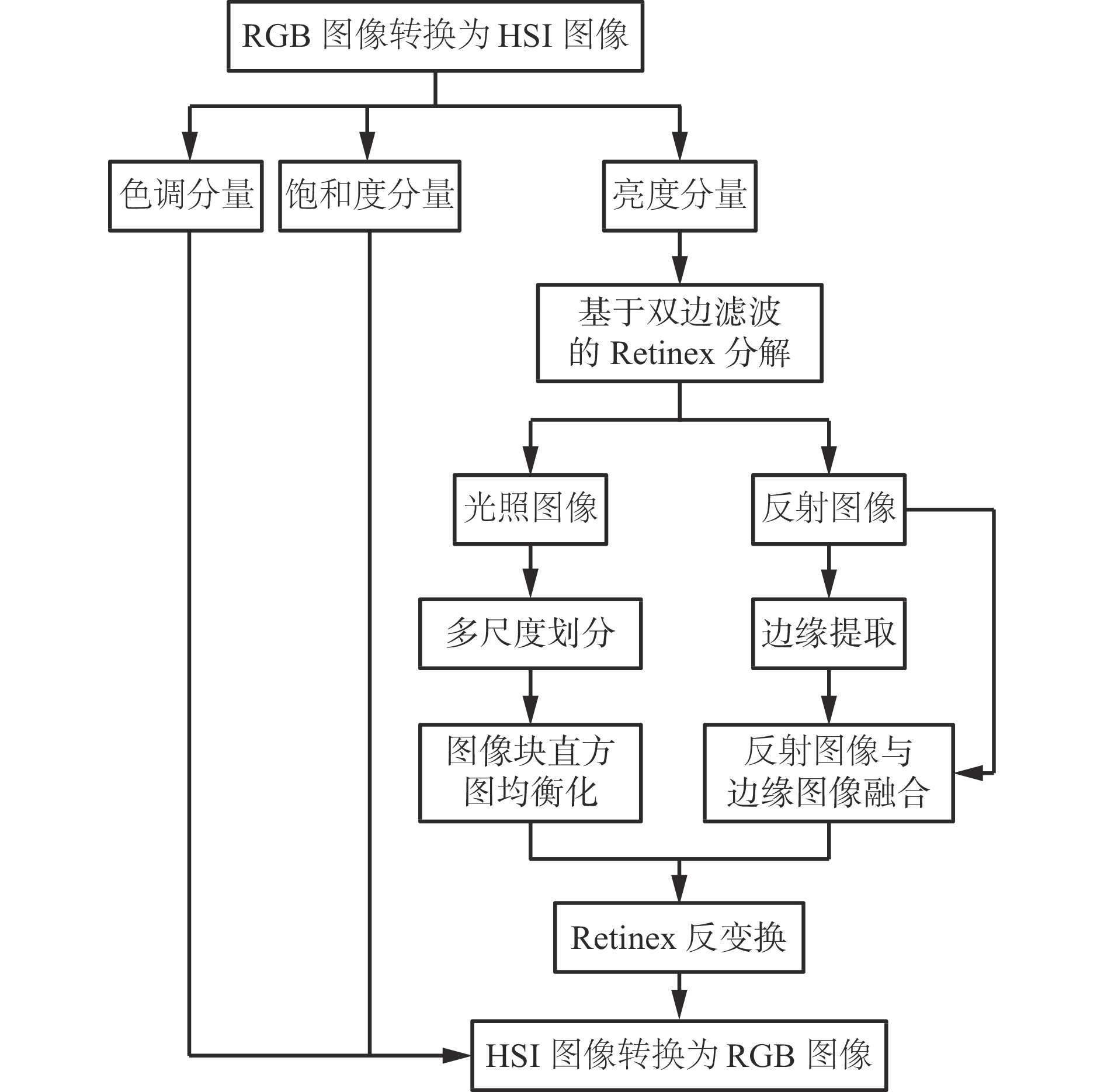
  • 摘要: 针对当前常用的直方图均衡化、基于Retinex理论、基于同态滤波、基于小波分析等矿井图像增强方法存在欠增强、过增强等问题,提出了一种基于多尺度局部直方图均衡化的矿井图像增强方法。根据HSI颜色空间图像的颜色分量(色调分量、饱和度分量)与亮度分量相互独立特性,将矿井低照度RGB图像转换到HSI颜色空间;采用双边滤波将亮度分量分解为光照图像和反射图像;对光照图像进行小、中、大3个尺度分块,对图像块分别进行局部直方图均衡化处理,以提升图像亮度和对比度;对反射图像进行8方向梯度增强,以丰富图像的纹理边缘;将经多尺度局部直方图均衡化的光照图像和方向梯度增强的反射图像进行Retinex反变换,得到增强的亮度分量,将其与色调分量和饱和度分量转换至RGB颜色空间,得到增强的矿井图像。采用煤矿井下实际监控图像对基于多尺度局部直方图均衡化的矿井图像增强方法进行实验验证,对其增强效果进行主客观评价。结果表明:该方法与现有图像增强方法相比,在图像亮度和对比度方面均有更大的提升,细节信息更丰富,信息熵提升7.23%以上,平均梯度均值提升31.6%以上,具有更好的图像增强效果。

     

    Abstract: There are problems of under-enhancement and over-enhancement in commonly mine image enhancement methods such as histogram equalization, Retinex theory, homomorphic filtering, wavelet analysis, etc. In order to solve the above problems, a mine image enhancement method based on multi-scale local histogram equalization is proposed. According to the independent features of color components (hue component and saturation component) and brightness component of image in HSI color space, the low-light RGB mine image is converted into the HSI color space. The method uses bilateral filtering to decompose the brightness component into lighted images and reflected images. The method divides the lighting image into small, medium, and large blocks, and performs local histogram equalization on each image block to improve image brightness and contrast. The method performs 8-direction gradient enhancement on the reflected image to enrich the texture edges of the image. The method performs Retinex inverse transformation on the light image after multi-scale local histogram equalization and reflection image after directional gradient enhancement to obtain the enhanced brightness component. Then the brightness, hue and saturation components are transformed into RGB color space to obtain an enhanced mine image. Experimental verification of the mine image enhancement method based on multi-scale local histogram equalization is conducted by using actual monitoring images of coal mines. The enhancement effect is evaluated subjectively and objectively. The results show that compared with existing image enhancement methods, this method has a greater improvement in image brightness and contrast with richer detail information. The information entropy has increased by over 7.23%, and the mean average gradient has increased by over 31.6%. It has better image enhancement effects.

     

/

返回文章
返回