基于双激光雷达的带式输送机煤流量检测系统

Coal flow detection system for belt conveyor based on dual lidar

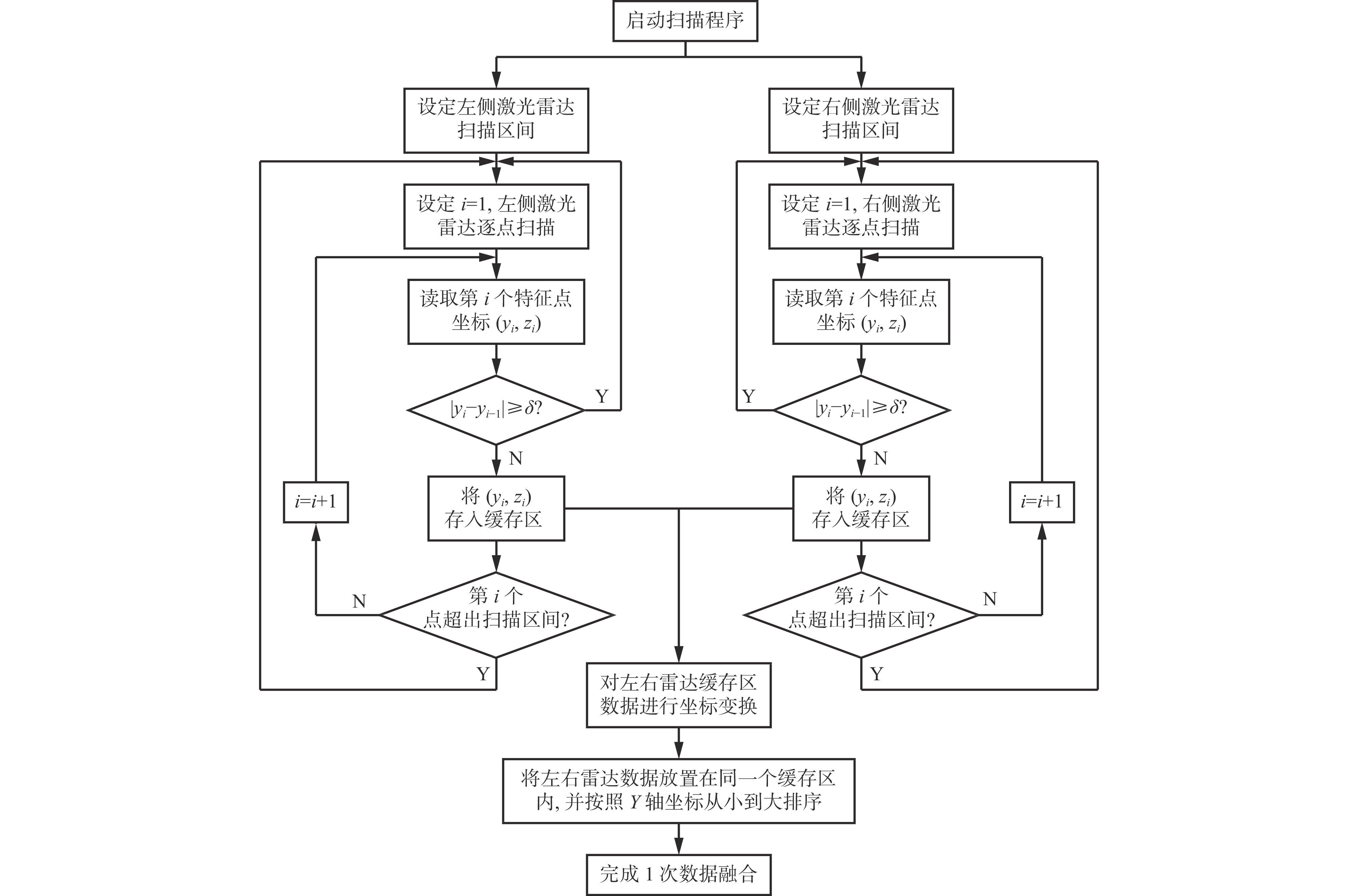
  • 摘要: 带式输送机煤流运输过程中由于堆积角的存在,使得煤流形状呈近似三角形,易出现检测盲区。针对该问题,提出了一种基于双激光雷达的带式输送机煤流量检测系统。将2个单线激光雷达分别放置在带式输送机上方左右两侧,各测量半个区域内的煤流外轮廓特征点,通过融合算法对左右区域内的煤流外轮廓特征点进行融合,再通过最小二乘多项式拟合算法解算出整个区域内的煤流外轮廓,从而实现对煤流轮廓的无盲区测量。使用光电编码器实时检测输送带运行速度,采用梯形面积累计法计算煤流断面面积,采用面元积分法计算带式输送机的煤流量。现场试验结果表明:无煤料偏置时,单/双激光雷达扫描结果基本一致,系统测量误差为2%~3%,满足煤流量检测要求;有煤料偏置时,基于单激光雷达的系统误差较大,无法满足煤流量检测要求,而基于双激光雷达的系统测量误差依然能够保持在2%~3%。提出了单/双激光雷达选择判据,得出存在煤料偏置或大块煤料的工况下,基于双激光雷达的带式输送机煤流量检测系统更加适用。

     

    Abstract: Due to the presence of stacking angles during the transportation of coal flow by belt conveyors, the shape of the coal flow is approximately triangular. It can easily lead to blind spots in detection. In order to solve this problem, a coal flow detection system for belt conveyors based on dual lidar is proposed. The method places two single-line lidars on the left and right sides above the belt conveyor, and measures the outer contour feature points of the coal flow in each half of the area. The method uses the fusion algorithm to fuse the outer contour feature points of the coal flow in the left and right areas. Then the method uses the least squares polynomial fitting algorithm to calculate the outer contour of the coal flow in the entire area, thus achieving blind spot-free measurement of the coal flow contour. The method uses the photoelectric encoder to achieve the real-time detection of the conveyor belt running speed. The method uses the trapezoidal area accumulation method to calculate the coal flow cross-sectional area. The method uses the panel integration method to calculate of the coal flow rate of the belt conveyor. The on-site test results show that when there is no coal bias, the scanning results of single/dual lidar are basically consistent, and the system measurement error is 2%~3%. The results meet the requirements of coal flow detection. When there is coal bias, the system error based on a single lidar is relatively large. The result cannot meet the requirements of coal flow detection. The measurement error based on a dual lidar system can still be maintained at 2% to 3%. The paper proposes a selection criterion for single/dual lidar. It is concluded that the coal flow detection system based on dual lidar is more suitable for belt conveyors in the presence of coal bias or large blocks of coal.

     

/

返回文章
返回