固体充填液压支架全位姿测量及虚拟仿真

Full pose measurement and virtual simulation of solid filling hydraulic support

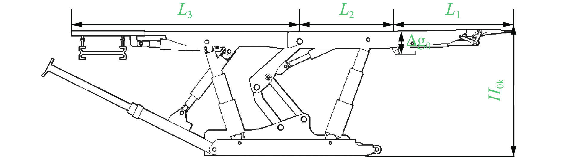
  • 摘要: 针对固体充填液压支架处于复杂地质条件下时空间位姿状态动态变化难以直接识别,现有位姿测量系统存在位姿参数部分缺失的问题,设计了一种固体充填液压支架全位姿测量系统。利用3D Max建模软件建立了固体充填液压支架三维模型,基于固体充填液压支架不同的特征节点,采用多传感器融合测量方法获取反映其空间全位姿的9个参数,即支架底座倾斜角(与水平面夹角)、顶梁姿态角(与水平面夹角)、支架高度、推矸推移距离、护帮板状态、推压密实机构倾角(与后顶梁夹角)、推压密实机构推移距离、支架组护帮板之间的距离、刮板输送机中部槽与支架推矸的夹角。将倾角传感器布置于前顶梁、后顶梁、底座、推压密实机构千斤顶等处,用于测量支架的底座倾斜角和前后顶梁姿态角等,将位移传感器安装在支架的推矸和推压密实机构上,用于测量推移距离等。利用视觉传感器采集图像数据,通过建立单目视觉测量模型及全局坐标系与局部坐标系的转换,分析计算固体充填液压支架组护帮板之间的距离、支架推矸与刮板输送机中部槽之间的角度、护帮板状态和支架高度等。针对现有固体充填液压支架虚拟仿真系统在数据分析、运动关系约束等方面缺乏深入研究的问题,设计了基于 Unity3D 的固体充填液压支架虚拟仿真系统,该系统利用Unity3D实现了支架运动仿真,可实时反映支架运行时的位姿状态变化。基于 Unity3D 的固体充填液压支架虚拟仿真系统与固体充填液压支架全位姿测量系统配套使用,可真实反映固体充填液压支架的运行状态,保证固体充填液压支架仿真的稳定性及数据的可靠性,为固体充填液压支架平稳运行提供了技术支持。

     

    Abstract: The dynamic change of the solid filling hydraulic support's spatial pose state is difficult to directly identify under complex geological conditions. The existing pose measurement system has some missing pose parameters. In order to solve the above problems, a full pose measurement system of the solid filling hydraulic support is designed. The 3D model of the solid filling hydraulic support is established by using 3D Max modeling software. Based on different characteristic nodes of the solid filling hydraulic support, nine parameters reflecting the full spatial pose are obtained by using the multi-sensor fusion measurement method. The nine parameters include the inclination angle of the support base (included angle with the horizontal plane), the attitude angle of the top beam (included angle with the horizontal plane), the support height, the pushing distance, the status of the guard plate, the inclination angle of the pushing and compacting mechanism (included angle with the rear top beam), the pushing distance of the pushing and compacting mechanism, the distance between the guard plates of the support group, and the included angle between scraper conveyor central groove and support pushing gear. The inclination angle sensors are arranged at the front top beam, the rear top beam, the base, and the jack of pushing and compacting mechanism. They are used for measuring the inclination angle of the base of the support, the attitude angles of the front top beam and the rear top beam. The displacement sensors are arranged on the pushing gear and pushing and compacting mechanism of the support. The sensors are used for measuring the pushing distance. The vision sensors are used for collecting image data. The monocular vision measurement model is established. The converting of a global coordinate system into a local coordinate system is obtained. Therefore, the distance between the guard plates of the solid filling hydraulic support set, the angle between the support pushing gear and the center groove of the scrap conveyor, the state of the guard plates and the support height can be analyzed and calculated. The existing virtual simulation system of solid filling hydraulic support lacks in-depth research in data analysis, motion relationship constraints and other aspects. In order to solve these problems, a virtual simulation system of solid filling hydraulic support based on Unity3D is designed. The system realizes the motion simulation of the support by using Unity3D. The system reflects the change of the pose state of the running support in real time. The virtual simulation system of solid filling hydraulic support based on Unity3D is used together with the full pose measurement system of solid filling hydraulic support, which can truly reflect the running state of solid filling hydraulic support, and ensure the stability and the reliability of data of solid filling hydraulic support simulation. The systems can provide technical support for the smooth running of solid filling hydraulic support.

     

/

返回文章
返回