综述

低功耗一氧化碳传感器研究进展

王海波1,2

(1.天地(常州)自动化股份有限公司, 江苏 常州 213015;2.中煤科工集团常州研究院有限公司, 江苏 常州 213015)

摘要低功耗一氧化碳传感器是煤炭安全开采的重要保障和分布式无线传感技术的关键基础。阐述了低功耗一氧化碳传感器的工作原理,重点介绍了电化学和半导体一氧化碳传感器的最新研究进展,分析了它们的优缺点,展望了低功耗一氧化碳传感器的发展方向和前景。① 电化学一氧化碳传感器主要由电极和电解质构成,有两电极和三电极结构,两电极电化学一氧化碳传感器没有参比电极,结构简单,易于设计和制造,成本较低,适用于低浓度一氧化碳的监测;三电极电化学一氧化碳传感器引入参比电极,具有较宽的量程和较高的精度,但成本高。电化学一氧化碳传感器响应时间较短,具有分布式无线传感应用前景,其研究重点在于铂-碳复合电极的制备,但电化学一氧化碳传感器仍然使用了水溶剂,存在漏液风险,且难以微型化;未来的发展趋势一方面要避免采用液体溶剂,研究全固态电化学一氧化碳传感器,并控制其孔隙率,缩短响应与恢复时间,另一方面要寻找廉价高效的电极材料,降低传感器成本;此外,制造微型化的电化学一氧化碳传感器也是未来重要的工作内容。② 半导体一氧化碳传感器可分为非微加热板型和微加热板型。非微加热板型一氧化碳传感器采用的是陶瓷管基底或者氧化铝平板基底,由于加热器尺寸较大,且热传导严重,功耗较高,通常在100 mW以上,难以用于分布式无线传感场合。微加热板型一氧化碳传感器热质量低,可以大大降低加热器运行功耗,还可与集成电路工艺兼容,可得到片上系统型一氧化碳传感器,降低外围电路功耗,适合物联网应用。微加热板型一氧化碳传感器体积比固体电解液电化学一氧化碳传感器更小,且具有成本低廉、灵敏度高、易于片上集成等优点,但易受湿度影响,基线易漂移;未来研究方向是对敏感材料进行修饰改进,优化封装工艺,并采用智能算法对基线进行自校准;可以使用沸石修饰敏感材料减少湿度对传感器的影响,或者在封装工艺上采用聚四氟乙烯等的憎水膜;智能算法可以采用支持向量机和人工神经网络结合算法或人工智能算法,未来希望可以实现高效率的边缘计算,以提高效率和准确率。

关键词分布式无线传感; 低功耗一氧化碳传感器; 电化学一氧化碳传感器; 半导体一氧化碳传感器; 微机械电子系统

0 引言

一氧化碳是煤矿的主要灾害气体之一,主要来源于采空区煤炭自然发火和矿井瓦斯爆炸时煤炭和煤尘的不完全燃烧,可燃且剧毒,可迅速致人死亡。《煤矿安全规程》规定:煤矿井下空气中一氧化碳体积分数不得大于24×10-6[1]。煤矿必须安装一氧化碳传感器以保证持续监测一氧化碳浓度,浓度超限时应及时报警,以保证矿工生命安全。目前煤矿安全监控中的一氧化碳传感器仍以有线供电模式为主,由于煤矿井下布线受限,导致一氧化碳传感器分布范围小,监测区域受限。通过部署分布式无线一氧化碳传感器可以实现大范围一氧化碳浓度测量,进一步确保矿工生命安全。分布式无线一氧化碳传感器技术要求一氧化碳传感器廉价、低功耗、微型化[2]。目前煤矿主要采用液体电解质电化学一氧化碳传感器,其功耗较低,但存在成本较高、漏液、难以实现微型化等缺点,不能完全满足分布式无线传感需求。微机械电子系统(Micro-Electro-Mechanical System,MEMS)和新材料的发展推动了低功耗一氧化碳传感器技术的革新。MEMS起源于20世纪70年代末[3],应用微纳加工生产线可实现高性能一氧化碳传感器的批量制造。基于MEMS技术的一氧化碳传感器成本低廉、功耗低、易于实现微型化。纳米材料具有高比表面积、纳米效应、量子效应等特殊性质[4],可提高一氧化碳传感器的灵敏度。本文介绍了低功耗一氧化碳传感器的工作原理和研究进展,分析了低功耗一氧化碳传感器的优缺点,展望了低功耗一氧化碳传感器的发展方向和前景,为后续进一步研究低功耗一氧化碳传感器提供参考。

1 低功耗一氧化碳传感器工作原理

根据工作原理,低功耗一氧化碳传感器可以分为低功耗电化学一氧化碳传感器和低功耗半导体一氧化碳传感器。

1.1 电化学一氧化碳传感器

电化学一氧化碳传感器主要由电极和电解质构成。电解质分液体电解质和固体电解质,固体电解质电化学一氧化碳传感器一般为电位型,液体电解质又分为电位型和电流型。电位型一氧化碳传感器是利用电极电势和气体浓度之间的关系测量一氧化碳的浓度;电流型一氧化碳传感器采用极限电流原理,利用气体通过薄层透气膜或毛细孔扩散作为限流措施,获得稳定的传质条件,产生正比于气体浓度或分压的极限扩散电流[5],通过测量极限扩散电流值,就可以由线性公式求得一氧化碳浓度。

电化学一氧化碳传感器有两电极和三电极结构,主要区别在于有无参比电极。在实际应用中,由于电极表面连续发生电化学发应,传感电极电势并不能保持恒定。为改善传感器性能,引入了参比电极。参比电极可安装在电解质中,与传感电极邻近。参比电极可以保持传感电极上的固定电压值,如图1所示。

图1 典型三电极电化学一氧化碳传感器结构

Fig.1 Structure of a typical three-electrode electrochemical carbon monoxide sensor

两电极电化学一氧化碳传感器没有参比电极,结构简单,易于设计和制造,成本较低,适用于低浓度一氧化碳的检测;三电极电化学一氧化碳传感器引入参比电极,具有较宽的量程和较好的精度,但参比电极的引入增加了制造工序的复杂性和材料成本,所以,三电极电化学一氧化碳传感器的价格高于两电极电化学一氧化碳传感器。

1.2 半导体一氧化碳传感器

半导体一氧化碳传感器一般又称电阻式一氧化碳传感器。半导体一氧化碳传感器由衬底、电极、敏感材料组成,敏感材料为半导体材料,如添加铂或钯的二氧化锡。二氧化锡被加热时,空气中的氧就会从二氧化锡结晶粒子的施主能级中夺走电子,在结晶表面上形成电子耗尽层,使表面电位增高,从而阻碍导电电子的移动。这时待测气体与二氧化锡表面吸附的氧发生氧化反应,使其表面电位发生变化,电阻值增大,二氧化锡表面如果吸附了一氧化碳,则电阻值减小,根据电阻值的变化就能检测出一氧化碳气体的浓度。通过铂掺杂可以提高表面氧离子浓度,增大表面耗尽层宽度,提高一氧化碳传感器的灵敏度,具体原理如图2所示[6]

(a) 二氧化锡纳米粒子在空气中

(b) 铂掺杂二氧化锡纳米粒子在空气中

(c) 铂掺杂二氧化锡纳米粒子在一氧化碳中

图2 铂掺杂二氧化锡粒子的一氧化碳传感器响应原理

Fig.2 Response principle of carbon monoxide sensor based on Pt doped tin dioxide

按照衬底划分,半导体一氧化碳传感器可分为非微加热板型和微加热板型。非微加热板型一氧化碳传感器采用的是陶瓷管基底或者氧化铝平板基底,由于加热器尺寸较大,且热传导严重,故而功耗通常在100 mW以上,难以用于分布式无线传感场合。微加热板型一氧化碳传感器热质量低,可以大大降低加热器运行功耗;微加热板还可与集成电路工艺兼容,可得到片上系统型一氧化碳传感器,降低外围电路功耗。微加热板型一氧化碳传感器比非微加热板型半导体一氧化碳传感器更适合物联网应用。

2 电化学一氧化碳传感器研究进展

孙鲲鹏等[7]采用化学还原方法制备了Pd/Nafion复合膜电极作为催化传感电极,研制了室温全固态电解质型一氧化碳传感器,分析了复合膜电极对一氧化碳/氮气体系产生电流响应的适宜电位、响应时间常数以及响应电流与一氧化碳体积分数的关系,并探讨了检测环境温度对传感器响应输出电流的影响。一氧化碳的电化学催化反应存在极限扩散控制步骤,传感器的响应时间为6~7 min。当一氧化碳的体积分数低于4%时,传感器的响应电流与其体积分数具有线性关系。该传感器响应时间较长,难以满足煤矿安全需求。贾超等[8]以固态高聚物膜为电解质,制备了金属/聚合物复合膜气敏电极,组装成电流型和电位型电化学一氧化碳传感器。研究发现该传感器的稳态输出电位与一氧化碳体积分数的对数呈线性关系,传感器结构如图3所示。电流型一氧化碳传感器响应时间为6 min,而电位型一氧化碳传感器响应时间较长, 为14 min。在给定水蒸气分压下,输出电流与一氧化碳体积分数之间具有线性关系,同时也随水蒸气分压增加而增大。

图3 固体电解质电化学一氧化碳传感器结构

Fig.3 Structure of solid electrolyte electrochemical carbon monoxide sensor

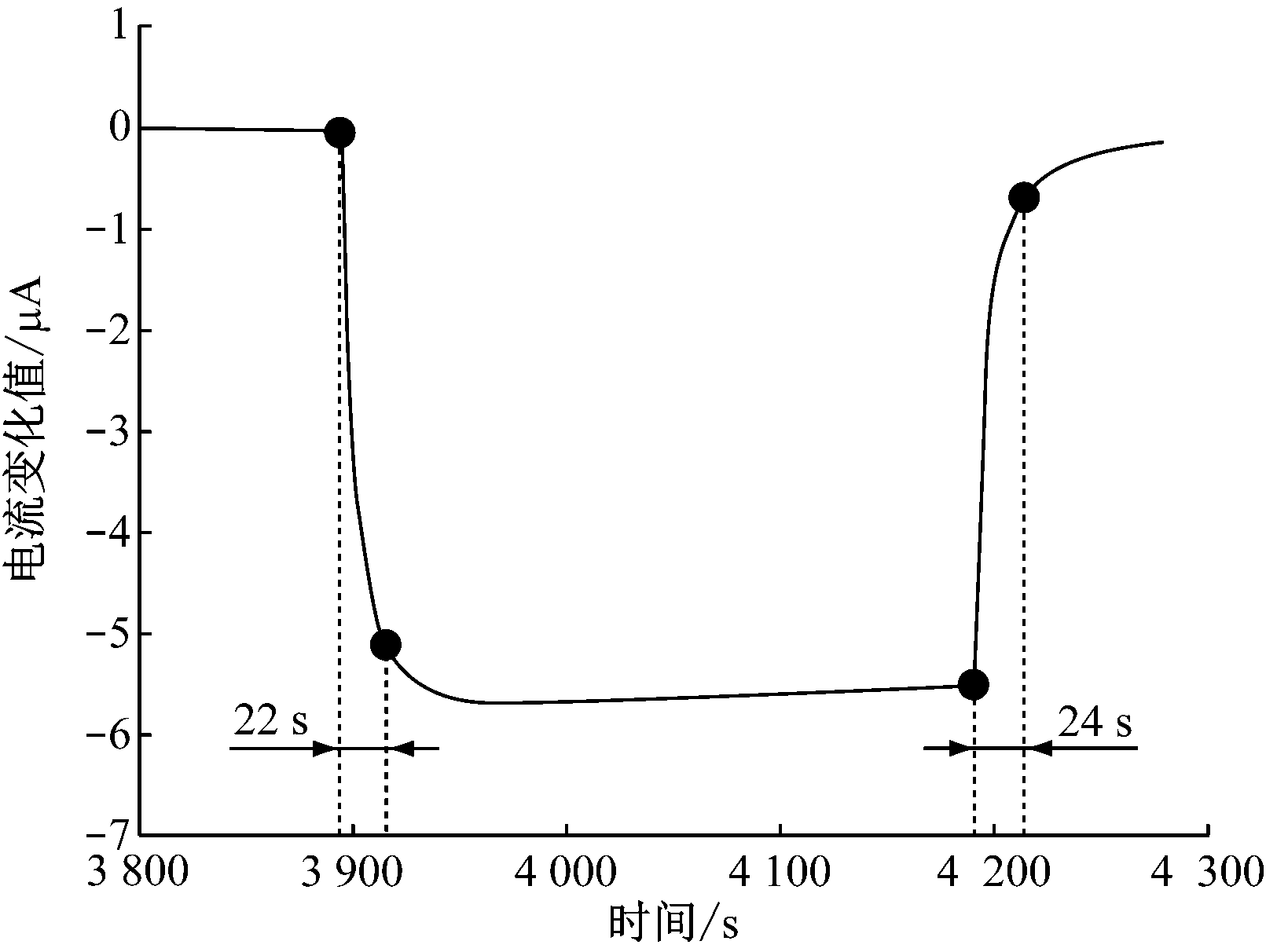
Wu Nianqiang等[9]合成了一种多孔纳米结构的氧化铜—氧化锌复合材料,用于一氧化碳高温检测的固态电化学传感器的传感电极。该传感器对体积分数为2.5×10-5的一氧化碳气体很敏感,响应时间(饱和值的90%)和恢复时间分别为3.2 min和6 min(测试条件为500 ℃空气)。 S. S.Sebtahmadi等[10]用多壁碳纳米管电泳沉积制备电化学一氧化碳传感器对电极,传感器灵敏度为14.64 μA/1×10-2一氧化碳体积分数,响应时间为31.5 s。 Guan Yehui等[11]利用Nafion和铂-碳复合电极制备了一种新型的电流型一氧化碳传感器,利用3种碳材料(碳纤维、多壁碳纳米管和炭黑)作为一氧化碳感测电极和参比电极的载体,使用铂-碳纤维作为感应电极的传感器在室温下对体积分数为1×10-6~2×10-4的一氧化碳显示出较高的灵敏度,灵敏度值为0.077 μA/1×10-6一氧化碳体积分数,响应时间最短。Guan Yehui等[12]分析了各种分散剂(乙二醇、原硅酸四乙酯、甘油和乙二醇/聚四氟乙烯)对Pt/Nafion电极燃料电池型一氧化碳传感器性能的影响,研制了基于膜电极组件(MEA)的燃料电池型气体传感器,该膜电极组件由质子交换膜(Nafion)和Pt/C感应电极组成,用于在室温下检测一氧化碳。使用乙二醇作为分散剂的传感器在体积分数为5×10-5的一氧化碳处产生最大响应电流。传感器电流与1×10-6~2×10-4范围内的一氧化碳体积分数呈线性相关,灵敏度为88 nA/1×10-6一氧化碳体积分数,如图4所示,具有较宽量程。该传感器对体积分数为5×10-5的一氧化碳的响应和恢复时间分别为22 s和24 s,如图5所示,响应时间与商用电化学一氧化碳传感器性能接近,但该传感器使用了水,不是全固态电化学一氧化碳传感器,有漏液风险。

图4 基于乙二醇分散剂的燃料电池型一氧化碳传感器对不同浓度一氧化碳的瞬时响应曲线

Fig.4 Transient response curves of fuel cell type carbon monoxide sensor based on glycol disperse to different concentrations of carbon monoxide

图5 基于乙二醇分散剂的燃料电池型一氧化碳传感器对5×10-5一氧化碳响应恢复放大曲线

Fig.5 Enlarged response and recovery curves of fuel cell type carbon monoxide sensor based on glycol disperse to 5×10-5 carbon monoxide

S.S.Sebtahmadi等[13]研究了电泳沉积参数对一氧化碳电化学气体传感器性能的影响。铂-碳纳米颗粒电泳沉积的最佳解决方案是乙醇或丙酮-异丙醇的混合物。制备的电极由于在电泳期间没有纳米颗粒团聚而具有均匀的结构,气敏性能优异。

综上所述,电化学一氧化碳传感器具有可在室温工作、响应和恢复时间快等优点。但由于电极尺寸难以缩小,电化学一氧化碳传感器难以微型化。微型化的电极一般寿命较短,难以应用。此外,由于使用贵金属铂电极,电化学一氧化碳传感器的成本也难以降低。

3 微加热板型一氧化碳传感器研究进展

微加热板型一氧化碳传感器包括单片集成式和非单片集成式2种。单片集成式微加热板型一氧化碳传感器由于集成了外围电路,功耗更低,但是加工难度大。如果实现大规模生产,单片集成式微加热板型一氧化碳传感器的成本有望大幅度降低。D.Barrettino等[14]采用工业CMOS生产线实现了单片集成传感系统,采用5 V加热电压,传感器工作温度可达350 ℃。D.Barrettino等[15]应用铂电阻取代多晶硅电阻,使传感工作温度可达500 ℃。M.Graf等[16]研制了基于钯修饰的二氧化锡薄膜敏感材料的单片集成微加热板型一氧化碳传感器,对体积分数为5×10-6的一氧化碳的分辨率达到±0.5×10-6。该传感器的微加热板采用了多晶硅环形加热器和铂电极,并集成了温度传感器,如图6所示。传感器芯片的架构如图7所示。图7中,VS为传感层电压,VT为微加热板温度传感器电压,VR为外部参比电压,VC为芯片温度传感器电压。除了铂微加热器外,研究人员也尝试了其他材料的微加热器。R.Rajeswara等[17]采用磁控溅射制备了钼微加热器,104 mW功率下可加热到800 ℃。

图6 微加热板一氧化碳传感元件结构

Fig.6 Structure of micro-heating plate type carbon monoxide sensor

图7 包含微分差异放大器的一氧化碳传感芯片架构

Fig.7 Configuration diagram of carbon monoxide sensor chip contained differential differential amplifier

非单片集成的微加热板型一氧化碳传感器主要材料为一氧化碳敏感材料。如J.Yu等[18]在微加热板上通过磁控溅射制备了200 nm的二氧化锡细条状薄膜,同时修饰了极薄的一层钯膜,该传感器在体积分数为5×10-5~2×10-4区间内对一氧化碳的线性响应较好。M.A.Andio等[19]采用喷墨打印在微加热板上制备二氧化锡纳米结构敏感材料,以避免纳米颗粒团聚。二氧化锡纳米颗粒、微米球、微米颗粒均可以通过喷墨打印转移至微加热板上,三者中微米颗粒的一氧化碳响应值最低,纳米颗粒响应值最高,表面纳米材料可以提高一氧化碳的响应。G.C.Mutinati等[20]使用喷雾热解工艺制备了50 nm二氧化锡薄膜,并进行了钯金、铂金、钯铂这3种双金属纳米颗粒修饰。经比较发现,钯金纳米颗粒修饰可以提高一氧化碳传感器的灵敏度,同时可抑制湿度和二氧化碳的交叉敏感性,增强了环境适应性。 S.Steinhauer等[21]实现了氧化铜纳米线在微加热板上的原位生长,并原位测量了纳米线生长时电阻的变化氧化铜纳米线对体积分数为1×10-6~3×10-5的一氧化碳的响应值从1.06增加到1.28,如图8所示。氧化铜纳米线完全悬空,可以缩短响应和恢复时间,增加信噪比。此外,氧化铜纳米线在气体测量系统内原位生长可以实现气体传感器中毒/失活机理研究。在可控湿度暴露后,氧化铜纳米线对一氧化碳的响应值显著降低,表明氧化铜表面由于羟基化而失活,为揭示气体传感器衰退机制提供了新的研究途径,也可适用于其他金属氧化物纳米材料。E.Lackner等[22]用喷雾热解法将传感材料沉积在CMOS微加热板上,通过硅过孔技术可以使用CMOS集成传感器芯片制造智能3D堆叠式气体传感器设备,可以测量体积分数为0~2×10-4的一氧化碳气体。

图8 氧化铜纳米线对干燥一氧化碳气体的瞬态响应曲线

Fig.8 Transient response curves of CuO nanowires to dry carbon monoxide gas

综上所述,基于氧化物纳米材料的非单片集成式一氧化碳传感器具有灵敏度高、响应和恢复迅速、成本低廉等优点,但其功耗较集成式更高。此外,纳米材料由于具有较大的比表面积,性质活泼,其长期稳定性还需要进一步验证。

4 低功耗一氧化碳传感器发展方向

(1) 电化学一氧化碳传感器目前已经在煤矿井下广泛应用,具有低功耗、稳定性好等优点。液体电化学一氧化碳传感器典型代表为Nafion燃料电池型一氧化碳传感器,响应时间较短,具有分布式无线传感应用前景。其研究重点在于铂-碳复合电极的制备。但Nafion燃料电池型一氧化碳传感器仍然使用了水溶剂,存在漏液风险,且难以微型化。未来的发展趋势是一方面要避免采用液体溶剂,研究全固态电化学一氧化碳传感器,并控制其孔隙率,缩短响应与恢复时间。另一方面要寻找廉价高效的电极材料,降低传感器成本。此外,制造微型化的电化学一氧化碳传感器也是未来重要的工作内容。

(2) 半导体一氧化碳传感器体积比固体电解液电化学一氧化碳传感器更小,且具有成本低廉、灵敏度高、易于片上集成等优点。但易受湿度影响,基线易漂移。未来研究方向是对敏感材料进行修饰改进,优化封装工艺,并采用智能算法对基线进行自校准。可以使用沸石修饰敏感材料减少湿度对传感器的影响,或者在封装工艺上采用聚四氟乙烯之类的憎水膜。智能算法可以采用支持向量机和人工神经网络结合算法或人工智能算法,未来希望可以实现高效率的边缘计算,以提高效率和准确率。

5 结语

低功耗一氧化碳传感器是煤炭安全开采的重要保障和分布式无线传感技术的关键基础。介绍了电化学一氧化碳传感器与微加热板型半导体一氧化碳传感器的工作原理,电化学一氧化碳传感器未来的目标是全固态、廉价化和微型化。微加热板型半导体一氧化碳传感器具有诸多优点,在无线传感技术领域应用前景广阔,其发展方向是敏感材料和封装材料的优化改进,并要融合先进算法实现自校准功能,增强煤矿适用性。

参考文献(References):

[1] 孙继平.《煤矿安全规程》传感器设置修订意见[J].工矿自动化,2014,40(5):1-6.

SUN Jiping.Proposal of revision for transducers setup of Coal Mine Safety Regulation[J].Industry and Mine Automation,2014,40(5):1-6.

[2] ANGELL J B,TERRY S C,BARTH P W.Silicon micromechanical devices [J].Scientific American,1983,248(4):44-55.

[3] VEHBI C,GERHARD P H. Industrial wireless sensor networks:challenges,design principles,and technical approaches [J].IEEE Transactions on Industrial Electronics,2009,56(10):4258-4265.

[4] JIAO M Z,NGUYEN V C,NGUYEN V D,et al.On-chip hydro thermal growth of ZnO nanorods at low temperature for highly selective NO2 gas sensor [J].Materials Letters,2016,169:231-235.

[5] 周贞,简家文,吴翔,等.CO气体对极限电流型氧传感器特性的影响[J].传感器与微系统,2012,31(5):20-22.

ZHOU Zhen,JIAN Jiawen,WU Xiang,et al.Influence of carbon monoxide gas on characteristics of limiting-current type oxygen sensor [J].Transducer and Microsystem Technologies,2012,31(5):20-22.

[6] WANG Kang,ZHAO Tianyu,LIAN Gang,et al.Room temperature CO sensor fabricated from Pt-loaded SnO2 porous nanosolid [J].Sensors and Actuators B:Chemical,2013,184:33-39.

[7] 孙鲲鹏,杨明,白守礼,等.全固态一氧化碳电化学传感器响应研究[J].北京化工大学学报(自然科学版),2002,29(4):59-61.

SUN Kunpeng,YANG Ming,BAI Shouli,et al.Response of an electrochemical carbon monoxide sensor based on a solid polymer electrolyte [J].Journal of Beijing University of Chemical Technology (Natural Science Edition),2002,29(4):59-61.

[8] 贾超,李雅莉,马丽景,等.基于固态高聚物电解质一氧化碳传感器研究[J].北京化工大学学报(自然科学版),2005,32(4):80-83.

JIA Chao,LI Yali,MA Lijing,et al.Carbon monoxide sensor based on solid polymer electrolyte [J].Journal of Beijing University of Chemical Technology (Natural Science Edition),2005,32(4):80-83.

[9] WU Nianqiang,ZHAO Minhua,ZHENG Jianguo,et al.Porous CuO-ZnO nanocomposite for sensing electrode of high-temperature CO solid-state electrochemical sensor [J].Nanotechnology,2005,16(12):2878-2881.

[10] SEBTAHMADI S S,RAISSI B,RIAHIFAR R,et al.Fabrication of counter electrode of electrochemical CO gas sensor by electrophoretic deposition of MWCNT [J].Journal of the Electrochemical Society,2015,162(11):D3101-D3108.

[11] GUAN Yehui,LIU Fangmeng,WANG Bin,et al.Highly sensitive amperometric Nafion-based CO sensor using Pt/C electrodes with different kinds of carbon materials [J].Sensors and Actuators B:Chemical,2017,239:696-703.

[12] GUAN Yehui,DAI Mingjun,LIU Tong,et al.Effect of the dispersants on the performance of fuel cell type CO sensor with Pt-C/Nafion electrodes [J].Sensors and Actuators B:Chemical,2016,230:61-69.

[13] SEBTAHMADI S S,YAGHMAEE M S,RAISSI B,et al.General modeling and experimental observation of size dependence surface activity on the example of Pt nano-particles in electrochemical CO gas sensors [J].Sensors and Actuators B:Chemical,2019,285:310-316.

[14] BARRETTINO D,GRAF M,ZIMMERMANN M,et al.A smart single-chip micro-hotplate-based gas sensor system in CMOS-technology [J].Analog Integrated Circuits and Signal Processing,2004,39:275-287.

[15] BARRETTINO D,GRAF M,WAN Hosong,et al.Hotplate-based monolithic CMOS microsystems for gas detection and material characterization for operating temperatures up to 500 ℃ [J].IEEE Journal of Solid-State Circuits,2004,39(7):1202-1207.

[16] GRAF M,BARRETTINO D,KIRSTEIN K,et al.CMOS microhotplate sensor system for operating temperatures up to 500 ℃ [J].Sensors and Actuators B:Chemical,2006,117(2):346-352.

[17] RAJESWARA R,SINGHA M,SUBRAMANIAM K,et al.Molybdenum microheaters for MEMS-based gas sensor applications:fabrication,electro-thermo-mechanical and response characterization [J].IEEE Sensors Journal,2017,17(1):22-29.

[18] YU J,TANG Z A,YAN G Z,et al.An experimental study on micro-gas sensors with strip shape tin oxide thin films [J].Sensors and Actuators B:Chemical,2009,139(2):346-352.

[19] ANDIO M A,BROWNING P N,MORRIS P A,et al.Comparison of gas sensor performance of SnO2 nano-structures on microhotplate platforms [J].Sensors and Actuators B:Chemical,2012,165(1):13-18.

[20] MUTINATI G C,BRUNET E,KOECK A,et al.Optimization of CMOS integrated nanocrystalline SnO2 gas sensor devices with bimetallic nanoparticles[J].Procedia Engineering,2014,87:787-790.

[21] STEINHAUER S,CHAPELLE A,MENINI P,et al.Local CuO nanowire growth on microhotplates:in situ electrical measurements and gas sensing application [J].ACS Sensors,2016,1(5):503-507.

[22] LACKNER E,KRAINER J,TEUBENBACHER R,et al.Carbon monoxide detection with CMOS integrated thin film SnO2 gas sensor [J].Materials Today:Proceedings,2017,4(7):7128-7131.

Research progress of low-power carbon monoxide sensors

WANG Haibo1,2

(1.Tiandi(Changzhou) Automation Co., Ltd., Changzhou 213015, China;2.CCTEG Changzhou Research Institute, Changzhou 213015, China)

Abstract:Low-power carbon monoxide sensor is an important guarantee for safe coal mining and a key foundation for distributed wireless sensing technology. In this paper, the working principle of low-power carbon monoxide sensor is described, and the latest research progress of electrochemical and semiconductor carbon monoxide sensor is introduced. This paper analyzes their advantages and disadvantages and proposes the development direction and prospects of low-power carbon monoxide sensor. ① The electrochemical carbon monoxide sensor is mainly composed of electrodes and electrolyte. There are two-electrode structure and three-electrode structure. The two-electrode electrochemical carbon monoxide sensor has no reference electrode. It has a simple structure and is easy to be designed and manufactured. The sensor has a low cost and is suitable for the monitoring of low-concentration carbon monoxide. The three-electrode electrochemical carbon monoxide sensor introduces a reference electrode with a larger range and higher accuracy, but the cost is high. The electrochemical carbon monoxide sensor has a short response time and has the prospect of distributed wireless sensing applications. The research focus is on the preparation of platinum-carbon composite electrodes. However, the electrochemical carbon monoxide sensor still uses liquid solvent, which has the risk of liquid leakage. Moreover, it is difficult to realize micro-miniaturization. The future development trend is to avoid the use of liquid solvents, to study all solid-state electrochemical carbon monoxide sensors, and to control the porosity to shorten the response and recovery time. On the other hand, the trend is to find cheap and efficient electrode materials to reduce sensor costs. In addition, manufacturing micro-miniaturized electrochemical carbon monoxide sensor is also an important part of future work. ② The semiconductor carbon monoxide sensor can be divided into non-micro-heating plate type and micro-heating plate type. The non-micro-heating plate type carbon monoxide sensor uses a ceramic tube substrate or an alumina plate substrate. Due to the large heater size, severe heat conduction and high power consumption with usually above 100 mW, it is difficult to be used in distributed wireless sensing occasions. The micro-heating plate type carbon monoxide sensor has low thermal quality, which can greatly reduce the operating power consumption of the heater. It is also compatible with integrated circuit process. A system-on-chip carbon monoxide sensor can be obtained, which reduces the power consumption of peripheral circuits and is suitable for IoT applications. The micro-heating plate type carbon monoxide sensor is smaller than solid electrolyte electrochemical carbon monoxide sensor, and has the advantages of low cost, high sensitivity and easy on-chip integration. However, it is easily affected by humidity and the baseline is easy to drift. The future research direction is to improve the modification of sensitive materials, optimize the packaging process, and use intelligent algorithms to self-calibrate the baseline. It is proposed to use zeolite to modify sensitive materials to reduce the impact of humidity on the sensor, or use a water-repellent membrane such as polytetrafluoroethylene in the packaging process. The intelligent algorithm can use a combination of support vector machines and artificial neural networks or artificial intelligence algorithms. In the future, it is hoped that high-efficiency edge computing can be achieved to improve the efficiency and accuracy.

Key words:distributed wireless sensing; low-power carbon monoxide sensor; electrochemical carbon monoxide sensor; semiconductor carbon monoxide sensor; micro-electro-mechanical system

中图分类号:TD711

文献标志码:A

文章编号1671-251X(2021)07-0072-07

DOI:10.13272/j.issn.1671-251x.17755

扫码移动阅读

收稿日期:2021-04-02;

修回日期:2021-05-26;

责任编辑:张强。

基金项目:天地科技股份有限公司科技创新创业资金专项项目(2019-TD-ZD007)。

作者简介:王海波(1975-),男,河南南阳人,高级工程师,主要研究方向为煤矿自动化,E-mail:whbls@163.com。

引用格式:王海波.低功耗一氧化碳传感器研究进展[J].工矿自动化,2021,47(7):72-78.

WANG Haibo.Research progress of low-power carbon monoxide sensors [J].Industry and Mine Automation,2021,47(7):72-78.