高瓦斯矿井高、底抽巷联合抽采瓦斯技术研究

高宏1,2,3, 杨宏伟2,3

(1.安徽理工大学 安全科学与工程学院,安徽 淮南 232001;2.中煤科工集团沈阳研究院有限公司,辽宁 抚顺 113122;3.煤矿安全技术国家重点实验室,辽宁 抚顺 113122)

摘要针对煤矿松软低透煤层U型通风回采工作面的瓦斯治理存在抽采效率低、抽采浓度低、煤层透气性差、打钻成孔难等问题,以山西晋煤集团赵庄矿1307综采工作面为研究对象,提出了一种高瓦斯矿井高抽巷和底抽巷联合抽采的瓦斯抽采技术,即在原有U型通风的基础上外加一条高抽巷、一条中部底抽巷和一条边部底抽巷,边部底抽巷掩护2个掘进工作面的掘进,中部底抽巷穿层区域条带预抽本煤层瓦斯,高抽巷抽采上隅角瓦斯。确定了边部底抽巷和中部底抽巷的层位、钻孔布置及高抽巷的合理层位布置。实际应用结果表明,边部底抽巷掩护的煤巷掘进工作面最大瓦斯体积分数为0.48%,穿层钻孔抽采有效降低了掘进工作面的瓦斯涌出量;中部底抽巷抽采本煤层瓦斯后,瓦斯含量平均下降了4.18 m3/t;高抽巷抽采负压为12~15 kPa时,抽采纯量在46.13 m3左右,减小了瓦斯向工作面涌出。

关键词煤炭开采;瓦斯抽采;高抽巷;底抽巷;层位布置;钻孔布置

0 引言

松软低透煤层具有煤质松软、产状变化大、透气性差、瓦斯含量较高、煤层预抽难、局部区域具有软煤包等特点,在现场打钻过程中,存在压钻塌孔和成孔后钻孔下管困难等现象,后期抽采过程中抽采量低,抽采效果差。

目前国内煤矿松软低透煤层U型通风回采工作面的瓦斯治理一直是个难题。随着煤层采深的逐步加大,地质条件日趋复杂,研究松软低透气煤层U型通风回采工作面的瓦斯治理问题已经刻不容缓。针对松软低透煤层U型通风回采工作面的瓦斯治理方法,袁亮[1]提出了松软低透煤层U型通风回采工作面分源瓦斯治理技术、利用地面钻井预抽采动影响区域等一套适合淮南矿区瓦斯治理实际的成功技术。胡明等[2]采用“U+尾排”通风结合大直径深孔预抽本煤层瓦斯与底板穿层钻孔抽采瓦斯等综合措施,解决了抽采效率低、抽采浓度低、煤层透气性差等问题。郭春生等[3]利用底板穿层钻孔抽采本煤层卸压瓦斯,并对抽采钻孔的抽采时间进行了优化,解决了阳泉地区松软低透煤层U型通风回采工作面的瓦斯抽采问题。吴有增[4]针对低渗松软单一煤层U型通风回采工作面建立了基于本煤层瓦斯抽采、井下千米长抽采钻孔瓦斯抽采技术和井上水平分支井裂隙带瓦斯抽采技术协同工作的“立体抽采系统”,并完成了对系统抽采效果的考察,效果良好。邓玉华[5]针对近水平高瓦斯松软低透煤层安全高效开采的问题,提出了保护层开采技术,上保护层开采后被保护煤体得到了充分保护,增大了煤岩体的透气性,从而减少了煤层瓦斯含量。

以上松软低透气煤层U型通风回采工作面的瓦斯治理方法虽取得了一些效果,但有些治理手段和方式也有一定的局限性,如地面钻井抽采只能作为提前预抽措施,无法解决回采期间松软煤层的瓦斯问题,大直径钻孔抽采和水力冲孔措施对于松软煤层施工也存在塌孔问题,底板穿层钻孔在一定程度上解决了本煤层瓦斯抽采问题,保护层开采抽采卸压瓦斯受一定地质条件的局限性[6-9],对于抽采技术复杂多变的煤矿适应能力较差,能够达到较好抽采效果的矿区仅仅局限于某一区域。一些强化抽采技术设备昂贵、工艺复杂,不仅增加了吨煤成本,而且影响了正常生产,因此,很多强化抽采技术并没有得到大范围推广。

针对以上问题,以山西晋煤集团赵庄矿1307综采工作面为研究对象,笔者提出了高抽巷和底抽巷联合抽采的瓦斯抽采技术,在松软低透气性煤层大采高U型通风回采工作面开展底抽巷穿层钻孔掩护掘进工作面掘进,中部底抽巷穿层钻孔用来抽采回采期间本煤层卸压瓦斯,通过高抽巷抽采上隅角瓦斯。

1 高、底抽巷联合抽采瓦斯技术

1.1 赵庄矿1307综采工作面概况

山西晋煤集团赵庄矿目前开采3号煤层,采煤方法采用长壁大采高综采。由于3号煤层透气性低,抽采率低,打钻成孔难,造成采掘工作面接替相对紧张。

1307大采高综采工作面位于一盘区,北侧为1308工作面,南侧为1306工作面。1307工作面走向回采长度为2 084 m,倾斜长度为233 m,采用走向长臂式开采,煤层厚度为4.60~6.10 m,平均煤层厚度为5.36 m,采高为4.6 m。工作面共布置5条巷道:13071巷、13072巷(包括13072巷前段和1307边部底抽巷)、13073巷、1307中部底抽巷、高抽巷。当工作面回采向前推进60 m时,密闭1307切眼底抽巷,1307工作面采用U型通风方式。

3号煤层相对瓦斯压力为0.06~0.71 MPa,透气性系数为0.21~0.46 m2/(MPa2·d),百米钻孔瓦斯流量为0.000 5~0.003 9 m3/(min·hm),钻孔瓦斯流量衰减系数为0.14~0.39 d-1,一盘区煤体瓦斯含量按12.73 m3/t计算。1307工作面煤层瓦斯含量最高为12.73 m3/t,瓦斯残存量为2.65 m3/t。

1.2 1307工作面高、底抽巷联合抽采瓦斯技术

赵庄矿目前开采的3号煤层特征为单一松软低透厚煤层,1307工作面为大采高综采工作面,上隅角瓦斯超限问题较难解决,为此提出了基于以上条件的高抽巷、中部底抽巷和边部底抽巷联合抽采的瓦斯抽采技术,即通过高抽巷抽采上隅角瓦斯,中部底抽巷穿层钻孔用来抽采回采期间本煤层卸压瓦斯,边部底抽巷穿层钻孔掩护掘进工作面掘进。

1307工作面高抽巷和底抽巷联合抽采瓦斯治理模式平面布置如图1所示,剖面布置如图2所示。

图1 1307工作面巷道布置平面图

Fig.1 Plan of roadway layout on 1307 working face

图2 1307工作面巷道布置剖面图

Fig.2 Profile of roadway layout on 1307 working face

通过边部底抽巷掩护13071和邻近工作面13074巷的掘进,中部底抽巷穿层区域条带预抽本煤层瓦斯,高抽巷抽采上隅角瓦斯,使得工作面的瓦斯抽采率大幅提高,降低了本煤层的瓦斯含量,从而解决了采掘衔接紧张和上隅角瓦斯超限问题。

2 边部底抽巷层位确定及钻孔布置

2.1 边部底抽巷层位确定

利用穿层钻孔预抽煤巷条带煤层瓦斯,使钻孔穿过巷道顶(底)板,对煤巷条带的瓦斯进行抽采,利用巷道和抽采钻孔促使煤体释放压力,可更好地增强煤体的透气性和坚固性系数,有效减弱地应力、瓦斯压力和瓦斯含量,从而达到掩护巷道掘进的目的。赵庄矿在一盘区的1307工作面利用穿层钻孔的方法预抽煤巷条带煤层瓦斯(将待掘进的煤巷工作面和两帮一定范围内的煤体称为煤巷条带),使钻孔从工作面的底板岩巷穿过,到达2条煤巷的待掘区域,为2条巷道安全、快速掘进起到掩护作用[10-12]

底板瓦斯抽采岩巷穿层钻孔预抽在消除回采巷道掘进和工作面回采引起的瓦斯灾害的同时,避免了巷道掘进和工作面回采对底抽巷造成的破坏。边部底抽巷层位选择主要通过3个因素进行分析:① 保证钻孔施工。首先要在 13071、13074 巷及其轮廓线外 20 m 的范围内布置钻孔,其次在钻进过程中避免穿过含水层以及坚硬岩层。② 保证掘进效率。为了保证掘进效率,需要保证巷道在坚固性系数较小、掘进机组容易切割的岩层中掘进,从而提高掘进效率。③ 保证足够的安全距离。选取赋存比较稳定的岩层,掘进时边部底抽巷顶板或底板沿着岩层,并且确保边部底抽巷到3号煤层之间的距离在安全范围,最终在3号煤层底板下部距离21.5 m处,确定了边部底抽巷(13071巷)的垂直层位。

2.2 边部底抽巷穿层钻孔布置

底板岩巷穿层抽采钻孔按如下布置:施工向上钻孔,钻孔覆盖设计巷道左右两帮轮廓线外各20 m。

按照《煤矿瓦斯抽采达标暂行规定》将钻孔间距基本相同和预抽时间基本一致(预抽时间差异系数小于30%)的区域划分为一个评价单元,1307工作面进风巷钻孔预抽时间比回风巷短很多,初期抽采按照50 m间隔为一个评价单元,划分为10个单元,抽采后期按照150 m间隔为一个评价单元,初步划分为20个评价单元。

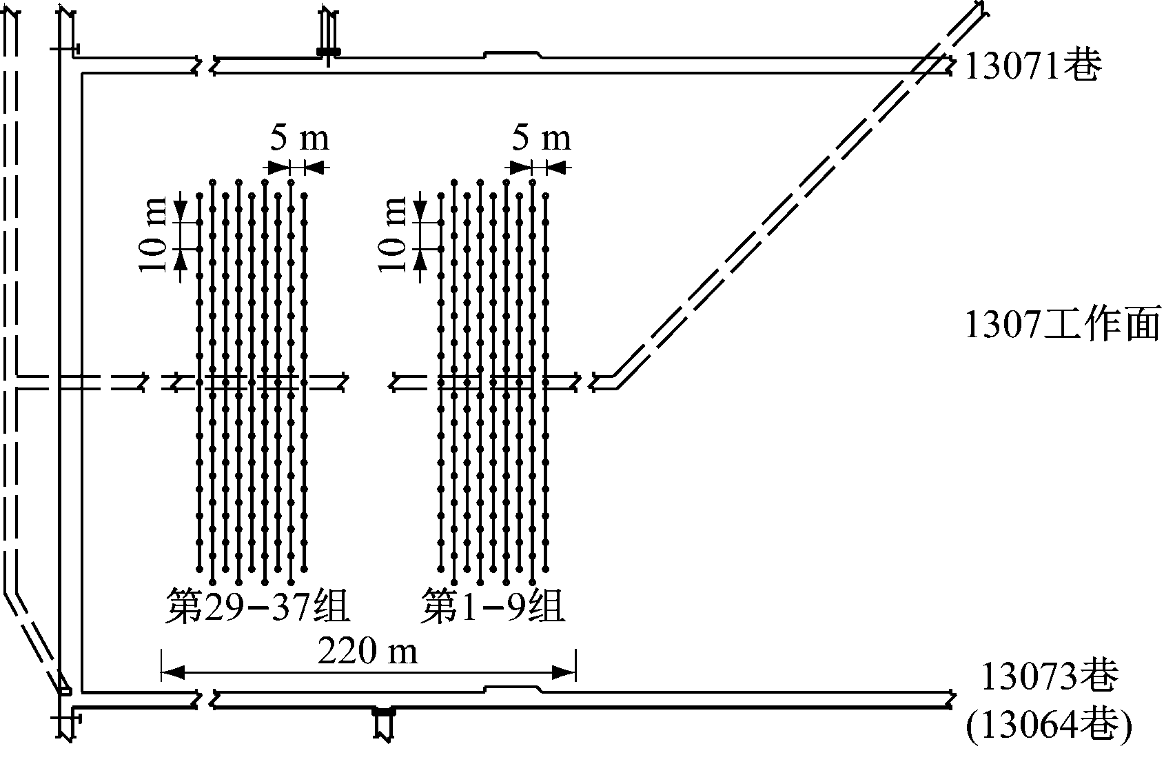
1307底抽巷第1—4单元均为60 m的抽采单元,1单元钻孔按照孔间距5 m×5 m进行布置,每组设计10个钻孔;钻孔间的距离过小容易使钻孔间串通,因此,从第2单元开始对设计进行了调整,2单元每组布置6个钻孔;从第3单元起每组按照5个钻孔进行布置。第6—11单元每单元宽为120 m,第12单元宽为175 m,第13—15单元每单元宽为120 m,第16单元宽为55 m。每单元设计12组钻孔,每组钻孔左、右两帮各为2排,每排10个钻孔,每单元共计120个钻孔。

以第9单元为例,共设计244个钻孔,钻孔进尺为11 882 m,每组间距为5 m,底抽巷穿层钻孔穿透整个煤层且穿透煤层顶板0.5 m,底抽巷钻孔排间距为0.5 m(每组钻孔排间距根据现场情况允许在0.5~1 m调整)。在第8组与第9组、第16组与第17组之间施工2组校检孔(与邻近组间隔2.5 m),并测试其含量,且在施工时先施工校检孔,校检孔见煤后在煤层内施工2 m,封孔时分别下注浆管和返浆管,返浆管距筛管大于2 m,用水泥砂浆封孔。

1307边部底抽巷第9抽采单元穿层钻孔俯视图、剖面图如图3、图4所示。

图3 1307边部底抽巷第9抽采单元穿层钻孔俯视图

Fig.3 Cross-layer borehole top view of the ninth extraction unit on 1307 side bottom extraction lane

图4 1307边部底抽巷第9抽采单元穿层钻孔剖面图

Fig.4 Cross-layer borehole profile of the ninth extraction unit on 1307 side bottom extraction lane

3 中部底抽巷层位确定及钻孔布置

3.1 中部底抽巷层位确定

中部底抽巷长度为1 180 m,位于1307工作面下方正中间,开口处位于1号底抽巷1 500 m处,巷道宽度为4.7 m,巷道高度为3 m,采取锚网联合的形式进行支护。

1307工作面3号煤层底板主要为粉砂岩,厚度为5.2 m,向下依次为K7粗粒砂、K6石灰岩、粉砂岩。岩体坚固性系数从低到高分别为粗粒砂、粉砂岩、石灰岩。由试验可知,分别在K6K7岩层中利用相同钻机、钻具施工相同长度的钻孔时,K6岩层钻进所需的时间是K7岩层的8~10倍,每钻进1 m的平均耗时是2~3 h,钻进困难,若在K6岩层下边布置底抽巷,钻孔会通过K6岩层,钻进效率降低,导致上边3号煤层无法实现高效开采,因此,将K6作为一个标志层位,3号煤层底抽巷应布置在K6上部岩层,避免穿层钻孔穿过K6岩层。

考虑到底抽巷与煤层间距对钻孔施工的影响,随着底抽巷与3号煤层之间的距离减小,钻孔工程量也会减少,同时施工角度选取得越小,煤体长度越大,可更有效提高利用率和抽采效率。因此,选择中部底抽巷距3号煤层底板距离为7 m左右。

3.2 中部底抽巷钻孔布置

由于1307切眼底抽巷覆盖工作面钻孔60 m范围内成孔率比较好,所以,中部底抽巷从距切眼60 m处开始布孔。第1、2单元设计37组(第1、2单元设计长度均为220 m,每单元含钻孔37组)钻孔,第3—6单元设计28组(第3—6单元设计长度均为170 m,每单元含钻孔28组)钻孔,单数组每组设计16个钻孔,双数组每组设计15个钻孔,钻孔分4排、2列布置,组间距为3 m,钻孔终孔间距按照5 m×10 m进行布置,钻孔掩护工作面宽度为150 m,共设计钻孔372组,6个单元,5 766个钻孔,总进尺为232 500 m。中部底抽巷穿层钻孔布置和剖面图如图5、图6所示。

图5 中部底抽巷穿层钻孔布置

Fig.5 Cross-layer borehole layout of central bottom extraction lane

图6 中部底抽巷穿层钻孔剖面图

Fig.6 Cross-layer borehole profile of central bottom extraction lane

3.3 穿层钻孔和顺层钻孔立体抽采

通过分析赵庄矿1307回采工作面巷道布置和采掘接替情况,在中部底抽巷实施穿层钻孔后,穿层钻孔并不能全部掩护1307回采工作面,存在瓦斯抽采空白带,因此,在1307回采工作面中部底抽巷采用了底板岩巷穿层钻孔预抽煤巷条带瓦斯和本煤层顺层钻孔预抽煤巷条带瓦斯,立体抽采1307工作面卸压瓦斯,钻孔布置如图7所示。

图7 1307工作面立体抽采钻孔布置

Fig.7 Borehole layout of stereoscopic gas extraction on 1307 working face

通过中部底抽巷穿层区域条带预抽及本煤层区域条带预抽相结合的立体抽采方式,抽采瓦斯效果显著,消除了煤层瓦斯抽采空白带,工作面的瓦斯含量明显降低,确保了工作面的安全高效回采。

4 高抽巷层位确定

3号煤层顶板岩性属于中硬岩层,按照垮落带与裂隙带中的中硬岩层的判别公式[13],垮落带高度计算公式为

H1=M/(K-1)

(1)

式中:H1为沿煤层法向方向垮落带的高度,m;M为回采层厚度,m,取4.6~6.1 m;K为垮落带岩石碎胀系数,取1.3。

根据式(1),计算得出1307回采工作面垮落带高度为

H1|m=(4.6~6.1)/(1.3-1)=15.3~20.33

裂隙带沿煤层法向的高度的计算公式为

H2=100M/(2M+3)+6

(2)

根据式(2),可计算出1307回采工作面裂隙带沿煤层法向的高度为

H2|m=100×(4.6~6.1)/[2×(4.6~6.1)+3]+6=43.7~46.1。

文献[14]对大量现场实测与经验计算结果进行对比后,提出当煤层采高大于3 m时,实测裂隙带高度为式(1)和式(2)较大计算值的1.3~1.5倍。

通过计算和现场实际验证得出:赵庄矿1307回采工作面垮落带最大高度为27.73 m,裂隙带最大高度为64.9 m,即裂隙带的高度为27.73~64.9 m。结合淮南矿业集团高抽巷治理瓦斯的经验,最终将高抽巷的层位定在距离煤层顶板50 m左右。

5 应用效果及评价

5.1 边部底抽巷穿层钻孔抽采效果评价

按照数据统计,对边部底抽巷穿层钻孔掩护巷道掘进的瓦斯抽采应用效果进行计量和评价,每间隔40 m布置2个效果检验孔,在煤巷的中央设置终孔位置,测定出抽采后的煤体瓦斯含量。

1307回采工作面边部底抽巷各单元抽采区域煤巷掘进工作面瓦斯体积分数如图8所示。

图8 边部底抽巷抽采单元掘进工作面瓦斯体积分数

Fig.8 Gas volume fraction on heading face of extraction unit in side bottom extraction lane

通过统计抽采情况的相关数据可得出,实施穿层钻孔抽采后,单孔最大抽采流量达到0.116 m3/min,百米钻孔抽采量达到0.76 m3/min·hm,平均百米抽采量为0.43 m3/min·hm,比本煤层百米抽采量提高了50倍,有效促进了瓦斯抽采。煤巷掘进工作面最大瓦斯体积分数为0.48%,说明采用穿层钻孔进行瓦斯抽采可以有效降低掘进工作面的瓦斯涌出量。

5.2 中部底抽巷穿层钻孔抽采效果评价

(1)抽采浓度分析。中部底抽巷抽采瓦斯体积分数变化如图9所示。从图9可看出:根据工作面推进进度对揭露的钻孔进行拆除,动态地对抽采系统进行管理,可以确保中部底抽巷抽采瓦斯体积分数为25%左右。底抽巷抽采瓦斯体积分数也受系统调整的影响,平均抽采瓦斯体积分数为24.3%,最低为10.9%,最高为33.4%,抽采效果良好。

图9 1307中部底抽巷抽采瓦斯体积分数变化曲线

Fig.9 Variation curve of gas volume fraction on 1307 central bottom extraction lane

(2)中部底抽巷抽采量及抽采效果评价。1307中部底抽巷抽采量(部分)随抽采时间的统计曲线如图10所示。

图10 1307中部底抽巷抽采量随时间变化曲线

Fig.10 Extraction volume change curve with time on 1307 central bottom extraction lane

1307中部底抽巷每隔120 m设为1个抽采单元,从开始抽采至抽采结束累计抽采量为233.43万m3,平均日抽采量为6 813 m3

1307回采工作面回采前中部底抽巷日抽采量大约为5 000 m3,在回采过程中,抽采体积分数在30%左右,日抽采量在7 500 m3左右,最高日抽采量达9 971 m3。抽采瓦斯纯量为2.84~6.92 m3,平均抽采瓦斯纯量为4.73 m3

由于施工的穿层钻孔贯穿了整个3号煤层,促使径向瓦斯流动通道连通,瓦斯来源充足,抽采效果远远比本煤层顺层钻孔要好。经抽采后瓦斯含量平均下降了4.18 m3/t。参照邻近1306回采工作面回风巷(未施工中部底抽巷),割煤期间回风巷瓦斯体积分数为0.60%~0.65%,经过底抽巷穿层钻孔条带预抽后的瓦斯体积分数为0.28%~0.52%。

5.3 高抽巷抽采效果评价

高抽巷抽采效果受到的影响主要包括垂直层位、负压、抽采能力等,通过研究高抽巷在不同阶段抽采效果来确定合适的层位及负压,以为高抽巷的应用提供帮助。

(1)高抽巷抽采负压。在1307回采工作面开采前期,高抽巷未能和裂隙区贯通,抽采效果一般。当工作面推进至初次来压布距50 m时,抽采负压从31 kPa降低到13 kPa,瓦斯涌出量逐步增大,高抽巷抽采瓦斯体积分数从3%提高到13%。随着工作面继续向前推进,高抽巷与裂隙带贯通,抽采纯量显著提高。

1307工作面抽采混量与负压的关系曲线如图11所示。从图11可看出,在抽采负压不断增大的同时,高抽巷邻近层、采空区的抽采能力也增强,当负压为21 kPa左右时,抽采混量趋于稳定,为300 m3左右,纯量为45 m3。截止到1307工作面回采结束,高抽巷的标况混量基本保持在350 m3,最高达到427.82 m3,抽采负压为12~15 kPa。这说明,在现有的2BEC72水环式真空泵的基础上,抽采负压为12~15 kPa时,抽采泵的抽采效果最佳,基本达到了瓦斯泵的极限抽采能力。

图11 高抽巷抽采混量与负压的关系曲线

Fig.11 Relation curves between mixed extraction volume and negative pressure in high extraction lane

(2)高抽巷抽采层位。高抽巷在抽采期间,随着高抽巷垂直层位的变化、周期来压及地质因素的影响,其抽采纯量和抽采浓度也会出现阶段性下降的情况。

具体层位、纯量和体积分数之间的变化曲线如图12所示。从图12可看出,当工作面推进至247 m(对应的高抽巷层位为41 m),高抽巷抽采瓦斯体积分数为12%,瓦斯抽采量为19 m3左右。当推进至253.4~990.1 m时,高抽巷距煤层垂直距离由41 m增加至45 m左右,瓦斯抽采纯量和体积分数也有一定程度增长,瓦斯纯量从19 m3增长至31 m3,瓦斯体积分数从12%提高至14%。从增长幅度来看,瓦斯纯量和抽采瓦斯体积分数增长幅度均大于高抽巷垂直距离的增长幅度,说明高抽巷最佳层位大于45 m[15]。后期当高抽巷垂直距离为51 m时,与之对应的瓦斯纯量为46.13 m3

图12 高抽巷垂直层位、纯量、体积分数随工作面推进时间的变化曲线

Fig.12 Variation curves of vertical horizon, purity and concentration of high extraction lane with advancing time of working face

高抽巷利用负压抽采可使采空区上隅角附近瓦斯流场重新分布,减小瓦斯向工作面涌出,大部分瓦斯流向高抽巷,对于降低上隅角瓦斯浓度效果显著[16]

6 结论

(1)提出了高抽巷和底抽巷联合抽采的瓦斯抽采技术,即在原有U型通风的基础上外加一条高抽巷、一条中部底抽巷和一条边部底抽巷,边部底抽巷掩护2个掘进工作面的掘进,中部底抽巷穿层区域条带预抽本煤层瓦斯,高抽巷抽采上隅角瓦斯。

(2)通过理论分析并结合现场情况,确定了边部底抽巷、中部底抽巷和高抽巷的层位,并确定了边部底抽巷和中部底抽巷的钻孔布置方式。将1307边部底抽巷层位布置在距3号煤层底板21.5 m处,从而掩护掘进巷道两帮各15 m的范围是可行的。1307中部底抽巷最终层位布置在距底板7 m处,钻孔掩护1307工作面150 m煤体,解决了工作面在回采过程中本煤层的瓦斯问题。1307工作面高抽巷垂直位置距顶板50 m左右。

(3)分别对边部底抽巷、中部底抽巷和高抽巷的抽采效果进行了评价。边部底抽巷掩护的煤巷掘进工作面最大瓦斯体积分数为0.48%,穿层钻孔抽采有效降低了掘进工作面的瓦斯涌出量。中部底抽巷抽采本煤层瓦斯后,瓦斯含量平均下降了4.18 m3/t。高抽巷正常抽采后,抽采负压为12~15 kPa时,瓦斯纯量为46.13 m3左右,减小了瓦斯向工作面涌出。

(4)实践表明,1307工作面采用的高抽巷和底抽巷联合抽采的瓦斯治理模式,降低了上隅角瓦斯浓度,解决了上隅角瓦斯超限问题,1307边部底抽巷掩护了13071和邻近工作面13074巷的掘进,中部底抽巷抽采了回采期间本煤层的卸压瓦斯,保障了1307工作面的安全回采。

参考文献(References):

[1] 袁亮.松软低透煤层分源瓦斯治理及瓦斯综合利用[C]//第四届国际煤层气论坛,北京,2004:6-7.

YUAN Liang.Separate source gas control and comprehensive utilization of soft and low permeability coal seams[C]//Proceedings of the Fourth International coalbed methane Forum,Beijing,2004:6-7.

[2] 胡明,张玉明,雷洪波,等.松软低透煤层群开采保护层工作面瓦斯综合治理技术[J].矿业安全与环保,2014,41(1):64-67.

HU Ming,ZHANG Yuming,LEI Hongbo,et al.Comprehensive gas control technology for mining protective seam face in soft coal seams with low permeability[J].Mining Safety & Environmental Protection,2014,41(1):64-67.

[3] 郭春生,徐超,葛勇,等.阳泉矿区松软低透煤层底板穿层钻孔抽采时间优化[J].西安科技大学学报,2019,39(5):875-881.

GUO Chunsheng,XU Chao,GE Yong,et al.Optimization of drilling extraction time in floor of soft and low permeability coal seam in Yangquan Mining Area[J].Journal of Xi'an University of Science and Technology,2019,39(5):875-881.

[4] 吴有增.低渗松软煤层采动下瓦斯运移规律及立体化抽采技术研究[D].北京:中国矿业大学(北京),2015:65-71.

WU Youzeng.Study on gas migration law and three-dimensional drainage technology under mining in low permeability and soft coal seam[D].Beijing:China University of Mining and Technology(Beijing),2015:65-71.

[5] 邓玉华.近水平上保护层开采覆岩破坏规律数值模拟研究[J].煤炭工程,2017,49(5):87-90.

DENG Yuhua.Numerical simulation study on overburden failure law of protective seam mining near horizontal level[J].Coal Engineering,2017,49(5):87-90.

[6] 张许乐,卢建收.松软低透气性煤层钻孔下筛管高效抽采瓦斯技术实践[J].煤矿安全,2017,48(1):67-69.

ZHANG Xule,LU Jianshou.Efficient gas drainage technology practice of placing screen pipe in borehole of soft and low permeability coal seam[J].Safety in Coal Mines,2017,48(1):67-69.

[7] 张颐纯,邢玉忠.低透气性煤层交叉钻孔预抽瓦斯合理孔距研究[J].中国煤炭,2016,42(8):109-112.

ZHANG Yichun,XING Yuzhong.Research on reasonable hole spacing of pre-drainage cross drilling borehole in low permeability coal seam[J].China Coal,2016,42(8):109-112.

[8] 李胜,毕慧杰,范超军,等.基于流固耦合模型的穿层钻孔瓦斯抽采模拟研究[J].煤炭科学技术,2017,45(5):121-127.

LI Sheng,BI Huijie,FAN Chaojun,et al.Simulation study of gas drainage with borehole passed through strata based on fluid-solid coupling[J].Coal Science and Technology,2017,45(5):121-127.

[9] 程志恒.底抽巷穿层钻孔封孔深度与布孔间距优化研究[J].煤炭科学技术,2017,45(2):76-82.

CHENG Zhiheng.Study on optimization of strata passing borehole sealing depth and borehole layout space in floor gas drainage gateway[J].Coal Science and Technology,2017,45(2):76-82.

[10] 张浩浩,李胜,高宏,等.平煤十矿底板巷穿层钻孔瓦斯抽采模拟研究[J].中国安全生产科学技术,2018,14(9):38-43.

ZHANG Haohao,LI Sheng,GAO Hong,et al.Simulation study on gas extraction by drilling borehole passed through coal seam in floor roadway in Pingdingshan No.10 Mine[J].Journal of Safety Science and Technology,2018,14(9):38-43.

[11] 高宏.赵庄矿高抽巷层位布置及瓦斯抽放效果分析[J].煤炭工程,2018,50(3):8-11.

GAO Hong.Position arrangement of high level gas drainage roadway and investigation on the gas drainage effect in Zhaozhuang Coal Mine[J].Coal Engineering,2018,50(3):8-11.

[12] 陈云.吕梁矿区近距离煤层群下邻近层瓦斯抽采方法研究[J].煤炭工程,2018,50(6):78-84.

CHEN Yun.Gas extraction methods in the lower adjacent layer of close-distance coal seam group in Lvliang Mining Area[J].Coal Engineering,2018,50(6):78-84.

[13] 赵宁,戴广龙,张瑞.底抽巷一巷两用瓦斯治理技术实践[J].煤炭科学技术,2014,42(2):44-47.

ZHAO Ning,DAI Guanglong,ZHANG Rui.Practice on gas control technology of floor drainage gateway with two uses[J].Coal Science and Technology,2014,42(2):44-47.

[14] 吴仁伦.煤层群开采瓦斯卸压抽采“三带”范围的理论研究[D].北京:中国矿业大学(北京),2011:35-39.

WU Renlun.Study on the scope of the "three zones" of gas pressure relief and extraction in coal seam group mining[D].Beijing:China University of Mining and Technology(Beijing),2011:35-39.

[15] 张军,王建鹏.采动覆岩“三带”高度相似模拟及实证研究[J].采矿与安全工程学报,2014,31(2):249-253.

ZHANG Jun,WANG Jianpeng.Similar simulation and practical research on the mining overburden roof strata "three-zones" height[J].Journal of Mining & Safety Engineering,2014,31(2):249-253.

[16] 杨彦宏,丁杨.突出煤层群保护层开采及巷道布置研究[J].中国煤炭,2016,42(3):56-59.

YANG Yanhong,DING Yang.Study on protective seam mining and roadway layout of outburst coal seam group[J].China Coal,2016,42(3):56-59.

Research on combined gas extraction technology of high and bottom extraction lane in high gas mine

GAO Hong1,2,3, YANG Hongwei2,3

(1.School of Safety Science and Engineering, Anhui University of Science and Technology, Huainan 232001, China; 2.CCTEG Shenyang Research Institute, Fushun 113122, China;3.State Key Laboratory of Coal Mine Safety Technology, Fushun 113122, China)

Abstract:In order to solve the problems of low extraction efficiency, low extraction concentration, poor permeability of coal seam and difficulty in drilling holes in the gas management of U-ventilated return working face of loose and low-permeability coal seams, the combined gas extraction technology of high and bottom roadway in high gas mine is proposed.The research object of this paper is 1307 fully mechanized mining face of Zhaozhuang Mine of Shanxi Jin Coal Group.The technology consists of a high extraction lane, a central bottom extraction lane and a side bottom extraction lane on the basis of the original U-shaped ventilation.The side bottom extraction lane covers the drilling of two heading faces, the central bottom extraction lane penetrates the strip of the seam area to pre-pump the gas of the coal seam, and the high extraction lane extracts the gas from the upper corner.This study proposes the position of the side bottom extraction lane and the central bottom extraction lane, and proposes the drilling arrangement and the reasonable layer arrangement of the high extraction lane.The practical application results show that the maximum gas volume fraction of the coal working face covered by the side bottom extraction lane is 0.48%, and the extraction through the layer drilling reduces the gas emission from the heading face effectively.After the central bottom extraction lane extracting the gas from this coal seam, the gas content decreases by 4.18 m3/t on average.As the negative pressure of the high extraction lane is 12-15 kPa, the pure extraction volume is stable at about 46.13 m3, which reduces the gas emission to the working face.

Key words:coal mining; gas extraction; high extraction lane; bottom extraction lane; layer arrangement; drilling arrangement

中图分类号:TD712

文献标志码:A

收稿日期:2020-06-17;修回日期:2020-12-29;责任编辑:张强。

基金项目:国家重点研发计划项目(2017YFC0804207);中国煤炭科工集团有限公司科技创新创业资金专项青年项目(2018-2-QN015)。

作者简介:高宏(1985-),男,河南巩义人,副研究员,主要从事煤矿瓦斯灾害防治方面的研究工作,E-mail:g.h.f.w@163.com。

引用格式:高宏,杨宏伟.高瓦斯矿井高、底抽巷联合抽采瓦斯技术研究[J].工矿自动化,2021,47(1):100-106.

GAO Hong,YANG Hongwei.Research on combined gas extraction technology of high and bottom extraction lane in high gas mine[J].Industry and Mine Automation,2021,47(1):100-106.

文章编号1671-251X(2021)01-0100-07

DOI:10.13272/j.issn.1671-251x.2020060054