煤矿井下带式输送机液压卸煤装置设计

代双成,王慕斗,李正甲,任晓鹏,邢旭东

(北京天地华泰矿业管理股份有限公司, 北京 100013)

摘要以纳林庙煤矿二号井6-2116综采工作面为工程背景,针对回收煤柱工作面充填空巷用煤量大且运煤困难的问题,设计了一种煤矿井下带式输送机液压卸煤装置。该装置由支撑装置、改向装置和液压系统组成,安装在主运巷道与辅回撤通道交叉口位置;利用液压泵站为动力,通过支撑装置和改向装置相互配合将煤炭从带式输送机上卸下,再经转载运输至用煤空巷。通过该卸煤装置,原煤不需要升井后再用无轨胶轮车运输到井下,提高了经济效益和充填效率,降低了安全风险。现场工业性试验结果表明,采煤机割煤速度为0.8 m/min、刮板输送机速度为0.4 m/s、转载机速度等级为低速、带式输送机速度为1.0 m/s、改向油缸和支撑油缸伸出长度为0.7 m时,卸煤装置可实现连续卸煤,满足试验工作面充填用煤需要,保证了回收煤柱工作面的正常推进。

关键词空巷补强支护; 充填体支护; 带式输送机; 卸煤装置; 支撑装置; 改向装置; 液压系统

0 引言

21世纪以来,我国煤炭生产和消费一直占一次能源生产和消费总量的60%以上[1]。随着煤炭资源的长期高强度开采,越来越多矿井服务年限即将到期,为提高矿井煤炭采出率,需进行大巷煤柱回收工作[2]。现阶段回收大巷煤柱主要采用布置综采工作面进行回采的方法,该方法具有煤炭采出率高、效率高、安全性好的优点,但因工作面内部存在空巷,回采前需要进行补强支护处理[3-5]。空巷补强支护方法主要包括木垛支护、锚杆(锚索)支护、充填体支护和组合支护,其中,充填体支护方法采用由原煤、水泥和其他添加剂按一定比例混合而成的充填体支护空巷,充填体具有较好的承载能力和让压特性,可有效支护空巷,保证空巷顶板稳定性和工作面正常推进,因而工程应用较为广泛[6-8]

充填体中原煤对煤质的影响较小,因此,可在保证充填体强度的基础上适当提高原煤占比来提高煤质[9-10]。因煤柱回收工作面空巷较多,所以原煤需求量较大,而矿井煤流运输系统在设计时一般未考虑井下用煤问题,受作业空间限制,井下煤流转载、卸载点不具备分流卸煤功能,且受井下巷道空间狭小、设备布置紧凑等因素限制,无法通过改造转载、卸载点达到取煤条件[11-13]。因此,充填空巷所用原煤大多来自于地面,即将井下采出的煤炭运输到地面后重新运送至井下,该方式作业效率、经济效益低下。此外,对于采用斜井开拓的矿井,在从地面向井下运输原煤的过程中,矿用无轨胶轮车重载在斜井下坡行驶,与其他运输人员、物料的车辆交叉运行,有可能发生运输安全事故。经查阅文献和对部分矿区实地调研,尚未发现有关井下煤流系统中卸煤的研究和工程实践[14-17]

针对回收煤柱工作面充填空巷用煤量大且运煤困难的问题,设计了一种煤矿井下带式输送机液压卸煤装置。该装置可将原煤从带式输送机上卸下,在井下直接运送至用煤空巷,省去了原煤经带式输送机运输到地面后再用无轨胶轮车运输到井下的步骤,提高了经济效益和充填效率,降低了安全风险,保证了综采工作面(回收煤柱工作面)过空巷时的安全高效回采。

1 工程背景

内蒙古伊泰集团有限公司纳林庙煤矿二号井位于东胜煤田,矿井服务年限即将到期,现回采的6-2116工作面是回收煤柱工作面,采用一次采全高综合机械化采煤工艺,原煤采用带式输送机运输。工作面内有3条大巷和21条联巷,如图1所示。空巷采用充填体支护方式,需要充填体约216 000 m3,需要原煤约22.5万t。若采用ZL490DFB无轨胶轮车从地面向井下运输原煤,以每车2 t计,需运输112 500车次,工程量巨大。在回收大巷煤柱前,工作面中部空巷作为矿井的主要大巷,仍承担矿井运输、回风等任务,无法提前进行充填。因此,迫切需要研究一种可从井下煤流系统中直接卸载原煤的装置,以保证充填煤量和回收煤柱工作面正常生产,减少工程量,提高工作效率和经济效益。

图1 工作面巷道
Fig.1 Roadways on working face

2 带式输送机液压卸煤装置设计方案

2.1 总体设计

纳林庙煤矿二号井现处于服务年限末期,井下煤流运输系统较短,6-2116工作面作为回收煤柱工作面,其主运巷道带式输送机直接搭接主斜井带式输送机,井下转载点仅有一处(主斜井井底)。综合考虑,井下空间较大且具备安装液压卸煤装置条件的地点有2处:主运巷道与主、辅回撤通道交叉口位置。因主回撤通道与主运巷道交叉口需留有足够空间以回收管路和胶带件,故将液压卸煤装置安装于综采工作面主运巷道与辅回撤通道交叉口位置(图1中红色十字位置)。

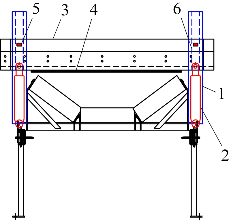
液压卸煤装置由支撑装置、改向装置和液压系统等组成,如图2所示。支撑装置和改向装置均安装在胶带架上,工作面采出的煤炭经主运巷道带式输送机运输到该位置时,支撑装置和改向装置相互配合,通过“上压下顶”的方式将上胶带由“U”字形变为“一”字形,进而从辅回撤通道侧卸载原煤。卸载的原煤经转运胶带(长20 m,宽0.8 m,带速2.5 m/s)转载,由矿用无轨胶轮车运输到充填用煤地点。

1-支撑装置;2-改向装置;3-液压系统;4-转运胶带。
图2 带式输送机液压卸煤装置组成
Fig.2 Composition of hydraulic coal unloading device of belt conveyor

2.2 支撑装置设计

支撑装置共2组,每组由2个液压油缸(即支撑油缸)、1个支撑托辊和2个支撑架组成,如图3所示。支撑架采用工字钢制作,主要为液压油缸提供支点,其一端固定在巷道底板上,另一端焊接在胶带架边梁上。液压油缸可伸缩长度为1 000 m,一端固定在支撑架上,另一端与支撑托辊相连,用于支撑支撑托辊。支撑托辊长度为1 600 mm,用于起落上胶带。上胶带的每组支撑架在上托辊架两侧分别支撑1个1 600 mm支撑托辊,使长托辊与煤流方向垂直(与上托辊架平行),支撑架间距为1 800 mm。通过支撑油缸可调节支撑托辊的高度,当需要放卸煤时,支撑托辊将上胶带抬起,使其脱离上托辊,并使上胶带呈水平状态。

(a) 卸煤状态

(b) 生产状态

1-支撑托辊;2-液压油缸;3-支撑架;4-上胶带。
图3 支撑装置
Fig.3 Support device

2.3 改向装置设计

改向装置由2个液压油缸(即改向油缸)、改向板和2个带滑道的支撑架组成,如图4所示。2个液压油缸呈对角布置在与2组支撑装置相邻的上托辊架两侧,一端安装在上托辊架上,另一端与改向板下部铰接。改向板与胶带方向夹角为45°,通过改向油缸可控制改向板上下动作。改向板高度为300 mm,长度为2 000 mm,两端呈圆弧状,由钢板和减磨胶带(高度为200 mm,长度为2 000 mm)组合而成。

(a) 卸煤状态

(b) 生产状态

1-带滑道支撑架;2-液压油缸;3-钢板;4-减磨胶带;5-滑块;6-滑道。
图4 改向装置
Fig.4 Redirection device

为避免钢板与带式输送机直接接触磨损胶带,将减磨胶带固定在钢板下部且露出钢板外5 mm,起到保护带式输送机胶带的作用。在改向板沿煤流方向的前方边梁上安装2个带滑道的支撑架,并在改向板与改向油缸的铰接点上方布置1个滑块。当液压油缸控制改向板上下动作时,滑块在滑道内上下滑动,限制改向板在煤流方向的位移,保证改向板在竖直方向始终与带式输送机胶带垂直。在正常生产时,改向油缸将改向板托起,不影响煤流在上胶带上运输;当需要卸煤时,通过改向油缸将改向板沿支撑架放下,起到改变煤流方向的作用。

2.4 液压系统设计

卸煤装置液压系统与液压支架液压系统类似,由液压泵站、进回液高压胶管、手动换向阀、液压双向锁、液压油缸等组成。卸煤装置采用ZY13000/63/28型液压支架二级护帮油缸,该油缸缸径为80 mm,工作压力为31.5 MPa,工作推力可达181 kN,而主运巷道与辅回撤通道相交位置处卷带机液压泵站可提供压力为38 MPa,大于油缸工作压力。因此,利用该液压泵站作为卸煤装置的动力源,可满足需要。液压泵站至手动换向阀处主进回液高压胶管采用耐压为45 MPa的 DN20高压胶管,手动换向阀至液压油缸用耐压为45 MPa的DN10高压胶管连接。以1组液压油缸为例,液压原理如图5所示。手动换向阀用来控制各液压油缸伸缩,液压双向锁用于保证成组液压油缸同步动作。卸煤时,打开液压泵站,操作各油缸对应的手动换向阀即可控制油缸动作,进而控制各个装置动作。

图5 液压原理
Fig.5 Hydraulic principle

3 带式输送机液压卸煤装置工作原理

带式输送机液压卸煤装置工作状态包括卸煤状态和生产状态。需要卸煤时,首先开启液压泵,调节支撑装置的支撑油缸,利用长托辊将带式输送机上胶带托起,使其呈水平状态;调节改向装置的改向油缸,将改向板下落,使其与水平状态的上胶带接触。煤流到达液压卸煤装置后,被与胶带呈45°角的改向板阻挡而改变方向,从辅回撤通道方向卸载,此时液压卸煤装置呈卸煤状态,如图6(a)所示。卸载掉落的煤炭通过漏斗状装置收集,经转运胶带转载,由矿用无轨胶轮车运输到充填用煤地点。卸煤结束后,将支撑装置的液压油缸活塞杆收回,上胶带落到上托辊上;改向装置的改向油缸活塞杆伸出,将改向板撑起,使其距上胶带500 mm,防止阻挡煤流。此时液压卸煤装置呈生产状态,如图6(b)所示。

(a) 卸煤状态

(b) 生产状态

1-支撑油缸;2-改向油缸;3-支撑架;4-带滑道支撑架;5-上托辊架;6-下托辊架;7-胶带;8-边梁;9-滑道;10-滑块;11-改向板;12-支撑托辊。
图6 带式输送机液压卸煤装置工作状态
Fig.6 Working status of hydraulic coal unloading device of belt conveyor

4 现场试验

在纳林庙煤矿二号井6-2116综采工作面主运巷道进行带式输送机液压卸煤装置工业试验。该工作面劳动组织采用“三八制”,两班生产、一班检修。带式输送机液压卸煤装置实物如图7所示。

图7 带式输送机液压卸煤装置实物
Fig.7 Hydraulic coal unloading device of belt conveyor

根据卸煤效果不断调整采煤机牵引速度和刮板输送机、转载机、带式输送机的运行速度,以及支撑油缸、改向油缸的伸出长度。在改向板与煤流方向呈45°角的前提下,采煤机割煤速度为0.8 m/min、刮板输送机速度为0.4 m/s、转载机速度等级为低速、带式输送机速度为1.0 m/s、改向油缸和支撑油缸伸出长度为0.7 m时,卸煤装置可实现连续卸煤、不堆煤、漏煤。试验数据见表1。

表1 带式输送机液压卸煤装置试验数据
Table 1 Test data of hydraulic coal unloading device of belt conveyor

试验采煤机速度/(m·min-1)刮板输送机速度/(m·s-1)转载机速度等级带式输送机速度/(m·s-1)支撑油缸伸出长度/m改向油缸伸出长度/m卸煤效果试验12.00.8高速2.00.60.6堆煤、漏煤试验22.00.8高速2.00.70.6堆煤、漏煤试验32.00.8高速2.00.70.7堆煤试验41.00.6低速1.50.70.7堆煤试验50.80.6低速1.50.70.7堆煤试验60.60.6低速1.00.70.7正常卸煤试验70.60.6低速0.80.70.7正常卸煤试验80.80.4低速0.80.70.7堆煤试验90.80.4低速1.00.70.7正常卸煤

在不影响生产班生产的情况下,利用每日检修班2 h检修时间卸煤,每日可放煤约140 t。自安装卸煤装置后,工作面已推进1 800 m,回采了17条联巷,日推进达11 m,未出现因充填速度过慢而停产现象,解决了纳林庙煤矿二号井充填用煤问题。

5 结论

(1) 设计了一种带式输送机液压卸煤装置,该装置通过支撑装置和改向装置相互配合,将原煤从带式输送机上卸下,在井下直接运送至用煤空巷,省去了原煤经带式输送机运输到地面后再用无轨胶轮车运输到井下的步骤,提高了经济效益。

(2) 在纳林庙煤矿二号井6-2116工作面进行工业性试验,结果表明,采煤机割煤速度为0.8 m/min、刮板输送机速度为0.4 m/s、转载机速度等级为低速、带式输送机速度为1.0 m/s、改向油缸和支撑油缸伸出长度为0.7 m时,卸煤装置可实现连续卸煤,满足工作面充填用煤需要,保证了回收煤柱工作面正常推进。

参考文献(References):

[1] 康红普,徐刚,王彪谋,等.我国煤炭开采与岩层控制技术发展40 a及展望[J].采矿与岩层控制工程学报,2019,1(1):7-39.

KANG Hongpu,XU Gang,WANG Biaomou,et al.Forty years development and prospects of underground coal mining and strata control technologies in China[J].Journal of Mining and Strata Control Engineering,2019,1(1):7-39.

[2] 崔满堂.资源枯竭型矿井残留煤柱群安全高效回收技术研究[D].徐州:中国矿业大学,2017.

CUI Mantang.Study on safety and efficientence recovery technology of residual pillars in resources exhaustion mine[D].Xuzhou:China University of Mining and Technology,2017.

[3] 杨勇.采区大巷煤柱回收中空巷处理方案探究[J].煤,2018,27(9):73-74.

YANG Yong.Treatment scheme of hollow roadway with coal pillar in main roadway of mining area[J].Coal,2018,27(9):73-74.

[4] 张洪玉.五阳煤矿78采区煤柱回收(78M)工作面回采过空巷区域施工方法[J].资源信息与工程,2019,34(2):91-92.

ZHANG Hongyu. Construction method of coal pillar recovery (78M) working face passing empty roadway area in 78 mining area of Wuyang Coal Mine[J].Resource Information and Engineering,2019,34(2):91-92.

[5] 邸帅.8.5 m超大采高综采面回采巷道合理煤柱宽度分析[J].地下空间与工程学报,2019,15(2):614-621.

DI Shuai. Analysis on the reasonable protection coal pillar width in 8.5 m large mining height workface recovery roadway[J].Chinese Journal of Underground Space and Engineering,2019,15(2):614-621.

[6] 徐青云,宁掌玄,朱润生,等.综放工作面充填过空巷顶板失稳机理及控顶研究[J].采矿与安全工程学报,2019,36(3):505-512.

XU Qingyun,NING Zhangxuan,ZHU Runsheng,et al.Study on instability mechanism and top control of overfilled roof in fully mechanized caving face[J].Journal of Mining & Safety Engineering,2019,36(3):505-512.

[7] 李鑫,苏海,李宗涛,等.煤柱回收工作面过空巷技术[J].煤炭科学技术,2012,40(11):45-49.

LI Xin,SU Hai,LI Zongtao,et al.Technology of coal pillar mining face passing through used gateway[J].Coal Science and Technology,2012,40(11):45-49.

[8] 何向宁,陈勇,秦征远.综放工作面过空巷技术研究及应用[J].煤炭科学技术,2017,45(6):124-130.

HE Xiangning,CHEN Yong,QIN Zhengyuan.Application and study on technology of fully-mechanized top coal caving mining face passing through mine abandoned roadway[J].Coal Science and Technology,2017,45(6):124-130.

[9] 刘浪,辛杰,张波,等.矿山功能性充填基础理论与应用探索[J].煤炭学报,2018,43(7):1811-1820.

LIU Lang,XIN Jie,ZHANG Bo,et al.Basic theories and applied exploration of functional backfill in mines[J].Journal of China Coal Society,2018,43(7):1811-1820.

[10] 郝玉辉,康官先.综放工作面过空巷泵送支柱技术[J].工矿自动化,2019,45(6):101-104.

HAO Yuhui,KANG Guanxian.Pumping pillar technology of fully mechanized caving face passing through abandoned roadway[J].Industry and Mine Automation,2019,45(6):101-104.

[11] 吕鹏飞,郭军.我国煤矿数字化矿山发展现状及关键技术探讨[J].工矿自动化,2009,35(9):16-20.

LYU Pengfei,GUO Jun.Discussion on development situation and key technologies of digital mine in China[J].Industry and Mine Automation,2009,35(9):16-20.

[12] 王金华.井下带式输送机煤流控制系统现状及发展趋势[J].工矿自动化,2015,41(3):32-34.

WANG Jinhua.Current situation and development trend of coal flow control system of belt conveyor[J].Industry and Mine Automation,2015,41(3):32-34.

[13] 王金华.中国煤矿现代化开采技术装备现状及其展望[J].煤炭科学技术,2011,39(1):1-5.

WANG Jinhua.Present status and prospects of modernized mining technology and equipment in China coal mine[J].Coal Science and Technology,2011,39(1):1-5.

[14] 张少宾,蒋卫良,芮丰.矿用带式输送机输送量测量方法现状及发展趋势[J].工矿自动化,2019,45(5):100-103.

ZHANG Shaobin,JIANG Weiliang,RUI Feng.Current status and development trend of measuring methods of conveying capacity of mine-used belt conveyor[J].Industry and Mine Automation,2019,45(5):100-103.

[15] 中国电建集团华东勘测设计研究院有限公司.一种带式输送机多点分布卸料装置及带式输送机卸料方式的改进方法:201910692413.3[P].2019-11-05.

Power China Huadong Engineering Corporation Limited. An improved unloading method and multi-point distribution unloading device of belt conveyor:201910692413.3[P]. 2019-11-05.

[16] 南京梅山冶金发展有限公司,上海梅山钢铁股份有限公司.一种带式输送机卸料漏斗:201520669411.X[P].2016-03-02.

Nanjing Meishan Metallurgical Development Co., Ltd., Shanghai Meishan Iron & Steel Co., Ltd. An unloading funnel of belt conveyor:201520669411.X[P].2016-03-02.

[17] 石家庄钢铁有限责任公司.一种带式输送机卸料漏斗堵料自动清理装置:201821873828.8[P].2019-08-13.

Shijiazhuang Iron & Steel Co., Ltd. An automatic cleaning device for blocking material of unloading funnel of belt conveyor:201821873828.8[P]. 2019-08-13.

Design of hydraulic coal unloading device of belt conveyor in underground coal mine

DAI Shuangcheng, WANG Mudou, LI Zhengjia, REN Xiaopeng, XING Xudong

(Beijing Tiandi Huatai Mining Management Co., Ltd., Beijing 100013, China)

Abstract:Taking the 6-2116 fully mechanized coal mining face of No.2 shaft of Nalinmiao Coal Mine as the engineering background, in view of problems of large coal consumption and difficult coal transport in abandoned roadway backfilling on coal pillar recovery working faces, a hydraulic coal unloading device of belt conveyor in underground coal mine was designed. The device is composed of support device, redirection device and hydraulic system. It is installed at intersection of main transportation roadway and auxiliary retracement channel. Using hydraulic pump station as power, the coal is unloaded from the belt conveyor by the support device and the redirection device cooperatively,and then the coal is transported to the abandoned roadway. Through the coal unloading device, the raw coal does not need to be lifted into ground and then transported to underground by trackless rubber truck, which improves economic benefit and filling efficiency, and reduces safety risk. Field industrial test results show that when the shearing speed of shearer is 0.8 m/min, the speed of scraper conveyor is 0.4 m/s, the speed level of transfer machine is low, the speed of belt conveyor is 1.0 m/s, and the extension length of support cylinder and redirecting cylinder is 0.7 m, the coal unloading device can realize continuous coal unloading, which meets needs of coal backfilling for the test working face and ensures normal advancement of the coal pillar recovery working face.

Key words:reinforcement support for abandoned roadway; backfilling support; belt conveyor; coal unloading device; support device; redirection device; hydraulic system

中图分类号:TD634.1

文献标志码:A

文章编号1671-251X(2020)06-0006-06

DOI:10.13272/j.issn.1671-251x.2019120038

收稿日期:2019-12-14;修回日期:2020-05-25;责任编辑:胡娴。

基金项目:北京天地华泰矿业管理股份有限公司自主科技创新项目(TDHTKY2020002)。

作者简介:代双成(1993-),男,安徽宿州人,助理工程师,研究方向为矿山压力监测与岩层控制,E-mail:dscbryant@163.com。

引用格式:代双成,王慕斗,李正甲,等.煤矿井下带式输送机液压卸煤装置设计[J].工矿自动化,2020,46(6):6-11.

DAI Shuangcheng,WANG Mudou,LI Zhengjia,et al.Design of hydraulic coal unloading device of belt conveyor in underground coal mine[J].Industry and Mine Automation,2020,46(6):6-11.