考虑多场景运行方式的矿山电网继电保护在线整定系统

于群,刘佳钰

(山东科技大学 电气与自动化工程学院, 山东 青岛 266590)

摘要现有的矿山电网继电保护整定研究虽然考虑了不同运行方式下矿山电网继电保护的整定方法,但均未考虑与矿山供电调度自动化系统结合进行整定,不能随矿山电网的运行方式变化实时进行定值校核并对其中性能不满足要求的保护给出符合要求的新定值。针对上述问题,通过定义保护位置所在出线的母线电源侧某一类断路器状态的组合为矿山供电系统的场景,设计了一种考虑多场景运行方式的矿山电网继电保护在线整定系统。该系统利用场景对应的开关状态矩阵计算得到矿山供电系统场景区域矩阵和场景网络支路阻抗矩阵,基于场景区域矩阵和场景网络支路阻抗矩阵计算出此类场景下的场景最大和最小系统阻抗。当系统监测到断路器开关状态变化时,即场景发生变化时,自动读取断路器实时开关状态,通过场景开关信息矩阵找出存在状态改变的开关的场景类,并按照场景类中开关的数量顺序选择一个场景类,对场景类对应的一组保护进行定值校核。根据定值校核计算结果,判断保护性能是否满足要求,若不满足要求,则对不满足要求的保护进行在线整定计算;若满足要求,则该场景类校核结束,重新选择下一场景类,直至全部场景类都计算完毕。实例应用结果表明,通过与矿山供电调度自动化系统通信,考虑多场景运行方式的矿山电网继电保护在线整定系统计算出的整定值保护范围能够适应各种运行方式中继电保护装置的要求,避免了运行方式改变后定值不符合要求造成的继电保护装置的拒动和误动。

关键词矿山电网; 继电保护; 供电调度自动化系统; 断路器; 定值校核; 在线整定; 开关信息矩阵; 场景拓扑; 多场景运行方式

0 引言

随着煤矿生产规模的不断扩大,矿山电网变得越来越庞大和复杂。目前矿山供电调度自动化系统在煤矿中普遍应用,用于监控矿山供电系统中的主要设备(变压器、电动机)的运行参数、断路器的开关状态及各线路的负荷大小,从而使调度运行人员能及时指挥安排生产,减少事故发生[1-2]。经现场调研,当前运行的大多数矿山供电调度自动化系统中继电保护定值计算及校核功能相对较弱,一般是由技术人员在线下计算出保护定值,然后通过矿山供电调度自动化系统输入到相应的继电保护装置中[3-5]。但在实际运行中,电网中的运行方式经常改变,继电保护的定值无法得到及时更新,容易发生保护装置的误动或拒动。

为了满足不同运行状态下继电保护装置的性能,文献[6]分析了煤矿电网过流保护传统整定计算方法的不足,给出了一种改进的过流整定计算方法。文献[7]分析了离线模式和在线模式的定值性能,指出了研究各类在线整定计算系统的重要意义。文献[8]提出了煤矿广域保护的概念,阐述了煤矿广域保护系统的初步设想。文献[9]设计了基于GOOSE通信的闭锁模块,利用GOOSE通信机制的实时性和可靠性,快速准确地确定故障点位置。文献[10]提出了基于站控层GOOSE逐级闭锁的煤矿防越级速断保护原理,能够防止矿井越级跳闸故障的发生。文献[11]提出了基于独立分站的自适应保护系统方案,提高了过流保护装置的灵敏性、可靠性。文献[12]提出了一种基于自适应控制技术的定值整定方案,通过对线路的电压、电流进行实时分析,改变继电保护装置的整定值来提高过流保护装置的性能。文献[13]提出了一种基于网络等值的自适应电流速断保护整定方法,该整定方法能够反映系统运行方式的改变,有效地提高了保护整定的可靠性。文献[14]提出了考虑系统运行方式的继电保护在线智能校核,根据运行方式对保护定值进行修订,使校核更为合理。文献[15]提出了基于方式变化影响域和故障量排序的继电保护定值快速在线预警方法,该方法以保护所在位置的故障变化率为判据,确定电网元件开断后定值受到显著影响的保护集合,实现了继电保护定值的快速在线预警。

从以上文献可以看出,当前的研究虽然考虑了不同运行方式下矿山电网继电保护的整定方法,但均没有考虑与矿山供电调度自动化系统结合进行整定,不能随矿山电网的运行方式变化实时进行定值校核并对其中性能不满足要求的保护给出符合要求的新定值。鉴此,本文利用矿山供电调度自动化系统获取的信息,设计了一种考虑多场景运行方式的矿山电网继电保护在线整定系统。构建了矿山供电系统的场景,当发现系统运行方式改变时,系统自动切换到矿山电网的对应场景,对保护进行定值校核。若校核结果不满足要求,则重新对相关保护进行整定,从而保障保护装置动作的可靠性。

1 矿山供电系统的场景构建

1.1 矿山供电系统

矿山供电系统主要由地面中央变电所、井下中央变电所和采区变电所组成,典型的矿山供电系统如图1所示[16-19]。矿山地面中央变电所主接线采用全桥接线,其中电源A和电源B取自上一级地区变电所,经过主变压器变电后输送给地面中央变电所。地面中央变电所采用单母线分段接线,通过两回路下井线路与井下中央变电所相连。

图1 典型的矿山供电系统
Fig.1 Typical mine power supply system

由图1可知,在传统的继电保护整定方法中,断路器9QF位于地面中央变电站的下井回路处,一般需要配置瞬时电流速断保护、限时电流速断保护、定时限过电流保护,即三段式电流保护。

以瞬时电流速断保护为例,其保护装置的动作电流(按躲过线路末端故障整定)计算公式为

(1)

(2)

式中:为瞬时电流速断保护的动作电流,即瞬时电流速断保护整定值;为瞬时电流速断保护的可靠系数,一般取为最大运行方式下,被保护线路末端发生三相短路时流经保护装置的短路电流;Uφ为系统等效电源的相电势;ZΣ为短路点至系统等效电源之间的阻抗;Zs为保护安装处至系统等效电源之间的阻抗,即系统阻抗;Zk为短路点至保护安装处之间的阻抗。

电流速断保护对线路故障的反应能力(即灵敏性)常用保护范围的大小来衡量,瞬时电流速断保护最小保护范围的计算公式为

(3)

式中:α为瞬时电流速断保护的最小保护范围;ZL为被保护线路单位长度的阻抗;Xs.min为系统最小运行方式下所对应的系统最大电抗值。

由式(1)—式(3)可得,在进行电流三段式保护时,首先需要确定9QF处矿山供电系统的最大运行方式和最小运行方式。这就需要比较电源A、电源B,线路I、线路II的阻抗大小及断路器1QF—8QF的投入情况,找出最大和最小阻抗的2个极限值,再进行整定计算。但在现场运行中,往往会根据生产需要改变1QF—8QF的投入状态,这就会使计算出的定值难以满足继电保护装置灵敏度和选择性的要求。

为了解决这一问题,本文将保护位置所在出线的母线电源侧某一类断路器状态的组合定义为矿山供电系统的场景,并预先计算出场景中系统的最大和最小阻抗。当电源侧的开关发生变化时,即其场景发生变化,由整定系统自动切换为对应场景,对此场景下的保护进行定值校核。

1.2 矿山供电系统场景构建

以图1中的9QF为例说明场景的构建。

矿山供电网作为配电网,可将母线看作是节点,将线路以及变压器看作是支路,其拓扑结构可看作是一个有向图[20-21]。由此,可以定义矿山供电系统场景节点-支路关联矩阵A,假设有向连通图有N+1个节点和b条支路,对每条支路规定了正方向后,则其节点-支路关联矩阵A的阶次为b(N+1),A中的元素aij定义如下:

(4)

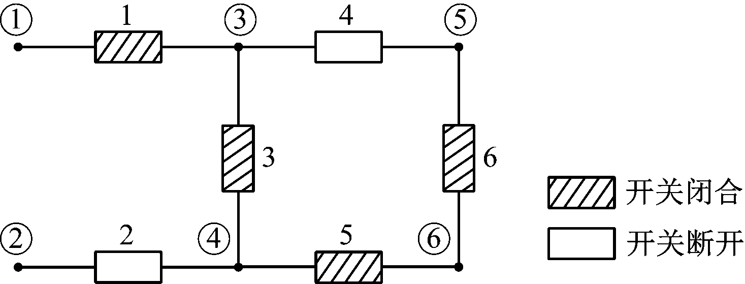
由于场景为保护位置所在出线的母线电源侧某一类断路器状态的组合,经过拓扑分析,由图1所示的典型矿山供电系统可得到9QF对应场景的网络拓扑,如图2所示。图2中节点①为电源A所在的母线;节点②为电源B所在母线;节点③为1号变压器高压侧母线;节点④为2号变压器高压侧母线;节点⑤为地面变电所母线I段;节点⑥为地面变电所母线II段;支路1为进线I及线路断路器1QF;支路2为进线II及线路断路器2QF;支路3为1号变压器和2号变压器高压侧母线联络开关3QF;支路4为1号变压器两侧断路器4QF和6QF;支路5为2号变压器两侧断路器5QF和7QF;支路6为地面变电所母线I段与母线II段间联络开关8QF。图2中开关状态对应的矿山供电系统实际运行状态如下:电源A、进线I投入,断路器1QF、3QF、5QF、7QF、8QF闭合,断路器2QF、4QF、6QF断开。

图2 9QF场景拓扑
Fig.2 Scenario topology of 9QF

图2所示的场景中有6个节点和6条支路,其节点-支路关联矩阵A

(5)

节点-支路关联矩阵A反映了矿山供电系统的拓扑关系。由矿山供电调度自动化系统传递的系统参数可得到节点-支路关联矩阵A、网络支路阻抗矩阵Zb和开关状态信息矩阵G。利用关联矩阵A和开关状态信息矩阵G可得到矿山供电系统场景区域矩阵A0。利用网络支路阻抗矩阵Zb和开关状态信息矩阵G可得到矿山供电系统场景网络支路阻抗矩阵Zb0

场景拓扑图将线路连同线路上的开关抽象为拓扑图的支路,线路上的开关投入时,即该条支路投入。由矿山供电调度自动化系统传递的开关状态量可形成开关状态信息矩阵G,矩阵G中的元素gj定义为

(6)

图2中,当开关1、3、5、6闭合,开关2、4断开时,对应的开关状态信息矩阵为

(7)

利用开关状态信息矩阵G,从节点-支路关联矩阵A中提取与G中所有gj=1的元素列下标相同的m个列向量并删去空白节点行,形成矿山供电系统场景区域矩阵A0。已知式(7)中第1、3、5、6个元素为1,提取式(5)中第1、3、5、6列,并删去空白节点行,形成场景区域矩阵A0

(8)

网络支路阻抗矩阵Zb可定义为

(9)

式中Zj为支路j所对应的支路阻抗。

同样,利用开关状态信息矩阵G,在网络支路阻抗矩阵Zb中提取与G中所有gj=1的元素列下标相同的m个列向量,形成矿山供电系统场景网络支路阻抗矩阵Zb0。已知式(7)中第1、3、5、6个元素为1,提取式(9)中第1、3、5、6列,形成场景网络支路阻抗矩阵Zb0

(10)

式中:Z1为图2中支路1的支路阻抗;Z3为图2中支路3的支路阻抗;Z5为图2中支路5的支路阻抗;Z6为图2中支路6的支路阻抗。

由矿山供电系统场景区域矩阵A0和场景网络支路阻抗矩阵Zb0可得到场景导纳矩阵Y0

(11)

式中Zs0为由场景网络支路阻抗矩阵Zb0生成的对角矩阵。

(12)

由式(11)、式(12)可以得到断路器9QF所对应的场景导纳矩阵:

(13)

从图1可知,与下井回路I在同一段母线上的馈出线其场景是相同的,故为同一类场景。定义场景系统阻抗为电源节点到场景对应母线节点的转移阻抗。根据式(2),在同一类场景馈出线上,发生三相短路时的短路电流可表示为

(14)

式中:Zpb为电源节点至母线节点的阻抗,即场景系统阻抗;Zbk为母线节点至出线末端之间的阻抗,即馈出线线路阻抗。

由式(14)可得,同一类场景上的馈出线末端发生三相短路时,在已知线路阻抗的情况下,只需场景系统阻抗即可得到短路电流。而当电源侧的开关发生变化时,场景也发生变化,只需要更改到对应的场景系统阻抗即可快速求出同一类场景馈出线末端短路电流。

因上级供电系统运行方式变化,存在最大和最小供电方式,对应上级供电系统(即矿山供电系统中的电源)存在最大和最小阻抗,则其场景也存在最大和最小场景阻抗。当上级供电站系统阻抗取最大阻抗时,对应该场景最大系统阻抗,当上级供电站系统阻抗取最小阻抗时,对应该场景最小系统阻抗。

本文使用高斯化简法对导纳矩阵进行等值变换,在保留电源节点和待求母线节点的条件下,通过原网络的等值变换逐步消去一切中间节点,最终形成以电源节点和待求母线节点为顶点的全网型网络。之后,利用网络的支路导纳求出电源节点和待求母线节点的支路阻抗,即场景系统阻抗。

设有n个节点的网络,消去其中的1,2,…,m号节点,保留m+1,m+2,…,n号节点。设E为消去节点集,B为保留节点集,经过矩阵分块后,原网络方程矩阵为

(15)

式中:YEE为场景导纳矩阵Y0中行列皆与消去节点对应的导纳矩阵;YEB为场景导纳矩阵Y0中行与消去节点对应、列与保留节点对应的导纳矩阵;YBE为场景导纳矩阵Y0中行与保留节点对应、列与消去节点对应的导纳矩阵;YBB为场景导纳矩阵Y0中行列皆与保留节点对应的导纳矩阵;UE为消去节点电压列向量;UB为保留节点电压列向量;IE为消去节点注入电流列向量;IB为保留节点注入电流列向量。

由于被消去节点既不接发电机,也不接负荷,消去这类节点时,不存在移置节点电流的问题,只需对节点导纳矩阵做缩减和修改。化简后的导纳矩阵为

(16)

取矩阵第1行元素,对电源节点和母线节点间的支路导纳取倒数,即为场景系统阻抗。

(17)

设矩阵为化简过后的节点导纳矩阵,节点1为电源节点,节点2为场景对应母线节点。根据节点导纳矩阵的定义,其互导纳即为节点1、节点2之间的支路导纳的负值,即

(18)

式中:ypb为电源节点与场景对应母线节点的支路导纳;为化简过后的网络中节点1、节点2之间的支路导纳。

ypb取倒数,得到场景系统阻抗zpb

(19)

通过对场景中的开关状态组合进行分析,提取出典型运行场景。同样以9QF为例,给出若干典型运行场景。

场景1:开关1、4闭合,开关2、3、5、6断开,如图3所示。场景1对应的开关状态信息矩阵为

(20)

图3 场景1拓扑
Fig.3 Topology of scenario 1

场景2:开关1、3、5、6闭合,开关2、4断开,如图2所示。式(7)即为场景2对应的开关状态信息矩阵。

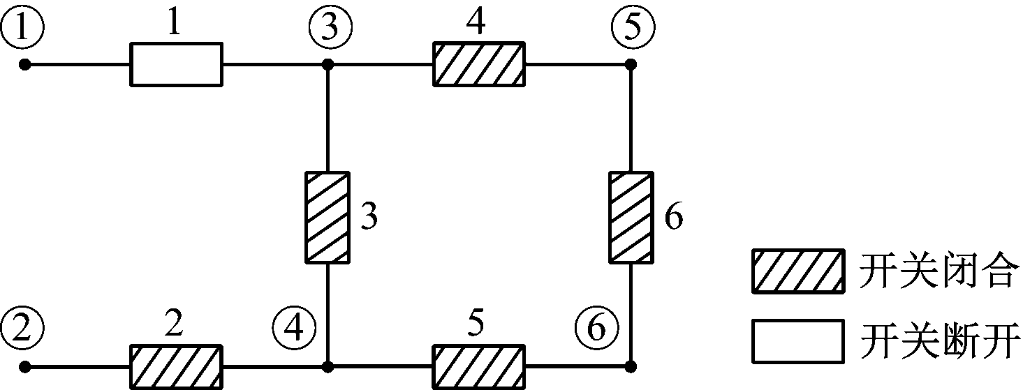
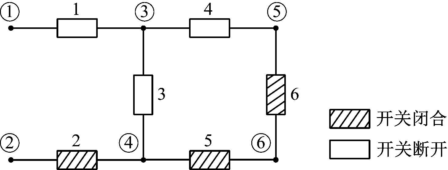
场景3:开关2、5、6闭合,开关1、3、4断开,如图4所示。场景3对应的开关状态信息矩阵为

(21)

图4 场景3拓扑
Fig.4 Topology of scenario 3

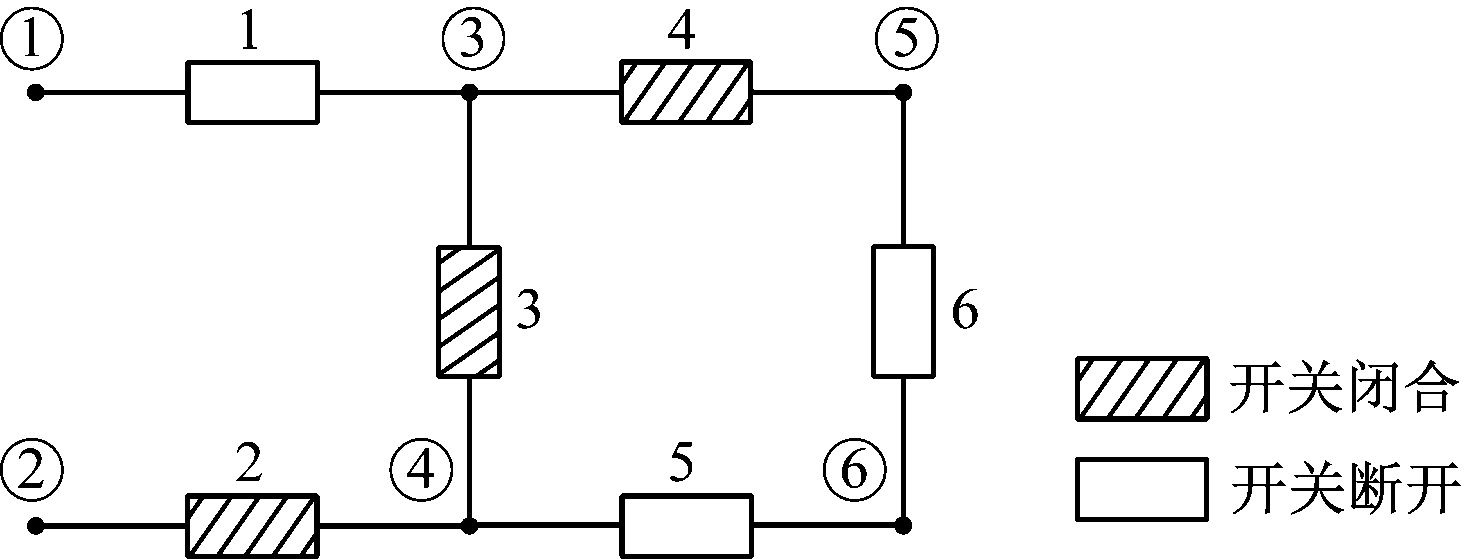
场景4:开关2、3、4闭合,开关1、5、6断开,如图5所示。场景4对应的开关状态信息矩阵为

(22)

图5 场景4拓扑
Fig.5 Topology of scenario 4

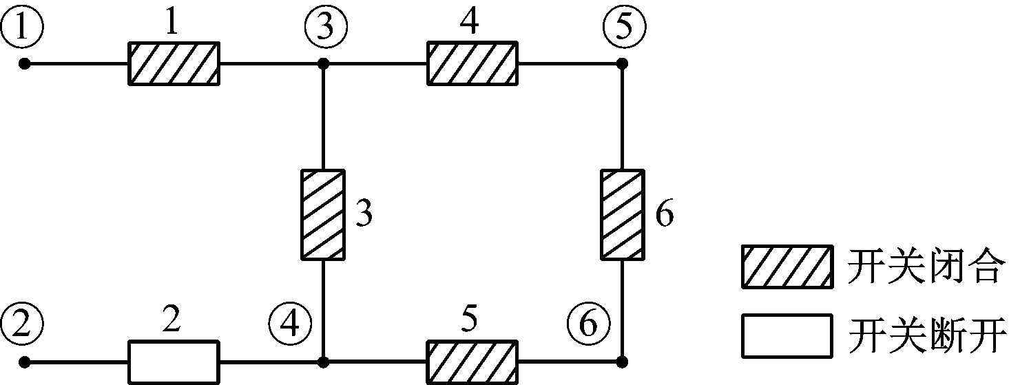
场景5:开关1、3、4、5、6闭合,开关2断开,如图6所示。场景5对应的开关状态信息矩阵为

(23)

图6 场景5拓扑
Fig.6 Topology of scenario 5

场景6:开关2、3、4、5、6闭合,开关1断开,如图7所示。场景6对应的开关状态信息矩阵为

(24)

图7 场景6拓扑
Fig.7 Topology of scenario 6

得出以上场景对应的开关状态信息矩阵后,按行拼接,得到场景开关信息矩阵。9QF所对应的场景开关信息矩阵为

(25)

定义一段母线上同一类场景的全部组合为一个场景类。当矿山供电调度自动化系统监测到开关状态改变时,首先找到包含状态改变的开关的一组场景类,然后由矿山供电调度自动化系统生成开关状态矩阵,与场景开关信息矩阵的行向量做与运算,如果结果为1,则该组开关状态对应的场景编号即为场景开关信息矩阵行向量的编号。

图1中有4段母线,根据上文中场景的定义,每段母线对应着不同的场景类,上文中已给出9QF所在出线的母线对应的一组场景,其余各组场景不再赘述。保护位置所在出线的母线对应场景类中场景数量见表1。

表1 保护位置所在出线的母线对应场景类中场景数量
Table 1 Number of scenario in scenario class corresponding to bus where protection is located

保护位置9QF10QF12QF13QF场景数量661414

2 继电保护在线整定系统计算流程

系统继电保护在线整定流程如图8所示。选取一个场景,通过场景对应的开关状态矩阵计算得到矿山供电系统场景区域矩阵和场景网络支路阻抗矩阵。基于场景区域矩阵和场景网络支路阻抗矩阵计算出此类场景下的场景最大和最小系统阻抗,直至全部场景都计算完毕。

在系统监测到断路器开关状态变化时,自动读取断路器实时开关状态,通过场景开关信息矩阵找出存在状态改变的开关的场景类,并按照场景类中开关的数量顺序选择一个场景类。对场景类对应的

图8 继电保护在线整定流程
Fig.8 Flow of on-line relay protection setting

一组保护进行定值校核。根据定值校核计算结果,判断保护性能是否满足要求,若不满足要求,则对不满足要求的保护进行在线整定计算;若满足要求,则该场景类校核结束,重新选择下一场景类,直至全部场景类都校核完毕。

3 系统设计

3.1 系统总体设计

矿山电网继电保护在线整定系统采用B/S架构,即浏览器和服务器架构模式。这种模式统一了客户端,让核心的业务处理在服务器端完成。系统结构如图9所示,包括用户界面模块、业务模块和数据库模块。

图9 考虑多场景运行方式的矿山电网继电保护在线整定系统结构
Fig.9 Structure of on-line relay protection setting system for mine power grid considering multi-scenario operation mode

系统搭建采用Flask框架,Flask由Python编程语言开发,其WSGI工具箱采用Werkzeug,模板引擎则使用Jinja2。Flask是一个轻量级的可定制Web框架,用户可以根据自己的需求来添加相应的功能,在保持核心功能简单的同时实现功能的丰富和扩展,具有很强的扩展性和兼容性。Werkzeug是一个非常强大的WSGI,即Web服务器网关接口。系统通过Werkzeug接收用户界面的请求并将请求发送给业务模块,在业务模块进行逻辑运算后,返回给Werkzeug,并由Werkzeug发出响应并交还给用户界面。

3.2 用户界面模块设计

系统用户界面如图10所示。界面通过浏览器呈现,主要涉及的技术有HTML、CSS、jQuery、JavaScript、Jinja2、Ajax、Bootstrap4等。矿山电网继电保护在线整定系统在客户端展示时,主要依赖于HTML文档。纯粹HTML格式的网页内容固定,交互性差,通常被称为静态网页。为了构建交互式的应用,本文采用Flask内置的Jinja2模板引擎来动态与服务器交互。并使用Ajax技术实现网页的异步更新,即不重新加载整个网页的情况下,对网页的某部分进行更新,实现网页应用的交互式快速动态响应。

图10 系统用户界面
Fig.10 User interface of system

3.3 业务模块设计

系统的应用程序主要用Python语言开发。由于人工智能的崛起,Python语言成为了一门非常受欢迎的语言,它非常易于学习和使用,并且高度实用。系统使用Python语言将各系统组件连接成一个统一的整体,并由Python程序进行业务逻辑的交互,提高了程序的可读性和可升级性。

由于继电保护计算涉及到大量的矩阵运算,所以,系统在业务模块中使用Numpy辅助计算,Numpy是一个主要用于数组计算的数学函数库,提供了许多高级的数值编程工具,如矩阵数据类型、矢量处理以及精密的运算库。使用Numpy大大提高了整定系统数学计算的效率。

3.4 数据库模块设计

电网运行中会产生大量的运行数据,为了高效存储数据,方便用户进行检索和访问,整定系统使用MySQL数据库管理系统。MySQL是最流行的关系型数据库管理系统,作为一个开源软件,MySQL拥有庞大的社区,方便解决运行过程中遇到的各种问题。数据库参数模块使用SQLAlchemy来操作数据库,SQLAlchemy是Python中最有名的ORM(Object Relational Mapping,对象关系映射)框架,ORM框架能够将关系数据库的表结构映射到对象上,实现数据转换,方便服务器端使用。

3.5 系统功能设计

矿山电网继电保护在线整定系统功能如图11所示,系统通过数据获取接口从矿山供电调度自动化系统中获取矿山电网的计算参数,计算参数包括矿山数据、变电所数据、电源数据、变压器数据、母线数据、开关柜数据、电缆数据、负载数据、开关状态数据、继电保护数据。系统在得到矿山电网的计算参数后,通过Python程序将其存入数据库。系统根据矿山电网的数据生成矿山供电系统的场景,计算不同场景对应的场景系统阻抗。

图11 系统功能
Fig.11 Functions of system

系统与矿山供电调度自动化系统通信,对矿山供电系统开关状态进行监测。系统的业务逻辑模块一旦监测到开关状态改变,即矿山电网的开关状态数据变化,系统将自动切换到对应场景,进行该场景下的业务逻辑运算,如短路计算、定值校核、整定计算。在监测到开关状态变化的第一时间,为了保护矿山电网的安全,系统首先对场景发生改变的保护进行定值校核。如果定值满足要求,则继续计算下一个场景;如果不满足要求,则发出警告并重新进行整定计算,切换到新的保护定值。在系统的业务模块中,还可以进行整定校验计算。整定校验计算允许用户自行设定矿山电网的计算参数(包括继电保护数据和场景状态),预先对要采用的继电保护定值进行校验。

用户通过系统的用户界面与业务模块进行交互,在用户界面中实时显示各保护校核结果,并在数据库中保存系统日志。用户允许查询调出数据,当需要打印报告时,可以输出查询到的数据表并打印。

4 实例分析

下面以某煤矿电网的线路保护为例来分析考虑多场景运行方式对继电保护定值性能的影响。以图1所示的供电系统为例,保护9QF、10QF、12QF、13QF所在线路短路时,其系统最大和最小阻抗以及线路阻抗见表2。

表2 被保护线路阻抗
Table 2 Impedance of protected line

保护位置系统最大阻抗/Ω系统最小阻抗/Ω线路阻抗/Ω9QF0.020+0.415j0.052+0.539j0.118+0.090j10QF0.020+0.415j0.052+0.539j0.127+0.097j12QF0.147+0.512j0.170+0.629j0.286+0.120j13QF0.147+0.512j0.170+0.629j0.309+0.130j

表3为保护位置在线路首端或末端短路时的最大三相短路电流、最小两相短路电流,可由表2所给数据以及式(14)得出。

表3 待校核保护短路电流
Table 3 Short circuit current of protected line to be checked

保护位置线路首端最大短路电流/A线路首端最小短路电流/A线路末端最大短路电流/A线路末端最小短路电流/A9QF14 594.809 698.9711 584.208 060.6510QF14 594.809 698.9711 378.207 945.3812QF11 584.207 945.388 028.565 913.6313QF11 584.207 945.387 812.145 781.47

根据式(1),在进行不考虑多场景运行方式的继电保护整定计算时,9QF处的保护装置瞬时电流速断保护整定计算如下:

(26)

根据式(3),对计算出的定值进行最小运行方式下两相短路时最小保护范围校验,计算如下:

(27)

瞬时电流速断保护要求在最小运行方式下两相短路时,保护范围大于线路全长的15%。在式(27)中最小保护范围小于15%,甚至小于0,失去保护范围,因而灵敏度不满足要求。按保证线路首端故障时有不小于1.1的灵敏系数逆向整定。

(28)

式中:为瞬时电流速断保护的灵敏系数;为最小运行方式下,被保护线路首端发生两相短路时流经保护装置的短路电流。

按照本文设计的系统,9QF处的保护装置瞬时电流速断保护在各个场景下的整定值见表4。针对不同场景,可以计算出不考虑多场景运行方式的继电保护和考虑多场景运行方式的继电保护两者的整定值在各个场景中的最小保护范围,见表5。

表4 考虑多场景运行方式的瞬时电流速断整定值
Table 4 Setting values of instantaneous current quick-break protection setting considering multi-scenario operation mode

场景编号123456整定值/A11 087.710 996.38 817.38 875.716 993.512 285.5

表5 不考虑多场景运行方式和考虑多场景运行方式的瞬时速断保护的最小保护范围
Table 5 Minimum protection range of instantaneous quick-break protection current with and without considering multi-scenario operation mode

继电保护整定最小保护范围/%场景1场景2场景3场景4场景5场景6不考虑多场景运行方式111.1108.736.438.8211.9147.4考虑多场景运行方式29.029.236.436.218.934.2

由表5可知,在不考虑多场景运行方式的继电保护整定计算中,场景1、2、5、6最小保护范围超过100%,即本段线路的全长,保护范围将延伸至下级线路,极易发生保护装置的越级误动。使用考虑多场景运行方式的继电保护系统计算出的定值在各场景下的保护范围均符合继电保护装置的灵敏性要求(15%<α<80%),避免了保护装置的误动。

由于传统的矿山电网继电保护整定计算优先保证最小运行方式下的灵敏性,在矿山供电系统的运行方式改变后,流经保护装置的短路电流变大,保护装置最小保护范围过大,即无法满足继电保护装置的选择性。而使用考虑多场景运行方式的继电保护系统进行整定时,系统能够随着场景实时计算出场景对应的短路电流和整定值,使保护范围始终在继电保护装置所允许的区间。不考虑多场景运行方式与考虑多场景运行方式下的瞬时速断保护在各场景下的保护范围如图12所示。由图12可知,考虑多场景运行方式的继电保护系统在各场景下的整定值均满足继电保护装置保护范围的要求,避免了使用不考虑多场景运行方式计算时整定值无法随运行方式更新造成的继电保护拒动和误动,证明了考虑多场景运行方式的可行性。

图12 不考虑多场景运行方式和考虑多场景运行方式的瞬时速断保护的最小保护范围
Fig.12 Minimum protection range of instantaneous quick-break protection current with and without considering multi-scenario operation mode

5 结语

设计了一种考虑多场景运行方式的矿山电网继电保护在线整定系统,该系统与矿山供电调度自动化系统相结合,通过将保护位置所在出线的母线电源侧某一类断路器状态的组合定义为矿山供电系统的场景,得到了矿山供电系统场景区域矩阵和场景网络支路阻抗矩阵,由此计算出此类场景下的系统最大和最小阻抗。系统可持续监测矿山电网的开关状态,当断路器开关状态变化时,自动读取断路器实时开关状态。当母线电源侧的开关发生变化时,即其场景发生变化,系统根据接收到的开关状态信息矩阵自动切换为对应场景,并根据场景系统的最大和最小阻抗对保护装置当前定值进行校核,对其中不符合要求的保护重新整定动作值,实现了在线整定的实时计算。实际应用结果表明,通过与矿山供电调度自动化系统通信,考虑多场景运行方式的矿山电网继电保护在线整定系统计算出的整定值保护范围能够适应各种运行方式中继电保护装置的要求,避免了运行方式改变后定值不符合要求造成的继电保护装置的拒动或误动。

参考文献(References):

[1] 刘明.电力调度自动化系统在煤矿中的应用[J].中国石油和化工标准与质量,2019,39(8):130-131.

LIU Ming.Application of power dispatching automation system in coal mine[J].China Petroleum and Chemical Standard and Quality,2019,39(8):130-131.

[2] 吕启明,夏元涛,王晓晨,等.基于GPS的SCADA-EMS煤矿供电调度系统的设计[J].工矿自动化,2011,37(3):91-94.

LYU Qiming,XIA Yuantao,WANG Xiaochen,et al.Design of SCADA-EMS power dispatching system of coal mine based on GPS[J].Industry and Mine Automation,2011,37(3):91-94.

[3] 王刚,陈仁明.煤矿安全供电云服务平台的技术实现[J].煤矿机电,2019,40(5):74-77.

WANG Gang,CHEN Renming.Technical implementation of cloud service platform for coal mine safety power supply[J].Colliery Mechanical & Electrical Technology, 2019,40(5):74-77.

[4] 郭云川.煤矿供电系统继电保护整定以及仿真系统的研究[J].煤炭技术,2014,33(7):184-186.

GUO Yunchuan.Research on relay protection setting and simulation system of coal mine power supply system[J].Coal Technology,2014,33(7):184-186.

[5] 王忆南.配电网继电保护整定系统研究[D].西安:西安石油大学,2020.

WANG Yinan.Study on relay protection setting system of distribution network[D].Xi'an:Xi'an Shiyou University,2020.

[6] 马星河,李林蔚,李自强,等.煤矿井下高压电网过流保护整定计算方法的改进研究[J].电力系统保护与控制,2014,42(10):90-95.

MA Xinghe,LI Linwei,LI Ziqiang,et al.Improvement and research on the setting calculation method of overcurrent protection of the underground high-voltage distribution network of coal mine[J].Power System Protection and Control,2014,42(10):90-95.

[7] 段献忠,杨增力,程逍.继电保护在线整定和离线整定的定值性能比较[J].电力系统自动化,2005,29(19):58-61.

DUAN Xianzhong,YANG Zengli,CHENG Xiao.Performance analysis of relay setting determined according to off-line calculation and on-line calculation[J].Automation of Electric Power Systems,2005,29(19):58-61.

[8] 韩琪.广域保护理念在煤矿供电系统中的应用设想[J].煤炭工程,2013,45(12):15-16.

HAN Qi.Application of wide area protection concept in coal mine power supply system[J].Coal Engineering,2013,45(12):15-16.

[9] 姚福强,柏猛,杜兆文.GOOSE信号闭锁在煤矿供电系统防越级跳闸中的应用[J].电力系统及其自动化学报,2016,28(7):37-41.

YAO Fuqiang,BAI Meng,DU Zhaowen.Application of GOOSE blocking to anti-override trip of power system in coal mine[J].Proceedings of the CSU-EPSA,2016,28(7):37-41.

[10] 李建冬,侯炜,陈俊,等.基于GOOSE的煤矿供电防越级速断保护原理研究及应用[J].煤炭技术,2019,38(5):182-185.

LI Jiandong,HOU Wei,CHEN Jun,et al.Research and application of anti-override instantaneous protection principle for coal mine power supply system based on GOOSE[J].Coal Technology,2019,38(5):182-185.

[11] 王玉梅,马星河,安葳鹏.基于独立分站的煤矿井下高压电网自适应保护系统方案[J].工矿自动化,2009,35(10):5-8.

WANG Yumei,MA Xinghe,AN Weipeng.A scheme of adaptive protection system for high-voltage power grid of coal mine underground based on independent substation[J].Industry and Mine Automation,2009,35(10):5-8.

[12] 田书,张胜朝.矿井高压电网的自适应过流保护研究[J].电网技术,2008,32(6):27-30.

TIAN Shu,ZHANG Shengchao.Research on adaptive overcurrent protection for high voltage mine power network[J].Power System Technology,2008,32(6):27-30.

[13] 丁一,王旭东,戚艳,等.考虑网络等值的自适应电流速断保护整定方法[J].电力系统及其自动化学报,2018,30(7):78-82.

DING Yi,WANG Xudong,QI Yan,et al.Setting method for adaptive instantaneous trip current protection based on network equivalence[J].Proceedings of the CSU-EPSA,2018,30(7):78-82.

[14] 邓丰强,吕飞鹏,廖小君,等.考虑系统运行方式的继电保护在线智能校核[J].电力系统及其自动化学报,2013,25(5):71-76.

DENG Fengqiang,LYU Feipeng,LIAO Xiaojun,et al.Online intelligent verification of relay protection considering system operation mode[J].Proceedings of the CSU-EPSA,2013,25(5):71-76.

[15] 李一泉,王峰,吴梓亮,等.基于方式变化影响域辨识及故障量排序的继电保护定值在线预警[J].电力系统保护与控制,2019,47(16):108-114.

LI Yiquan,WANG Feng,WU Ziliang,et al.A online early warning method for power grid protection relay setting based on mode change effect range identification and fault result ordering[J].Power System Protection and Control,2019,47(16):108-114.

[16] 史丽萍,梁经宛,刘志远.煤矿电网继电保护整定计算软件的设计[J].工矿自动化,2009,35(10):84-87.

SHI Liping,LIANG Jingwan,LIU Zhiyuan.Design of calculation software for relay protection setting of coal mine power grid[J].Industry and Mine Automation,2009,35(10):84-87.

[17] 李福.煤矿井下双回路供电系统运行方式的革新与优化[J].工矿自动化,2011,37(7):24-26.

LI Fu.Renovation and optimization of operation mode of dual-circuit power supply system in coal mine[J].Industry and Mine Automation,2011,37(7):24-26.

[18] 马超.矿区35 kV电网网架优化研究[D].南京:南京理工大学,2011.

MA Chao.Study on optimizing over-current protection of mine 35 kV high-voltage distribution network[D].Nanjing: Nanjing University of Science and Technology,2011.

[19] 韩泰然.矿区供电电网智能管理平台的构建与探讨[J].能源与环保,2019,41(12):107-111.

HAN Tairan.Construction and discussion of intelligent management platform for power grid in mining area[J].China Energy and Environmental Protection,2019,41(12):107-111.

[20] 董张卓,赵元鹏,王清亮.配电网运行拓扑与支路顺序算法[J].电力系统及其自动化学报,2016,28(11):76-81.

DONG Zhangzhuo,ZHAO Yuanpeng,WANG Qingliang.Operation topology of distribution network and branch sequence algorithm[J].Proceedings of the CSU-EPSA,2016,28(11):76-81.

[21] 张宏,郭宗仁.基于节点-支路关联矩阵的配电网馈线故障区域定位算法[J].电力自动化设备,2004,23(1):27-29.

ZHANG Hong,GUO Zongren.Fault section locating for distribution feeder net based on node-branch incident matrix[J].Electric Power Automation Equipment,2004,23(1):27-29.

On-line relay protection setting system for mine power grid considering multi-scenario operation mode

YU Qun, LIU Jiayu

(College of Electrical Engineering and Automation,Shandong University of Science and Technology,Qingdao 266590, China)

Abstract:Although the existing research on mine power grid relay protection setting has studied the setting methods of mine power grid relay protection under different operation modes, but it has not studied the setting method that applied in the automation system of mine power supply and dispatching. Therefore, the setting value could not be calculated in real time as the operation mode of the mine power grid changes. The new setting value can not be given to the protection that does not meet the requirements. To address the above problems, on-line relay protection setting system for mine power grid considering multi-scenario operation mode is proposed by defining the combination of a certain type of circuit breaker status on the bus power side of the outgoing line of the protection position as a mine power supply system scenario. The system uses the scenario corresponding switch state matrix to calculate the scenario area matrix and scenario network branch impedance matrix of the mine power supply system. Then the system calculates the maximum and minimum system impedance of the scenario based on the scenario area matrix and scenario network branch impedance matrix. As the change of breaker switching state or the scenario is monitored, the real-time switching state of the breaker is automatically read. The scenario class with the state change switch is found through the scenario switch information matrix. A scenario class is selected according to the number of switches in the scenario class, and the setting value of protection corresponding to the scenario class is calculated. Based on the calculation result of the setting value, it is reviewed whether the protection performance meets the requirements.If not meeting the requirements, on-line setting calculation will be carried out. If meeting the requirements, then the calculation of the scenario class will be completed, and the next scenario class will be calculated until the all scenario classes being calculated.The application results show that by communicating with the mine power supply dispatching automation system, the protection range of the on-line relay protection setting system for mine power grid considering multi-scenario operation mode can adapt to the requirements of relay protection devices in various operation modes. Moreover, the method avoids the rejection and misoperation of relay protection devices caused by the setting value not meeting the requirements after the change of operation mode.

Key words:mine power grid; relay protection; power supply dispatching automation system; circuit breaker; setting check; on-line setting; switch information matrix; scenario topology; multi-scenario operation mode

中图分类号:TD61

文献标志码:A

文章编号1671-251X(2020)12-0038-10

DOI:10.13272/j.issn.1671-251x.2020100002

收稿日期:2020-10-02;修回日期:2020-11-30;责任编辑:张强。

基金项目:山东省自然科学基金资助项目(ZR2016EEM13)。

作者简介:于群(1970-),男,山东淄博人,教授,博士,主要研究方向为电力系统运行与控制、电力系统继电保护等,E-mail:yuqun_70@163.com。

引用格式:于群,刘佳钰.考虑多场景运行方式的矿山电网继电保护在线整定系统[J].工矿自动化,2020,46(12):38-47.

YU Qun,LIU Jiayu.On-line relay protection setting system for mine power grid considering multi-scenario operation mode[J].Industry and Mine Automation,2020,46(12):38-47.