实验研究
刘天奇
(沈阳航空航天大学 安全工程学院,辽宁 沈阳 110136)
摘要:为研究不同煤质煤尘云最低着火温度变化规律,选取褐煤、长焰煤、不黏煤、气煤、焦煤、瘦煤、贫煤和无烟煤8种煤质煤样,采用煤尘云最低着火温度测试装置,研究了煤尘云最低着火温度随变质程度、粒径及混入惰性岩粉量的变化规律。研究结果表明:① 煤样变质程度越低,受限高温空间内煤尘云越容易着火,煤尘云爆炸潜在危险性越大;煤尘云着火过程是可燃气相环境主导的。② 随着粒径在75 μm到25 μm范围内减小,8种煤质煤尘云最低着火温度均不断减小,褐煤尘云最低着火温度最大降幅最大,达18.6%,说明褐煤尘云最低着火温度受粒径影响最大;空干基挥发分越大且煤尘半径越小,煤尘云越容易着火;在“敏感粒径区间”内褐煤尘云最低着火温度降幅最大,达8.47%。③ 向煤尘中混入不同比例的惰性CaCO3岩粉对8种煤质煤尘云着火现象均有明显抑制作用。
关键词:煤尘爆炸;煤尘云着火;最低着火温度;煤尘变质程度;煤尘粒径;惰性岩粉
煤尘云最低着火温度是衡量煤尘爆炸着火敏感特性的重要参数[1]。煤尘云着火是发生煤尘爆炸的关键前提条件,也是发生煤尘爆炸的初始阶段[2]。煤尘云着火难易程度决定了煤尘爆炸敏感程度。煤尘本身变质程度、实验工况及环境条件等因素,对煤尘爆炸着火敏感特性有很大影响[3]。不同煤质的煤尘云最低着火温度在不同实验工况及环境条件下呈现出波动性,同时也表现出一定的变化规律。研究不同煤质煤尘云最低着火温度的变化规律,对掌握煤尘爆炸着火敏感特性具有重要意义。
在粉尘爆炸着火敏感特性研究方面,A.Emmanuel等[4]采用G炉装置,分析了5种粉尘与6种可燃气体分别混合后的最低着火温度特性,发现少量粉尘的加入会降低可燃气体最低着火温度和爆炸下限浓度;李海涛等[5]采用模拟方法研究了湍流状态下瓦斯煤尘预混、着火及爆炸特征;刘贞堂等[6]研究了受限空间煤尘爆燃气体产物生成特性;刘丹等[7]分析了煤尘的加入对瓦斯着火、爆炸过程的影响,并得出煤尘对瓦斯爆炸起促进作用的结论;钟英鹏等[8]使用G炉研究了粒径、粉尘云浓度、分散压力对金属镁粉最低着火温度的影响;庞磊等[9-10]选取2种农业粉尘(石松子粉与面粉)和1种化工粉尘(高密度聚乙烯粉尘),分析了小粒径农业粉尘云最低着火温度变化规律,以及不同浓度和喷尘压力条件下高密度聚乙烯粉尘云最低着火温度变化规律;赵江平等[11]、王庆慧等[12]、任瑞娥[13]分别研究了桑木粉尘、玉米淀粉和硫磺粉尘的粉尘云最低着火温度变化特性。可见目前在易燃易爆粉尘云最低着火温度方面的研究已取得一定成果,但对不同变质程度煤尘云最低着火温度变化规律的研究并不多见。
本文根据我国各煤质种类在已探明煤炭储量中的分布情况,选取褐煤、长焰煤、不黏煤、气煤、焦煤、瘦煤、贫煤和无烟煤8种不同变质程度煤样,研究煤尘云最低着火温度与煤样变质程度、煤尘粒径、混入惰性岩粉量的关系。研究结果对探索不同煤质煤尘着火难易程度具有参考价值。
煤尘按变质程度由低到高可分为褐煤、烟煤和无烟煤,其中烟煤按变质程度不同又可划分为长焰煤、不黏煤、气煤、焦煤、瘦煤、贫煤等。根据我国各煤质种类在已探明煤炭储量中分布情况可知:褐煤作为变质程度最低的煤质,占比达6.81%;无烟煤作为变质程度最高的煤质,占比达7.92%;长焰煤、不黏煤作为变质程度相对较低的烟煤,占比分别达21.59%和25.53%;气煤、焦煤作为中等变质程度的烟煤,占比分别达9.76%和2.94%;瘦煤、贫煤作为变质程度相对较高的烟煤,占比分别达2.70%和2.85%。
从地域分布上看,我国煤炭资源分布面较广,除上海市外,其他省、市、自治区都有不同数量的煤炭资源。但我国煤炭资源储量具有“北多南少、西多东少”特点,华北地区的山西省、内蒙古自治区和西北地区的新疆维吾尔自治区、陕西省等,煤炭资源十分丰富。根据我国各煤质在已探明煤炭储量中的分布情况及煤炭资源地域分布特征,选取我国华北、西北、东北地区8个矿区的8种不同变质程度的标准煤样,如图1所示。煤样工业分析结果见表1,其中Mad为空干基水分,Aad为空干基灰分,Vad为空干基挥发分,FCad为空干基固定碳,TC为煤尘云最低着火温度,m0为煤尘质量,P0为喷尘压力。

1-褐煤;2-长焰煤;3-不黏煤;4-气煤;5-焦煤;6-瘦煤;7-贫煤;8-无烟煤。
图1 8种煤样
Fig.1 Eight coal samples
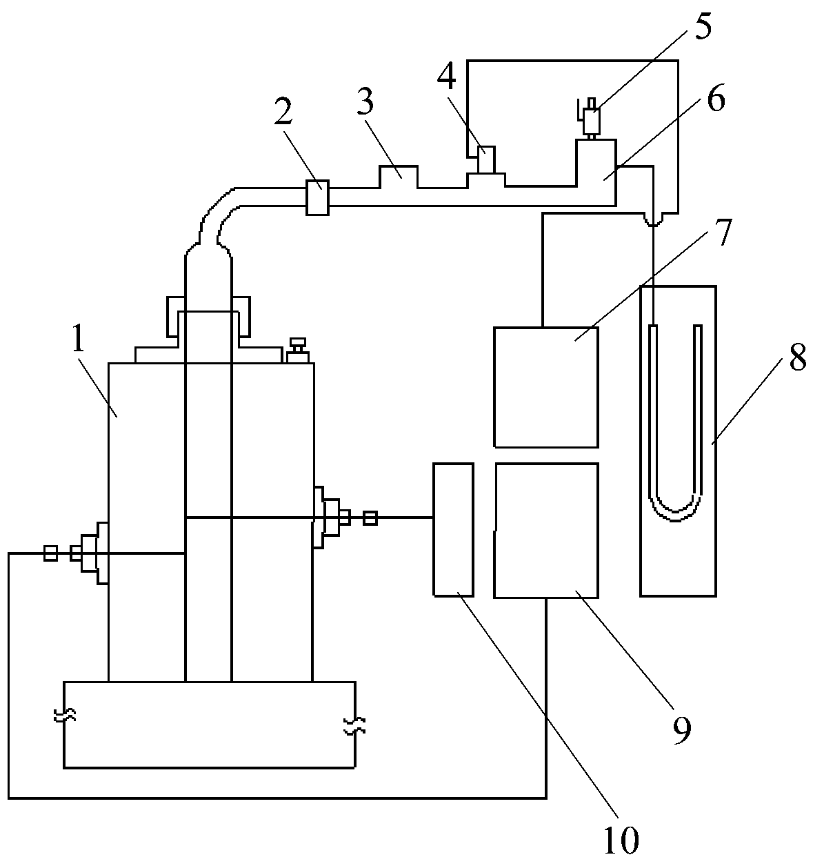
采用煤尘云最低着火温度测试装置(图2)测试煤尘云最低着火温度。该装置主要由圆柱状加热炉、压气喷尘系统(包括储尘器、电磁阀、闸阀、储气罐、稳压电源、U型管)、温度控制仪和温度记录仪组成,共同完成发尘、点火、温度数据采集工作。其中,加热炉中的加热石英管垂直安装,外壁绕有用于加热的电工合金丝(总电阻为13 Ω),其下端开口,并与大气相通。加热炉中部与中下部分别安装有与温度控制仪和温度记录仪相连的热电偶,用于调控和记录实验温度。加热炉整体安装在一个支撑座上,在加热石英管下端安设一面反光镜,以便从玻璃窗中观察炉内是否发生着火现象。
表1 煤样工业分析及煤尘云最低着火温度实验结果
Table 1 Industrial analysis of coal samples and the minimum ignition temperature test results of coal dust cloud


(a)实物

1-加热炉;2-连接头;3-储尘器;4-电磁阀;5-闸阀;6-储气罐;7-稳压电源;8-U型管;9-温度控制仪;10-温度记录仪。
(b)结构
图2 煤尘云最低着火温度测试装置
Fig.2 The minimum ignition temperature testing device of coal dust cloud
为研究煤尘云最低着火温度TC随煤尘变质程度的变化规律,以选取的褐煤、长焰煤、不黏煤、气煤、焦煤、瘦煤、贫煤、无烟煤8种煤质煤样(粒径为75 μm)为基础进行实验,结果见表1。煤尘质量m0和喷尘压力P0是根据火焰剧烈程度判定的。由于煤尘云着火是高温环境下发生的煤尘干馏过程,挥发出的可燃性气体和分解出的可燃固定碳固体成分是参与着火燃烧的主体,所以空干基挥发分Vad和空干基固定碳FCad是影响TC的主要工业分析因素,空干基水分Mad和空干基灰分Aad是影响TC的次要工业分析因素。
从表1可看出,随着煤尘变质程度增大,Vad总体上减小,而FCad并不具有明显的变化趋势。这说明Vad作为煤尘在高温作用下干馏出的可燃性气体占比,其值更能体现煤尘变质程度。为直观分析TC随煤尘变质程度变化特性,绘制TC与Vad,FCad的关系曲线,如图3所示。

图3TC与Vad,FCad关系曲线
Fig.3 Relationship curves betweenTCandVadorFCad
从图3可看出,随着Vad在7.65%~36.88%范围内逐渐增大,TC总体呈下降趋势,说明Vad越大,即煤尘变质程度越低,受限高温空间内煤尘云越容易着火,煤尘爆炸潜在危险性越大。因此,生产未变质褐煤、低变质长焰煤与不黏煤、中等变质气煤与焦煤的煤矿企业,相对于生产高变质瘦煤、贫煤与无烟煤的煤矿企业而言,更应加强防范,杜绝高温热源及明火,严防煤尘云着火,进而酿成爆炸类事故。
对图3中TC与Vad关系曲线存在局部极大值现象进行分析。长焰煤Vad为32.55%,TC实测值为630 ℃,大于不黏煤(Vad为30.27%)的TC(610 ℃)。根据前文“Vad越大煤尘云越容易着火”的结论不能解释该现象。进一步分析发现:长焰煤Mad高达10.88%,约为不黏煤Mad的3.3倍。由于水分在煤尘云着火过程中会析出并带走热量,起到抑制着火、增大TC的作用,所以长焰煤出现TC局部极大值是由“水分抑制着火效应”主导的。相比于“挥发分促进着火效应”而言,“水分抑制着火效应”在实验中的作用更显著。同时,Aad作为煤尘着火燃烧后的惰性固体产物占比,其值越大,对着火的抑制作用更显著。虽然不黏煤Aad约为长焰煤的2.3倍,但仍阻碍不了长焰煤TC长势,证明长焰煤“水分抑制着火效应”同时强于不黏煤“灰分抑制着火效应”。这就合理解释了TC与Vad关系曲线中存在局部极大值现象的原因。
分析图3中TC与FCad关系曲线可知,随着FCad在51.70%~67.16%范围内增大,TC先增大后减小、再增大后减小,规律性不明显。这说明FCad与TC的关联程度小于Vad。根据文献[14]可知,固定碳是煤发热量的重要来源,常以FCad计算煤发热量,这说明FCad越大,煤尘燃烧或爆炸产生的热量越多。而本文研究结果表明,FCad越大,煤尘云不一定越容易着火。相比之下,Vad对TC的影响作用比FCad大,证明煤尘云着火受可燃挥发分气体促进效应更明显,煤尘云着火过程是可燃气相环境主导的。
为分析不同煤质TC随粒径变化规律,分别制备75,58,48,38,25 μm的煤样。国际上规定小于75 μm的固体悬浮物统称为粉尘,因此所选粒径均小于75 μm。5种煤样粒径的筛分结果见表2。
表2 煤样粒径筛分结果
Table 2 Particle size screening results of coal sample

8种煤质煤样在不同粒径下的TC测试结果见表3,其中“TC最大降幅”为75,25 μm粒径煤样TC减小百分比。分析可知:① 对于8种煤质煤样,随着粒径在75 μm到25 μm范围内减小,TC均不断减小,说明粒径小的煤尘云更容易着火,潜在爆炸危险性更大。② 褐煤TC最大降幅最大,达18.6%;长焰煤、不黏煤、气煤、焦煤、瘦煤TC最大降幅分别为11.1%,14.8%,16.7%,12.7%,13.3%,均超过10%;变质程度较高的贫煤和无烟煤TC最大降幅分别为6.3%和6.8%。这说明在TC特性上,褐煤受粒径影响最大,其次分别为气煤、不黏煤、瘦煤、焦煤、长焰煤、无烟煤和贫煤。
表3 5种粒径煤样TC
Table 3TCof coal samples with five kinds of particle sizes

定义煤尘半径为r。结合表1与表3数据,建立TC与Vad,r的三维拟合模型:
TC=924.53-16.11Vad-0.56r+
(1)
根据式(1)绘制三维拟合曲面,如图4所示。分析可知:Vad越大且r越小,则TC越小,即越容易着火,爆炸危险性越大;Vad越小且r越大,则TC越大,爆炸危险性越小。由式(1)可实现对相应范围内不同煤质煤样、不同粒径条件下TC的定量预测。
为进一步分析TC随r变化规律,绘制8种煤质TC与r关系曲线,如图5所示。

图4TC与Vad,r三维拟合曲面
Fig.4 3D fitting curve ofTC,Vadandr

图5TC与r关系曲线
Fig.5 Relationship curves betweenTCandr
(1)不同煤质TC与r关系曲线对比分析。除气煤与褐煤TC与r关系曲线之间存在交叉现象外(在48 μm处TC均为530 ℃),其余曲线均不交叉重叠,且界限分明。无烟煤r从75 μm减小到25 μm时,相应TC从880 ℃降至820 ℃,但仍高于75 μm贫煤TC(800 ℃),说明无烟煤作为变质程度最高的煤质,固定碳含量相对较高,而挥发分含量相对较低,因此煤尘云不容易着火燃烧,着火敏感性较低。而褐煤等变质程度相对较低的煤尘云更容易着火。
(2)不同煤质TC的“敏感粒径区间”分析。从图5可看出,粒径从75 μm降至25 μm过程中,褐煤、长焰煤、气煤、贫煤、无烟煤TC在(58 μm,75 μm)粒径区间降幅更明显,说明(58 μm,75 μm)是这5种煤质TC的“敏感粒径区间”。该区间内5种煤质TC分别下降8.47%,6.35%,8.33%,3.75%,3.41%,见表4。同理可知,(48 μm,58 μm)是焦煤和瘦煤TC的“敏感粒径区间”,该区间内2种煤质TC分别下降4.41%和5.60%;(25 μm,38 μm)是不黏煤TC的“敏感粒径区间”,该区间内TC下降5.45%。“敏感粒径区间”体现了不同煤质TC受粒径影响的差异性,在各自“敏感粒径区间”内TC降幅最大的是褐煤,降幅最小的是无烟煤。
表4TC的“敏感粒径区间”
Table 4 "Sensitive particle size interval" ofTC

为避免井下煤尘发生着火与爆炸,通常采用设置岩粉棚的方式降低煤尘着火敏感性。为分析高温环境下岩粉对煤尘云着火的抑制特性,基于75 μm粒径的8种煤质TC实验结果,在相应的m0与P0工况下,混入粒径75 μm的CaCO3岩粉。令混入岩粉质量百分比为k0,以褐煤(m0=2 g)为例,k0=10%说明混入岩粉质量为0.2 g。不同k0条件下TC实验结果见表5。
表5 不同k0条件下TC实验结果
Table 5 Test results ofTCunder differentk0

从表5可看出:混入岩粉对8种煤质煤尘云着火现象均有明显抑制作用;褐煤、长焰煤、不黏煤、气煤与焦煤在k0=30%,瘦煤与贫煤在k0=20%,无烟煤在k0=10%时超出TC测试上限(1 000 ℃),无法观测到着火现象。以上结果证明,在井下煤尘聚集巷道采用设置75 μm粒径CaCO3岩粉棚方式可有效增大煤尘云TC,降低煤尘着火敏感性,减小煤尘爆炸事故概率。
(1)选取褐煤、长焰煤、不黏煤、气煤、焦煤、瘦煤、贫煤和无烟煤8种不同变质程度煤样,采用煤尘云最低着火温度测试装置,分析了煤尘云最低着火温度随煤样变质程度的变化规律:煤尘变质程度越低,受限高温空间内煤尘云越容易着火,煤尘云爆炸潜在危险性越大。分析认为Vad与TC关系曲线中存在的局部极大值现象主要是由长焰煤“水分抑制着火效应”导致的。通过对比Vad和FCad对TC的影响作用,证明煤尘云着火过程是可燃气相环境主导的。
(2)分析了不同煤质煤尘云最低着火温度随粒径变化规律:随着粒径在75 μm到25 μm范围内减小,8种煤质TC均不断减小,褐煤TC最大降幅最大,达18.6%,说明褐煤TC受粒径影响最大。通过建立TC与Vad,r三维拟合模型,发现Vad越大且r越小,则TC越小,即越容易着火。得到8种煤质TC的“敏感粒径区间”,在各自“敏感粒径区间”内TC降幅最大的是褐煤,降幅最小的是无烟煤。
(3)分析了8种煤质煤尘云最低着火温度随混入惰性岩粉量的衰减规律:褐煤、长焰煤、不黏煤、气煤与焦煤在k0=30%,瘦煤与贫煤在k0=20%,无烟煤在k0=10%时TC超出测试上限(1 000 ℃),证明混入75 μm的CaCO3岩粉对8种煤质煤尘云着火现象均有明显抑制作用。
参考文献:(References)
[1] 金龙哲.矿井粉尘防治理论[M].北京:科学出版社,2010.
[2] 王德明.煤矿热动力灾害及特性[J].煤炭学报,2018,43(1):137-142.
WANG Deming.Thermodynamic disaster in coal mine and its characteristics[J].Journal of China Coal Society,2018,43(1):137-142.
[3] 王连聪,梁运涛,罗海珠.我国矿井热动力灾害理论研究进展与展望[J].煤炭科学技术,2018,46(7):1-9.
WANG Liancong,LIANG Yuntao,LUO Haizhu.Research progress and outlook on theory of thermodynamic disaster of coal mine in China[J].Coal Science and Technology,2018,46(7):1-9.
[4] EMMANUEL A,DIETER G,ULRICH K.Experimental investigation on the minimum ignition temperature of hybrid mixtures of dusts and gases or solvents[J].Journal of Hazardous Materials,2016,301(4):314-426.
[5] 李海涛,陈晓坤,邓军,等.湍流状态下竖直管道内甲烷-煤尘预混特征及爆炸过程数值模拟[J].煤炭学报,2018,43(6):1769-1779.
LI Haitao,CHEN Xiaokun,DENG Jun,et al.Numerical simulation on the premix properties and explosion process of methane/coal dust mixture in a vertical pipeline under turbulent flow[J].Journal of China Coal Society,2018,43(6):1769-1779.
[6] 刘贞堂,张松山,喜润泽,等.受限空间煤尘爆炸残留气体特征分析[J].煤炭学报,2015,40(7):1574-1579.
LIU Zhentang,ZHANG Songshan,XI Runze,et al.Analysis on residual gas characteristics of coal dust explosion in confined space[J].Journal of China Coal Society,2015,40(7):1574-1579.
[7] 刘丹,司荣军.冲击气流诱导对沉积煤尘参与瓦斯爆炸的试验研究[J].煤炭科学技术,2014,42(11):46-49.
LIU Dan,SI Rongjun.Experimental study on gas explosion with deposited coal dust induced by impact flow[J].Coal Science and Technology,2014,42(11):46-49.
[8] 钟英鹏,徐冬,李刚,等.镁粉尘云最低着火温度的实验测试[J].爆炸与冲击,2009,29(4):429-433.
ZHONG Yingpeng,XU Dong,LI Gang,et al.Measurement of minimum ignition temperature for magnesium dust cloud[J].Explosion and Shock Waves,2009,29(4):429-433.
[9] 庞磊,马冉,高建村,等.粉尘云最低着火温度的粒径尺度效应[J].中国粉体技术,2017,23(1):68-70.
PANG Lei,MA Ran,GAO Jiancun,et al.Effect of particle size on minimum ignition temperature of dust cloud[J].China Powder Science and Technology,2017,23(1):68-70.
[10] 庞磊,马冉,高建村,等.粉尘云浓度对HDPE粉尘云最低着火温度的影响[J].中国安全生产科学技术,2017,13(5):5-9.
PANG Lei,MA,Ran,GAO Jiancun,et al.Effect of concentration of dust cloud on minimum ignition temperature of HDPE dust cloud[J].Journal of Safety Science and Technology,2017,13(5):5-9.
[11] 赵江平,万杭炜.桑木粉尘最低着火温度的试验研究[J].中国安全科学学报,2017,27(12):26-31.
ZHAO Jiangping,WAN Hangwei.Experimental study on minimum ignition temperature of mulberry wood dust[J].China Safety Science Journal,2017,27(12):26-31.
[12] 王庆慧,袁帅,卫园梦,等.基于交互正交实验的玉米淀粉粉尘云最低着火温度的影响因素研究[J].爆炸与冲击,2019,39(5):146-152.
WANG Qinghui,YUAN Shuai,WEI Yuanmeng,et al.On factors affecting minimum ignition temperature of corn starch dust cloud based on interactive orthogonal experiment[J].Explosion and Shock Waves,2019,39(5):146-152.
[13] 任瑞娥.可燃粉尘最低着火温度的测试研究[D].太原:中北大学,2015.
[14] 王翠萍,赵发宝.煤质分析及煤化工产品检测[M].北京:化学工业出版社,2009.
LIU Tianqi
(School of Safety Engineering,Shenyang Aerospace University,Shenyang 110136,China)
Abstract:In order to research the minimum ignition temperature variation law of coal dust cloud with different coal quality,eight coal samples including lignite,long-flame coal,non-caking coal,gas coal,charred coal,lean coal,meagre coal and anthracite were selected to analyze the minimum ignition temperature variation laws of coal dust cloud with metamorphism degree,particle size and mixing inert rock powder proportion by use of the minimum ignition temperature testing device of coal dust cloud.The research results show that:① The lower the metamorphism degree is,the more easily the coal dust cloud in a restricted high temperature space catches fire,and the greater the potential explosion danger is.The coal dust cloud ignition process is dominated by flammable gas phase environment.② With the particle size decreasing from 75 μm to 25 μm,the minimum ignition temperature of coal dust cloud of eight coal quality decreases continuously,and the largest drop of the minimum ignition temperature of lignite dust cloud is the largest of 18.6%,which indicates that lignite dust cloud is the most affected by particle size.The larger the air dried basis is and the smaller the particle size of coal dust is,the more easily the coal dust cloud catches fire.In "sensitive particle size range",the minimum ignition temperature of lignite dust cloud decreased the most by 8.47%.③ Mixing inert CaCO3rock powder with different proportions into eight coal dust has a significant inhibitory effect on coal dust cloud ignition.
Key words:coal dust explosion;coal dust cloud ignition;the minimum ignition temperature;metamorphism degree of coal dust cloud;particle size of coal dust;inert rock powder
文章编号:1671-251X(2019)09-0080-06
DOI:10.13272/j.issn.1671-251x.2018120078
收稿日期:2018-12-28;修回日期:2019-08-16;责任编辑:李明。
基金项目:国家自然科学基金资助项目(51774168,51675133);辽宁省教育厅青年科技人才“育苗”项目(JYT19038);沈阳航空航天大学引进人才科研启动基金项目(18YB25)。
作者简介:刘天奇(1990-),男,辽宁沈阳人,讲师,博士,主要从事工业气体粉尘爆炸动力学研究工作,E-mail:liutianqi613@163.com。
引用格式:刘天奇.不同煤质煤尘云最低着火温度变化规律研究[J].工矿自动化,2019,45(9):80-85.
LIU Tianqi.Research on the minimum ignition temperature variation law of coal dust cloud with different coal quality[J].Industry and Mine Automation,2019,45(9):80-85.
中图分类号:TD714.5
文献标志码:A