骆铁楠
(安标国家矿用产品安全标志中心有限公司, 北京 100013)
摘要:针对现有刮板输送机圆环链张力检测方法采用有线方式无法实时检测圆环链张力的问题,设计了一种基于RFID的刮板输送机圆环链无线张力传感器。该传感器选用电阻应变片作为敏感元件,通过电桥式应变测量电路将应变片检测到的应变信号转换为与圆环链张力相关的电压信号,电压信号经放大、滤波等调理后送入无线射频芯片nRF24LE1,通过nRF24LE1的无线发射模块发送到无线采集分站,实现对圆环链张力的实时检测与数据无线传输;根据实时检测到的圆环链张力及张力变化情况,可以判断圆环链的松紧程度,有效预测与准确判定圆环链的断链故障。实验结果验证了该传感器的可靠性。
关键词:刮板输送机;圆环链;张力检测;无线张力传感器;电阻应变测量;RFID
中图分类号:TD634.2
文献标志码:A
网络出版地址:http://kns.cnki.net/kcms/detail/32.1627.TP.20180823.0840.003.html
LUO Tienan
(Mining Products Safety Approval and Certification Center, Beijing 100013, China)
Abstract:In view of problem that existing tension measuring methods of round link chain of scraper conveyor could not detect tension of round link chain in real time by using wired method, a wireless tension sensor of round link chain of scraper conveyor based on RFID was designed. The sensor uses resistance strain gauge as sensitive element, strain signal detected by resistance strain gauge is converted to voltage signal relating to tension signal through bridge strain measurement circuit. The voltage signal is sent to nRF24LE1 after being magnified and filtered, and then it is sent to wireless collection substation by wireless transmission module of nRF24LE1, so as to realize real time wireless measurement of tension of the round link chain and the data wireless transmission. According to the real time tension and tension changes situation of round link chain, the sensor can judge the degree of tightness of round link chain, and can effectively forecast and truly determine broken chain fault. The experimental results verify the reliability of the sensor.
Key words:scraper conveyor; round link chain; tension detection; wireless tension sensor; resistance strain measurement; RFID
文章编号:1671-251X(2018)09-0077-07 DOI:10.13272/j.issn.1671-251x.2018050093
收稿日期:2018-05-29;
修回日期:2018-08-10;
责任编辑:张强。
作者简介:骆铁楠(1984-),男,北京人,助理研究员,主要从事矿用产品安全标志认证工作,E-mail:camel3172@163.com。
引用格式:骆铁楠.刮板输送机圆环链无线张力传感器研制[J].工矿自动化,2018,44(9):77-83.
LUO Tienan. Development of wireless tension sensor of round link chain of scraper conveyor[J].Industry and Mine Automation,2018,44(9):77-83.
刮板输送机是煤矿井下采煤工作面主要的生产运输设备,圆环链是刮板输送机中不可缺少的部分,同时也是刮板输送机中最薄弱的部分,圆环链在运行中会受到冲击、振动、拉伸等各种载荷的作用,随着运行轨迹的改变与负载的变化,圆环链经周期性的冲击载荷与静态载荷长时间地反复作用[1-2],极易发生疲劳断裂、跳链或掉链等故障[3-4],这些故障的发生均与张力相关。因此,对圆环链张力进行监测具有重大意义。
国内外学者对圆环链的张力进行了大量的理论分析及间接的推导计算,如郭忠[5]对链轮和链条啮合的冲击载荷进行了仿真分析,闵希春等[6]通过有限元分析得出圆环链的最大应力主要集中在链环的圆弧内侧,何柏岩等[7]通过圆环链传动系统动力学分析得出在各种工况下链条张力的信息,李国平等[8]以间接的方式通过检测液压缸内液体压力推导出圆环链的张力,徐广明等[9]分析了链条张力的分布,设计了一种最大张力的简单算法,乔日华等[10]通过链条伸长量和预张力的检测分析得出链条的工作状态,但要根据圆环链的运行状况进行人工修正。以上张力监测方法均未对圆环链的张力进行直接、准确的计算,测量数据都是采用有线传输方式进行传输,但圆环链是运动的,采用有线方式无法实时检测到其张力。
针对现有张力检测方法存在的问题,本文以nRF24LE1无线射频芯片、HX711程控放大与数模转换芯片、单片机为核心,结合CAN总线,研制了基于RFID的刮板输送机圆环链无线张力传感器,实现对刮板输送机圆环链张力的实时检测和无线传输。根据实时检测到的圆环链张力,不仅可以准确判断圆环链的松紧程度,保证圆环链的正常工作,还可以有效预测断链故障。
基于应变测量技术,通过电桥电路完成圆环链张力信号的采集,张力信号经调理电路转换为可识别的标准电压信号。
由于圆环链长期受动载荷作用,应力状态是单方向的轴向拉应力,所以,应选用疲劳寿命较长的单轴应变片。此外,圆环链的张力测量在较高的温度下进行,为避免温度产生的误差[11],应在应变电路中加入温度自补偿应变片。本文选用BFH120-3AA型箔式电阻应变片作为无线张力传感器的敏感元件。BFH120-3AA型箔式电阻应变片采用进口康铜作为敏感栅的材料,其灵敏系数在弹性形变范围内可以保持常数,进入塑性变形范围内仍基本能够保持常数,测量范围较大,保证了应变采集的可靠性;康铜的电阻温度系数小且稳定,能减小由温度产生的误差。
通过应变电测法测得被测圆环链上的轴向应变ε,然后根据张力和应变之间的数学关系计算出张力值。根据材料力学的相关知识,可知应力σ、应变ε与材料弹性模量E三者之间存在如下关系:
σ=εE
(1)
圆环链的材料弹性模量E可查,根据式(1)可求得圆环链的轴向应力σ。将轴向应力理解为圆环链的某一法向截面上的压强,圆环链所受张力的方向也为轴向,则张力F可表示为
F=σS
(2)
式中S为圆环链的法向截面面积。
圆环链的直径d为已知,可求得法向截面面积S为
S=0.25πd2
(3)
联立式(1)—式(3),可得式(4),即张力-应变的数学关系:
F=0.25πd2εE
(4)
在实际运行过程中,圆环链是连续运动的,只有采用无线方式才能传输电阻应变法检测到的圆环链张力值。常用的短距离无线通信方式有红外、蓝牙、RFID、ZigBee、WiFi等,考虑到通信的实时性和可靠性,本文选用RFID通信方式。
采用nRF24LE1芯片实现张力信号的无线发送,以LPC1768作为接收分站核心,负责接收数据,接收到的数据通过CAN总线传输至以太网,利用计算机实现圆环链张力信号的分析与诊断。LPC1768与nRF24LE1的信号传输如图1所示。

图1 LPC1768与nRF24LE1的信号传输
Fig.1 Signal transmission of LPC1768 and nRF24LE1
圆环链无线张力传感器与圆环链和刮板一起在刮板输送机的中部槽中运行,应变片粘贴在圆环链的内侧,通过电桥式应变测量电路,将应变片检测到的应变信号转换为与张力相关的电压信号,电压信号经放大、滤波等调理后送入nRF24LE1的AD转换模块,AD转换后的数字信号经调制后,通过nRF24LE1的无线发射模块发送到无线采集分站,实现对圆环链张力的实时检测与无线传输。传感器发出的张力信号经布置在刮板输送机沿线的无线采集分站接收,根据无线采集分站的位置和传感器发出的张力信号,得到刮板输送机在不同工作位置和不同工作状态下圆环链张力的变化情况。
正常工作时,刮板输送机圆环链的张力在一个合理的范围内,当实时检测到的张力不在此范围内时,即可认为是圆环链出现了问题。当实时检测到的张力值高于此范围,可判断圆环链太紧,需要松链。当实时检测到的张力值低于此范围,可判断圆环链太松,需要紧链。当实时检测到的张力值突然变小,接近零时,说明发生了断链事故。
圆环链在刮板输送机中的工作状态分为中部槽中运动阶段、机头链轮牵引阶段、机尾链轮牵引阶段。其中,机头和机尾牵引阶段干涉最多,只要这2个阶段没有影响,其他部分均不会有影响。圆环链在机头和机尾的牵引运动如图2所示。


图2 圆环链在机头和机尾的牵引运动
Fig.2 Traction motion of round link chain at head and tail of scraper conveyor
(1) 硬件设计:选用电阻应变片作为传感器的敏感元件,结合应变测量技术,通过电桥电路完成圆环链张力信号的采集。张力信号经信号调理电路转换为可识别的标准电压信号。整个传感器的核心是具有高集成度的HX711芯片,可实现信号的模数转换和数据采集。nRF24LE1无线射频芯片内部集成了8051内核的微处理器,是传感器的主控制器,芯片内部的射频收发器nRF24L01可实现数据的无线传输。由于无线张力传感器在井下作业,所以,其电源模块必须满足本质安全的防爆要求。本文同时也对无线张力传感器的结构进行了设计。
(2) 软件设计:完成工作模式选择、数据采集程序和无线发送程序的编写和调试。
圆环链无线张力传感器总体设计方案如图3所示。

图3 圆环链无线张力传感器总体设计方案
Fig.3 Design scheme of wireless tension sensor of round link chain
圆环链无线张力传感器硬件主要由应变测量电路(应变片和电桥电路)、信号调理电路、数据采集电路、无线发射模块和本安电源模块5个部分组成,如图4所示。

图4 圆环链无线张力传感器硬件总体结构
Fig.4 The overall structure of hardware of wireless tension sensor of round link chain
2.3.1 应变测量电路
考虑到圆环链在额定工况下只受拉应力的作用,没有弯曲、扭转等形式的作用,本文将应变片粘贴在圆环链立环中间直臂部分的内侧(每个直臂上粘贴一片应变片),具体位置如图5所示。

1-圆环链平环(剖视图);2-圆环链立环;3-应变片
图5 应变片粘贴位置
Fig.5 Strain gauges pasted position
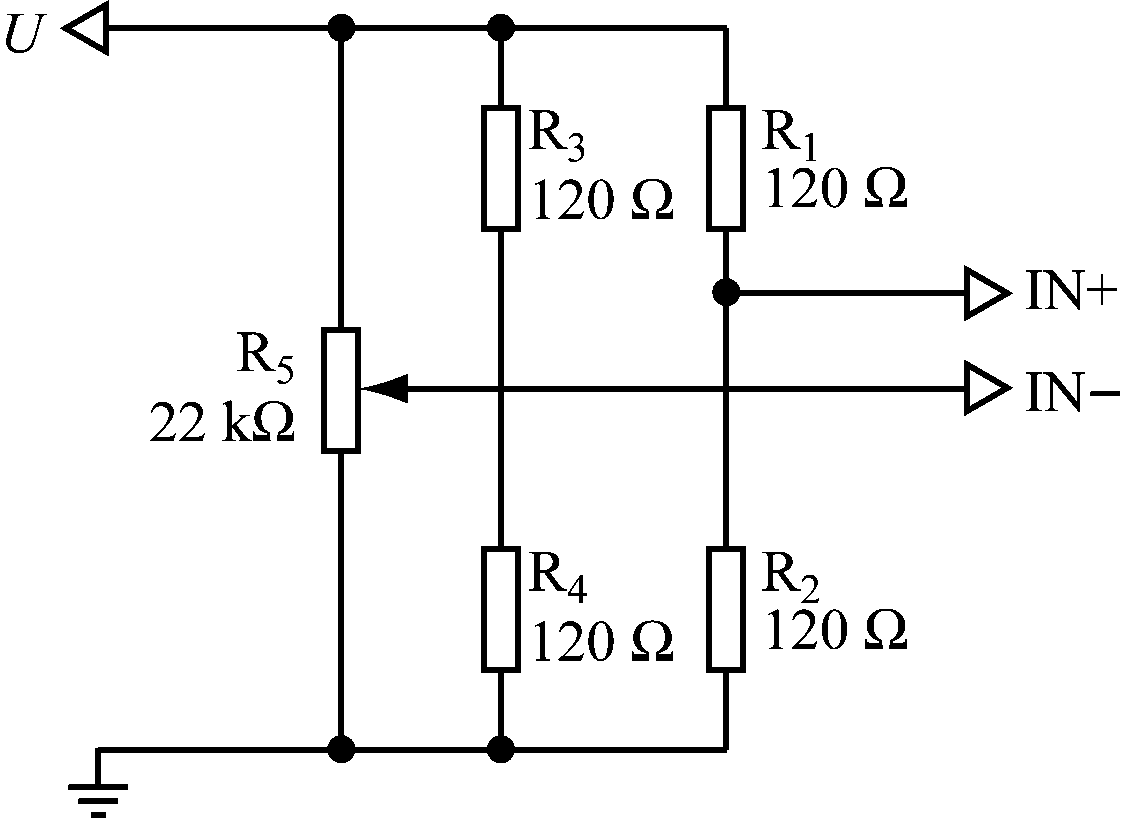
为提高测量精度和稳定性,简化设计结构,降低成本,结合链传动和交变动载荷的特点,本文采用灵敏度较高、有温度自补偿功能的半桥电路作为圆环链无线张力传感器的测量电路,如图6所示。

图6 半桥电路
Fig.6 Half-bridge circuit
在测量圆环链张力的过程中,应变片检测到的应变信号幅值通常较小,输出电压会因实际测量时信号线路的差异发生漂移。本文的解决方法是在应变电桥接入一个阻值为22 kΩ的调零电位器R5。测量张力前需人工调整R5的阻值,使电桥的输出电压归零。
2.3.2 信号调理与数据采集电路
应变片受到张力产生应变,电桥电路将应变信号转换成电压信号,该信号通常很微弱,一般仅为毫伏级,且信号的动态范围较大,还伴有很大的共模干扰成分。为准确测量圆环链上的低频张力信号,本文采用集成度高、响应速度快、抗干扰性强的HX711芯片实现对微弱电压信号的精确处理。数据采集原理如图7所示。

图7 数据采集原理
Fig.7 Principle of data acquisition
敏感元件紧密地粘接在圆环链中间的圆柱段,通过检测应变片的应变可以计算出圆环链所受的张力。转换电路采用半桥电路,再经过放大滤波后送入nRF24LE1的AD转换部分,通过GFSK(高斯频移键控)的信号调制方式对AD转换后的数字信号进行调制后,由nRF24LE1的无线发射部分发射出去。圆环链无线张力传感器发射出的信号被无线采集分站接收,经解调和处理后,可以得到圆环链的张力信息。
2.3.3 无线发射模块
无线发射模块是无线张力传感器的核心。本文设计的无线张力传感器采用电池供电。考虑到要尽可能降低传感器功耗,提高传感器的续航能力,并且传感器安装在圆环链内侧的狭小空间,还要满足无线张力传感器与无线采集分站之间的通信距离,所以,本文采用超低功耗、电路简单、传输距离远的nRF24LE1无线射频芯片。
2.3.4 本安电源模块
无线张力传感器用于煤矿井下,其电源模块必须满足本质安全型电路的设计要求。为了能够准确测量圆环链的张力,张力传感器应与圆环链连接在一起工作,且不能影响刮板输送机的正常工作,故电源模块的尺寸应尽可能小。本文选用与普通7号电池体积相同、输出电压为3.7 V、容量为800 mA·h的10440型锂离子蓄电池作为传感器的电源,采用串联保护器、过流保护板、PTC+限流电阻的本安化处理方案[12],以达到矿用ia级。
2.3.5 结构设计
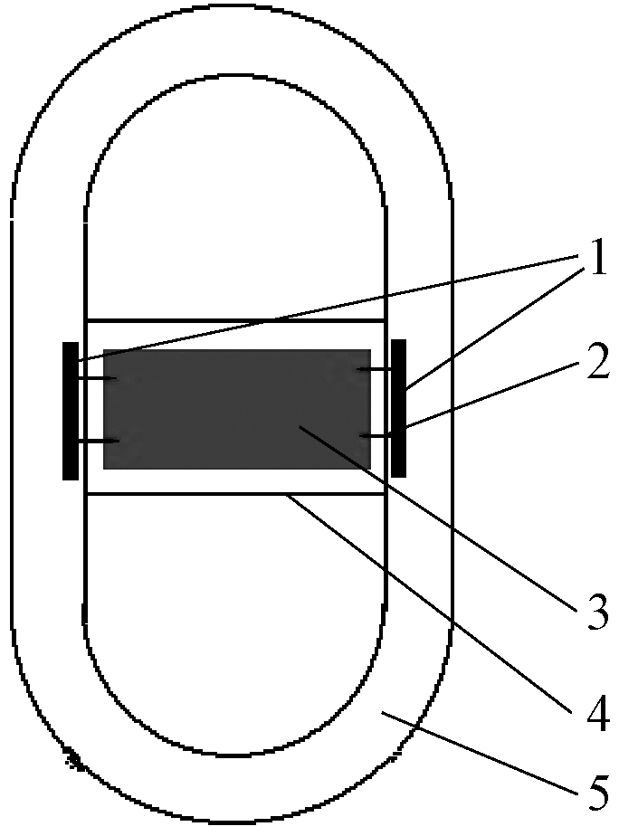
根据对上述硬件各组成模块的分析与设计,为保证测量的准确性与可靠性,将半导体应变片紧密地粘接在圆环链中间的圆柱段,在圆环链中间的2个圆柱段内侧分别粘贴2片半导体应变片,作为无线张力传感器的敏感元件。其余的转换电路、调理电路、发射模块和电源固定安装在圆环链的中部,整个圆环链无线张力传感器的结构如图8所示。

1-半导体应变片(4片);2-连接线(4对);3-电路与电源;4-密封外壳;5-圆环链
图8 传感器结构
Fig.8 Structure of the sensor
2.4.1 工作模式选择
nRF24LE1无线射频芯片共有发射、接收、掉电及待机4种工作模式。通过设置PWR_ UP、PRIM_RX、RFCE三个管脚的状态来选择相应的工作模式,见表1。nRF24LE1共有Shock-BrustTM、Enhanced Shock-BrustTM两种收发模式。本文选择Enhanced Shock-BrustTM收发模式,该模式比Shock-BrustTM多了一个确认数字数据传输的信号,可以保证数据传输的可靠性。
表1 nRF24LE1工作模式
Table 1 Working mode of nRF24LE1

当nRF24LE1发送数据时,通过置高PWR_ UP,置低PRIM_RX,且TX FIFO不为空,RFCE置高10 μs后置低进入发射模式;接收数据时,同时置高PWR_ UP,PRIM_RX,RFCE即进入接收模式,并在此模式下进行解调。
2.4.2 数据采集程序
传感器只需采集1路模拟信号,由于HX711自带AD转换器,输入选择开关可任意选取通道A或通道B,所以满足功能要求。传感器采集到应变模拟信号后通过电桥转换为电压信号,电压信号经调理电路与AD转换后转换成数字信号,最后传给nRF24LE1内置的8051内核,实现数据的采集。
2.4.3 无线发送程序
无线发送程序完成对采集后的有效张力信号的发送。由nRF24LE1内置的8051内核中的MCU控制片内的射频收发器nRF24L01实现数据发送。为保证数据在发送过程中不被信号干扰,采用载波监听的方法,即确保传输介质中没有相同频率的信号后再发送数据,此方法可以提高通信的可靠性。无线发送程序流程如图9所示。
在实验室环境下,用拉力试验机加载不同大小的拉力模拟圆环链上的张力,用与圆环链材料相同的拉力试件代替圆环链,对无线张力传感器进行测试。实验包括应变电测实验和无线通信调试。
应变电测实验验证加载在试件上的拉力F与应变电桥经信号调理电路的输出电压U是否呈线性关系,即验证应变信号转换为电压信号是否超差。3次应变电测实验测量数据见表2。

图9 无线发送程序流程
Fig.9 Flow of wireless transmission program
表2 应变电测实验测量数据
Table 2 Data of strain measurement experiment

根据实验测量数据,在Matlab环境下绘制加载拉力与输出电压的实际特性分布图,并对数据进行线性拟合,如图10所示。

图10 加载拉力与输出电压线性拟合曲线
Fig.10 Linear fitting curve of loading tension and output voltage
由图10可知,信号调理电路的输出电压与试件上加载拉力的线性拟合曲线接近于直线,线性拟合效果较好。
无线通信调试验证点对点无线通信的稳定性与无线张力传感器的测量精度。将模拟的无线采集分站分别放置在实验室内(室内环境相对空旷)和实验室的隔壁间(存在墙壁阻挡)进行测试。无线张力传感器与无线采集分站之间的无线通信质量测试结果见表3。
表3 无线通信质量测试结果
Table 3 Test results of quality of wireless communication

由表3可知,在空旷的环境中,10 m以内信号较强,无线通信较为稳定;在有障碍物干扰(如墙壁)的情况下,信号明显减弱,无线通信的稳定性较差。
由于拉力试验机加载某一定值张力后,拉力仍然会存在小范围波动,致使传感器测量的张力值也在某一区间内波动。用接收数据的算术平均值来代表传感器的测量值,然后计算测量值与实际加载拉力值的误差,见表4。由表4可知,传感器的测量值与实际加载拉力值的差稳定在-0.131~+0.122 kN,误差较小,满足测量精度的要求。
(1) 根据应变电测技术、RFID无线射频技术,结合实际工况与测量要求,研制了基于RFID的刮板输送机圆环链无线张力传感器。该传感器利用电桥式应变测量电路,将应变片检测到的应变信号转换为与圆环链张力相关的电压信号,电压信号经放大、滤波等调理后送入nRF24LE1的AD转换模块,AD转换后的数字信号经调制后,通过nRF24LE1的无线发射模块发送到无线采集分站,实现对圆环链张力的实时检测与无线传输。测试结果表明,该传感器在空旷环境中,10 m以内无线信号较强,无线通信较为稳定;在有障碍物干扰(如墙壁)的情况下,信号明显减弱,无线通信的稳定性较差,可通过增大信号强度、降低电磁干扰、减少障碍物等措施解决;传感器的测量值与实际加载拉力值的差稳定在-0.131~+0.122 kN,误差较小,满足应用要求。
表4 测量值与误差
Table 4 Measurements and error kN

(2) 该传感器可根据实时检测到的圆环链张力及张力变化情况判断圆环链的松紧程度,有效预测与准确判定圆环链的断链故障。
(3) 考虑到井下复杂的电磁环境,如何消除电磁干扰对传感器的影响,确保无线通信的稳定性,将是后续研究需解决的问题。
参考文献(References):
[1] 王云敏.刮板输送机常见故障与预防处理方法[J].煤炭技术,2009,28(1):24-25.
WANG Yunmin.Drag conveyor common fault prevention and treatment[J].Coal Technology,2009,28(1):24-25.
[2] 张春芝.刮板输送机动力学建模及链环疲劳可靠性研究[D].北京:中国矿业大学(北京),2012.
[3] 毛君,褚德英,汝长青.基于Pro/Engineer的刮板输送机三维动态仿真与优化设计[J].煤炭科学技术,2003,31(12):8-11.
MAO Jun,CHU Deying,RU Changqing.Three dimension dynamic simulation and optimized design of scraper conveyer with Pro/Engineer[J].Coal Science and Technology,2003,31(12):8-11.
[4] 毛君,师建国,张东升,等.重型刮板输送机动力建模与仿真[J].煤炭学报,2008,33(1):103-106.
MAO Jun,SHI Jianguo,ZHANG Dongsheng,et al.Dynamic modeling and simulation of heavy scraper conveyor[J].Journal of China Coal Society,2008,33(1):103-106.
[5] 郭忠.刮板输送机链轮链条啮合特性仿真研究[D].西安:西安科技大学,2011.
[6] 闵希春,杨广衍,吴宏涛,等.基于ANSYS的刮板输送机圆环链的有限元分析[J].机械设计与制造,2011(6):106-107.
MIN Xichun,YANG Guangyan,WU Hongtao,et al.Finite element analysis for round link chains of scraper conveyor based on ANSYS[J].Machinery Design & Manufacture,2011(6):106-107.
[7] 何柏岩,孙阳辉,聂锐,等.矿用刮板输送机圆环链传动系统动力学行为研究[J].机械工程学报,2012,48(17):50-56.
HE Baiyan,SUN Yanghui,NIE Rui,et al.Dynamic behavior analysis on the ring chain transmission system of an armoured face conveyor[J].Journal of Mechanical Engineering,2012,48(17):50-56.
[8] 李国平,冀贵,禹芝根.刮板输送机成套设备综合监控系统研究[J].煤矿机械,2010,31(11):134-135.
LI Guoping,JI Gui,YU Zhigen.Research on integrated monitoring system of complete equipment for scraper conveyor[J].Coal Mine Machinery,2010,31(11):134-135.
[9] 徐广明,毛君.刮板输送机链条张力分析与计算研究[J].煤矿机械,2007,28(7):1-2.
XU Guangming,MAO Jun.Research of tension analyzing and calculating of chains for scraper conveyor[J].Coal Mine Machinery,2007,28(7):1-2.
[10] 乔日华,刘混举,梁健.超重型刮板输送机刮板链的状态检测技术[J].机械工程与自动化,2010(5):190-191.
QIAO Rihua,LIU Hunju,LIANG Jian.State detection of extra-heavy-duty scraper conveyor chain[J].Mechanical Engineering & Automation,2010(5):190-191.
[11] 滑广军,王建强,徐东喜,等.应变温度补偿方法的改进[J].湖南工业大学学报,2008,22(2):74-77.
HUA Guangjun,WANG Jianqiang,XU Dongxi,et al.Improvement of the temperature compensating method in strain gage measurement[J].Journal of Hunan University of Technology,2008,22(2):74-77.
[12] 霍音佳,顾义东.一种带定位标识卡的本质安全型矿灯设计[J].工矿自动化,2013,39(10):104-106.
HUO Yinjia,GU Yidong.Design of a type of intrinsic safety miner lamp with identification card[J].Industry and Mine Automation,2013,39(10):104-106.