魏引尚1,2, 贾玉泉1, 王奕博1, 董丁稳1
(1.西安科技大学 安全科学与工程学院, 陕西 西安 710054; 2.西安科技大学 教育部西部矿井开采及灾害防治重点实验室, 陕西 西安 710054)
摘要:针对现有矿井通风系统控制未从通风系统整体角度考虑的问题,基于矿井通风系统结构及风量分布特征,提出了一种矿井通风系统分级控制方法。首先,通过比较通风状况参数的实时采集值和安全设定值,得出各用风地点通风状况参数偏差量;然后,利用自动纠偏控制器对偏差量进行在线整定和修改,并通过PID控制器获得通风状态调整参数;最后,智能控制模块根据通风状态调整参数,分别控制主要通风机供电模块的变频器、电动风门、压风管路末端的充气式气囊,实现全矿风量控制、采区风量控制、工作面风量控制3个层次的风量动态调节。该控制方法满足通风系统内风量循序、系统、连贯地调控要求。
关键词:矿井通风系统; 风量分级控制; 全矿风量控制; 采区风量控制; 工作面风量控制
中图分类号:TD67/724
文献标志码:A
文章编号:1671-251X(2018)12-0030-04
DOI:10.13272/j.issn.1671-251x.2018050017
网络出版地址:http://kns.cnki.net/kcms/detail/32.1627.TP.20181128.1010.002.html
收稿日期:2018-05-05;
修回日期:2018-11-15;
责任编辑:盛男。
基金项目:国家自然科学基金资助项目(51674188)。
作者简介:魏引尚(1966-),男,陕西富平人,教授,博士,主要研究方向为矿井通风系统安全分析与评价、瓦斯积聚危险不确定性分析,E-mail:947638750@qq.com。
引用格式:魏引尚,贾玉泉,王奕博,等.矿井通风系统分级控制研究[J].工矿自动化,2018,44(12):30-33.
WEI Yinshang,JIA Yuquan,WANG Yibo,et al.Research on grading control of mine ventilation system[J].Industry and Mine Automation,2018,44(12):30-33.
WEI Yinshang1,2, JIA Yuquan1, WANG Yibo1, DONG Dingwen1
(1.College of Safety Science and Engineering, Xi'an University of Science and Technology, Xi'an 710054, China; 2.Key Laboratory of Western Mine Exploitation and Hazard Prevention, Ministry of Education, Xi'an University of Science and Technology, Xi'an 710054, China)
Abstract:In view of problem that present mine ventilation system control had not been considered from overall perspective of ventilation system, a grading control method of mine ventilation system was proposed based on structure of mine ventilation system and air volume distribution characteristics. Firstly, deviation value of ventilation condition parameters of each ventilation location is obtained by comparing real-time acquisition value and safety setting value of the ventilation condition parameters. Then the deviation value is online adjusted and modified by use of automatic correction controller, which is transmitted to PID controller to obtain ventilation condition adjustment parameters. At last, frequency converter of main fan power supply module, electric air door and air-filled air bag at the end of compressed air pipeline are respectively controlled by intelligent control module according to the ventilation condition adjustment parameters, so as to realize dynamic adjustment of air volume at three levels, which are air volume control of whole mine, air volume control of mining area and air volume control of working face. The control method meets requirements of sequential, systematic and coherent regulation of air volume in ventilation system.
Key words:mine ventilation system; air volume grading control; air volume control of whole mine; air volume control of mining area; air volume control of working face
由于矿井类型及开采技术条件复杂多变,矿井通风过程中存在漏风、风流短路、污风循环、无风死角等安全隐患[1],严重影响矿井通风系统的稳定性。矿井通风系统控制作为保障矿井安全生产、保护井下作业人员生命安全、防治井下灾害事故的一项重要措施,对矿井通风安全状况具有全局性影响[2-3]。众多专家对矿井通风系统控制进行了研究:I. Turchenko等[4]和付华等[5]针对矿井通风系统非线性特性,分别提出采用非线性控制模型、模糊神经网络控制模型解决矿井通风系统控制的滞后性问题;D. Alexandru等[6-7]基于引射风流控制理论,应用康达气体引射器解决矿井通风系统中存在的气体积聚等风流调控难题;周志杨等[8]通过对矿用空气幕隔阻风流模型进行理论分析,提出应用多功能空气幕替代传统风流控制设施;马恒等[9]通过搭建小体积通风网络模型,并基于监测监控理论,开发了矿井通风自动控制系统。但上述通风系统控制未从通风系统整体角度考虑,对矿井风量实时调控效果不佳。本文基于矿井通风系统结构及风量分布特征,提出了一种矿井通风系统分级控制方法。
在矿井通风系统中,巷道内风流按其分叉和汇合的结构形式构成有向回路体系,由于巷道两端存在风压差,使风流在巷道内沿有向通路流动[10]。为直观反映巷道之间的连接关系及风流的分合关系,将巷道简化为有向线段,巷道交汇点简化为节点,由节点元素的有限集合和分支元素的有限集合构成有向图。
中国煤矿广泛采用抽出式通风方式,矿井通风系统内风流流动过程中遵循风量平衡定律、风压平衡定律和阻力定律,风流从高能量向低能量流动。全矿主要风量分布在总进风巷、总回风巷、主要进风巷、主要回风巷;采区风量集中在采区轨道巷、运输巷和专用回风巷;工作面风量小,形成空间分布较分散的弱风流。
在矿井采掘工程中,由于开采条件和通风系统管理的变化,巷道风阻、网络结构及各用风地点所需风量均随着工作面的推进和更替实时动态变化,要求及时进行矿井风量调节[11]。考虑到矿井通风系统具有非线性、多干扰等特性,且存在着参数时变和不确定性等因素,无法进行精确的建模计算[12],本文在结合当前控制领域常用的非线性控制、神经网络控制和模糊控制的基础上,提出了以下井下巷道风量控制准则。
(1) 根据《煤矿安全规程》规定,基于对矿井整个开采年限内各个时期通风要求和矿井开拓方式及采区巷道布置的综合考虑,根据矿井通风设计和风量核定方法,对井下回采工作面、掘进工作面、硐室及其他巷道需风量进行主动性分配。
(2) 基于各用风地点需风量,在井下各个通风巷道都有相匹配的风量,这称为井下巷道有效风量。在矿井正常的开采和开拓中,无论井下用风地点或通风巷道,只要实际通风量偏离有效风量,都会造成安全隐患。因此,需要对偏离风量及时进行自动纠正。由于矿井通风系统风量分布呈阶梯分级特征,决定了局部或少量的风量调节,需要沿有向通路顺序调整。
矿井通风系统结构及风量分布特征决定了风量控制分为全矿风量控制、采区风量控制及工作面风量控制3个层次,即全矿风量由主要通风机供电模块的变频器控制,采区风量由电动风门控制,工作面风量由安装在压风管路末端的充气式气囊控制。
矿井通风系统分级控制原理如图1所示。通过安全监测监控系统实时采集矿井瓦斯浓度、温湿度、风速、风压等能反映通风状况的相关参数,并与各用风地点瓦斯浓度、温湿度、风速、风压等参数的安全设定值进行比较,得出各用风地点通风状况参数偏差量。利用自动纠偏控制器对偏差量进行在线整定和修改,以消除灾变时期风流紊乱造成的影响。根据在线整定和修改后的偏差量,通过PID控制器获得通风状态调整参数。智能控制模块根据通风状态调整参数,分别控制主要通风机供电模块的变频器、电动风门、压风管路末端的充气式气囊,实现矿井通风系统风量动态调节。

图1 矿井通风系统分级控制原理
Fig.1 Principle of grading control of mine ventilation system
矿井通风系统风量控制应根据系统性原则,沿有向通路对矿井通风系统中各分系统循序、系统、连贯地进行风量调整。
2.3.1 全矿风量控制策略
通过变频调速技术对主要通风机的工况进行自动调节,实现全矿风量的智能控制。具体实现:利用主要通风机供电模块中的变频器自动大范围地连续调节通风机转速[13],使其在最佳的工况条件下运转,以达到井下作业需风量。当需要减少风量时,通过降低电动机定子供电频率来降低主要通风机转速;当需要增加风量时,通过增加电动机定子供电频率来提高主要通风机转速。用变频器来驱动主要通风机的运行,不但能实现通风机的软启动和无级平滑调速[14],还可大大降低通风机能耗,节约电能。
2.3.2 采区风量控制策略
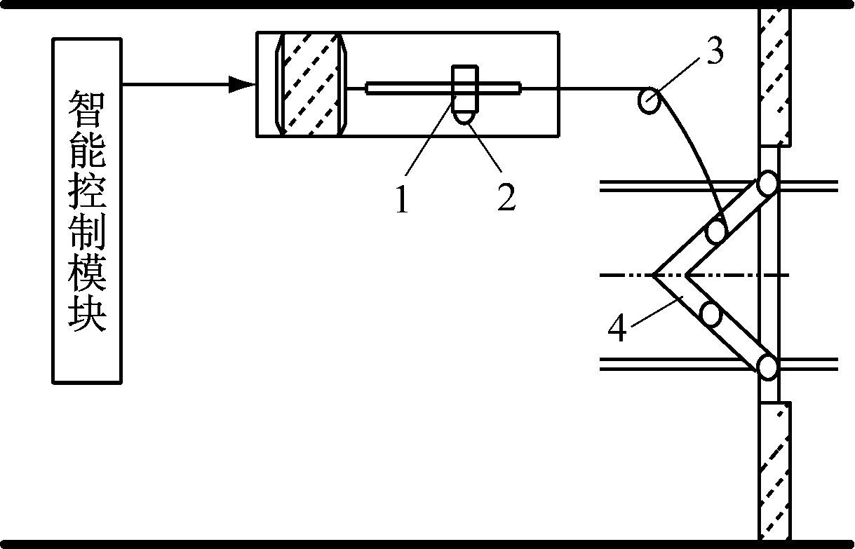
在采区主要回风巷安装电动风门,采用电动方式控制风门开启角度,进而控制采区风量。采区风量控制如图2所示,具体实现[15]:利用安装在电动风门前方风流稳定处巷道上方位置的风量、风速传感器监测巷道风流状况,利用位移传感器监测调节风门开启角度的导向滑轮伸缩量,监测结果同步反馈至智能控制模块,智能控制模块驱动电动风门滑块伸缩,自动实现风门开启角度的无震荡微变调节。采区风量控制策略不但能实现灾害时期的快速反风控制,而且可有效解决传统风门漏风严重及被频繁撞坏等问题。
2.3.3 工作面风量控制策略
在井下工作面回风巷中悬挂充气式气囊,采用

1—滑块; 2—位移传感器; 3—导向滑轮; 4—门扇
图2 采区风量控制
Fig.2 Air volume control of mining area
局部增阻调节法控制工作面风量。工作面风量控制如图3所示,具体实现:在矿井压风自救系统的压风管路末端连接1根支管,并通过支管与充气式气囊连接。当需要减少工作面风量时,打开压风管路阀门为充气式气囊供气,使其下落来增加巷道风阻;当需要增加工作面风量时,开启减压阀为充气式气囊排气,使其体积变小来减小巷道风阻。

1—压风管路;2—支管;3—压风管路阀门;
4—充气式气囊;5—减压阀
图3 工作面风量控制
Fig.3 Air volume control of working face
基于矿井通风系统结构及风量分布特征分析,从控制准则、控制原理及控制策略方面阐述了矿井通风系统分级控制。该控制分为全矿风量控制、采区风量控制及工作面风量控制3个层次,能够循序、系统、连贯地对各用风地点风量进行按需调控,实现通风系统内风量动态调节。
参考文献( References) :
[1] 王海宁.硐室型矿井风流调控技术[J].重庆大学学报(自然科学版),2012,35(5):126-131.
WANG Haining.Cavern type airflow control technology of mine[J].Journal of Chongqing University(Natural Science Edition),2012,35(5):126-131.
[2] XU Guang,JONG E C,LUXBACHER K D,et al.Effective utilization of tracer gas in characterization of underground mine ventilation networks[J].Process Safety & Environmental Protection,2016,99:1-10.
[3] 李敬兆,江洋.矿山分布式分级自治系统设计[J].工矿自动化,2018,44(5):20-25.
LI Jingzhao,JIANG Yang.Design of mine distributed hierarchical autonomous system[J].Industry and Mine Automation,2018,44(5):20-25.
[4] TURCHENKO I,KOCHAN V,SACHENKO A.Neural-based control of mine ventilation networks[C]//IEEE Workshop on Intelligent Data Acquisition and Advanced Computing Systems: Technology and Applications,Dortmund,2007:219-224.
[5] 付华,孙树生,许振良,等.基于模糊神经网络的信息融合方法在矿井供风系统中的应用[J].煤炭学报,2006,31(2):264-267.
FU Hua,SUN Shusheng,XU Zhenliang,et al.Application of the information fusion method in mine air supplying system based on fuzzy neural network[J].Journal of China Coal Society,2006,31(2):264-267.
[6] ALEXANDRU D,FLORIN F,HORIA D,et al.Numerical analysis of turbulent flow in a Coanda ejector[J].Pamm,2011,11(1):647-648.
[7] GARCIA DEL VALLE J,SIERRA-PALLARES J,GARCIA CARRASCAL P G,et al.An experimental and computational study of the flow pattern in a refrigerant ejector.Validation of turbulence models and real-gas effects[J].Applied Thermal Engineering,2015,89:795-811.
[8] 周志杨,晏江波,王海宁,等.多功能矿井风流调控设施的研究与应用[J].中国安全生产科学技术,2016,12(6):48-53.
ZHOU Zhiyang,YAN Jiangbo,WANG Haining,et al.Research and application of multi-function airflow adjustment and control facility in mine[J].Journal of Safety Science and Technology,2016,12(6):48-53.
[9] 马恒,赵丹,刘剑.矿井通风自动控制系统研究与开发[J].计算机工程与应用,2011,47(18):241-244.
MA Heng,ZHAO Dan,LIU Jian.Research and development of mine ventilation automatic control system[J].Computer Engineering and Applications,2011,47(18):241-244.
[10] 黄力波,刘彦伟,李志强,等.矿井通风网络图[J].河南理工大学学报(自然科学版),2002,21(1):11-14.
HUANG Libo,LIU Yanwei,LI Zhiqiang,et al.Study on mine ventilation network graph[J].Journal of Henan Polytechnic University(Natural Science),2002,21(1):11-14.
[11] 宋泽阳,李学创,齐文宇,等.矿井通风系统稳定性定量判定方法研究[J].中国安全科学学报,2011,21(9):119-124.
SONG Zeyang,LI Xuechuang,QI Wenyu,et al.An approach for quantificational determination of mine ventilation stability[J].China Safety Science Journal,2011,21(9):119-124.
[12] DU Xinhui,NIU Shu,WANG Xingmin,et al.Study on the modeling of main mine ventilator based on artificial intelligence[J].Applied Mechanics and Materials,2011,130/131/132/133/134:3526-3530.
[13] 吴新忠,任子晖,马小平,等.煤矿主要通风机在线监控系统研究现状及展望[J].煤炭科学技术,2009,37(12):54-57.
WU Xinzhong,REN Zihui,MA Xiaoping,et al.Research status and outlook of on-line monitoring and control system for mine main ventilator[J].Coal Science and Technology,2009,37(12):54-57.
[14] 赵忠杰,朱斌.变频调速在公路隧道通风控制中的应用[J].长安大学学报(自然科学版),2006,26(4):71-74.
ZHAO Zhongjie,ZHU Bin.Application of variable-frequency variable-voltage in highway tunnel ventilation control[J].Journal of Chang'an University(Natural Science Edition),2006,26(4):71-74.
[15] 李桂兰,王广云.煤矿井下风门自动控制系统的设计[J].煤炭工程,2008,40(6):42-43.
LI Guilan,WANG Guangyun.Designing of automatic mining shaft throttle control[J].Coal Engineering,2008,40(6):42-43.