王峰
(北京天地玛珂电液控制系统有限公司, 北京 100013)
摘要:针对液压支架液压系统存在控制精度差、支架推移步距不一致等问题,提出了一种液压支架精确推移控制方案。该方案通过引入推移控制逻辑阀,并优化电液控制系统自动推移控制流程,实现移架、推溜动作精确控制及销轴间隙自动消除功能。实验及现场应用结果表明,该方案提高了综采工作面液压支架自动推移控制精度,保证了支架推移步距的统一。
关键词:煤炭开采; 综采工作面; 液压支架; 精确推移; 推移控制逻辑阀
近年来,液压支架电液控制系统的应用呈快速上升趋势[1],尤其在各大煤炭生产集团集中开展“机械化换人”、“智能化减人”技术升级阶段,液压支架电液控制系统因其可大大提高煤炭生产效率和自动化程度、实现工作面快速推进的技术特点,成为先进的煤矿综采工作面自动化控制技术代表[2-6]。
由于支架液压系统本身具有控制滞后性,支架在自动控制过程中存在控制误差,现有综采工作面液压支架大多以跟机自动化控制为主,辅以人工就地干预调整[7]。但随着煤矿开采逐步向无人化方向发展,工作面支架工人数势必逐步减少,同时其职责将由就地操作转变为巡视检查。能否实现液压支架在生产过程中精确控制、保证工作面在连续推进过程中直线度控制水平,将影响综采工作面由机械化、自动化开采向智能化、无人化开采的发展[8-9]。因此,本文提出了一种液压支架精确推移控制方案,为综采工作面少人化、无人化开采技术应用奠定基础。
1.1 支架液压系统控制精度差
支架液压系统的控制技术主要分为阀控、泵控两大类,其中阀控液压系统存在节流损失大、能量效率低、对执行元件控制精度不高等问题,而采用无节流损失的泵控液压系统虽然能有效解决节能问题,但动态响应性差,特别是执行元件的鲁棒性一直得不到提高[10]。液压系统的不稳定性影响支架控制精度,制约了跟机自动化功能常态化应用[11-12] 。
1.2 支架推移步距不一致
为保证工作面推进过程中刮板输送机受力均匀,弯曲段平滑过渡,避免发生连接件过载断裂情况,液压支架推移千斤顶与刮板输送机连接铰合点之间存在销轴间隙,以便支架能够实现横向摆动及垂直抬升[13-14]。
工作面推移过程中液压支架与刮板输送机间销轴间隙状态如图1所示。1号支架处于未移架状态,其推移千斤顶与刮板输送机之间无销轴间隙,推移千斤顶对1号中部槽的支撑力充足;2号支架处于正在移架状态,其推移千斤顶与刮板输送机之间销轴间隙开始变大,移架作用力作用在2号中部槽上;3号支架已完成移架,其推移千斤顶与刮板输送机之间销轴间隙处于最大状态,推移千斤顶对3号中部槽无支撑力。

图1 工作面推移过程中支架与刮板输送机间销轴间隙状态
刮板输送机中部槽受力如图2所示。在实际生产过程中,已完成移架动作的3号支架与中部槽之间的销轴间隙使得3号中部槽的支撑力f3为零,导致3号中部槽的支撑力不足;当2号支架的移架作用力f0大于1号、2号、3号中部槽的支撑力f1,f2,f3的合力时,3号中部槽会被移架作用力拽向支架侧而发生位移。经过多个循环推进后,支架会出现较大的推移步距误差累积,进而影响工作面直线度[15]。

图2 刮板输送机中部槽受力
2.1 推移控制逻辑阀
为提高液压支架推移控制精度,改善支架液压系统中推移回路动态响应性,特别是执行元件的鲁棒性,设计了一种推移控制逻辑阀,其三维结构如图3所示。

图3 推移控制逻辑阀三维结构
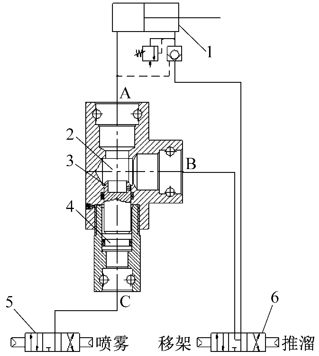
推移控制逻辑阀工作原理如图4所示。电液控换向阀未执行喷雾动作时,逻辑阀A,B口之间阀芯保持正常大孔连通工作状态,支架移架、推溜液压回路控制功能与未配置逻辑阀时的液压系统功能相同;电液控换向阀执行喷雾动作时,高压液体由C口进入逻辑阀,并推动进液阀杆向上运动,克服弹簧的作用力,使逻辑阀A,B口之间阀芯由大孔切换为小孔工作状态,实现支架移架、推溜液压回路节流供液控制。推移控制逻辑阀可根据现场不同应用条件对内部节流孔径进行调整,以便平衡移架速度与控制精度。

1-推移千斤顶;2-阀芯(设有节流孔);3-弹簧;4-进液阀杆;5-电液控换向阀(喷雾功能);6-电液控换向阀(推移功能);A-工作口1;B-工作口2;C-逻辑控制口
图4 推移控制逻辑阀工作原理
2.2 精确推移控制流程
配合支架液压系统配置的推移控制逻辑阀,电液控制系统通过优化自动推移程序控制流程,实现支架推移精确控制程序化运行。
优化后的自动推移精确控制流程如图5所示。在支架移架阶段,当支架推移行程达到设定的精确移架目标行程阈值时,开始执行逻辑控制动作(喷雾),配合移架动作实现精确移架控制,降低液压系统控制滞后性引起的控制误差;当升柱动作结束后,同时开始执行推溜动作与逻辑控制动作,实现精确推溜动作,消除销轴间隙,为后续邻架移架提供充足支撑力,保证支架推移步距一致。

图5 自动推移精确控制流程
选用同一推移千斤顶对不同节流孔径的推移控制逻辑阀进行控制精度测试。通过测量单位时间(1 s)内伸/收千斤顶动作位移,计算位移均值及位移方差来评估控制精度,具体数据见表1。其中单位时间内的位移均值可反映控制速度,位移方差可度量位移测量值与位移均值之间的偏离程度,方差越小表明控制精度越高。
从表1可看出,安装推移控制逻辑阀后,推移千斤顶伸/收动作控制速度有一定程度降低,且动作控制速度随节流孔径减小而递减;安装推移控制逻辑阀的推移千斤顶伸/收动作控制精度较未安装时有极大提高,且动作控制精度随节流孔径减小而增大。
考虑到现场应用过程中需要兼顾支架控制效率,选择3.5 mm节流孔径作为推移控制逻辑阀最终尺寸。
表1 不同节流孔径推移控制逻辑阀控制效果

提出的液压支架精确推移控制方案配合SAC型电液控制系统在黄陵矿业集团有限责任公司一号煤矿621工作面、兖州煤业鄂尔多斯能化有限公司转龙湾煤矿23303工作面进行了应用。现场完成了推移控制逻辑阀安装等液压系统改造工作,同时针对电液控制系统软件控制流程完成了软件升级,利用电液控制系统喷雾动作实现支架精确推移控制。
该方案对支架原有液压系统改造范围小,投入设备成本低,实现了工作面液压支架精确推移控制,同时优化的电液控制系统自动移架精确控制流程实现了销轴间隙自动消除,保证了工作面支架推移步距一致,从而减少了支架跟机自动化模式下因控制不到位而进行人工干预的工作量,在一定程度上保证了工作面直线度控制水平。
液压支架精确推移控制方案通过引入推移控制逻辑阀,提高了支架液压系统推移回路动态响应特性,并通过优化电液控制系统自动推移控制流程,实现了移架、推溜动作精确控制,以及销轴间隙自动消除功能。该方案提高了支架推移控制精度,同时保证了跟机自动化模式下支架推移步距一致,为工作面直线度控制和工作面在少人化条件下连续、快速开采提供了重要的技术支撑。
参考文献:
[1] 李首滨.国产液压支架电液控制系统技术现状[J].煤炭科学技术,2010,38(1):53-56.
[2] 黄曾华.综采工作面综合自动化控制技术综述[J].煤炭科学技术,2013,41(增刊2):282-284.
[3] 张步勤.薄煤层综采自动化关键技术及应用研究[D].北京:中国矿业大学(北京),2015.
[4] 王金华,黄乐亭,李首滨,等.综采工作面智能化技术与装备的发展[J].煤炭学报,2014,39(8):1418-1423.
[5] 王国法,朱军,张良,等.液压支架电液控制系统的分析和展望[J].煤矿开采,2000,39(2):5-8.
[6] 雷恩定,粟中兵.浅谈综采智能化工作面推广应用[J].内蒙古煤炭经济,2016(17):23-24.
[7] 陶显,林福严,张晓青,等.液压支架电液控制系统跟机自动化技术研究[J].煤炭科学技术,2012,40(12):84-87.
[8] 伍小杰,于月森,彭利明,等.液压支架电液控技术的现状及展望[J].煤炭科学技术,2009,37(1):25-29.
[9] 胡波.液压支架智能控制系统研究[D].太原:太原理工大学,2014:46-48.
[10] 涂永平.基于AMESim的液压支架液压系统性能仿真分析[D].重庆:重庆交通大学,2014:11-15.
[11] 舒凤翔.高端液压支架液压系统及关键元件研究[D].徐州:中国矿业大学,2009:17-21.
[12] 韩伟.液压支架控制系统大流量阀与移架速度定量化研究[D].北京:煤炭科学研究总院,2006:68-70.
[13] 魏景生,任怀伟.销轴连接对液压支架稳定性及可靠性的影响[J].煤炭科学技术,2010,38(1):72-75.
[14] 杜嘉.液压支架铰接销轴装销器的研制[J].机械工程师,2016(5):229-230.
[15] 牛剑峰.综采工作面直线度控制系统研究[J].工矿自动化,2015,41(5):5-8.
Research of precise pushing control scheme for hydraulic support and its application
WANG Feng
(Beijing Tiandi-Marco Electro-Hydraulic Control System Co., Ltd., Beijing 100013, China)
Abstract:For problems of poor control precision of hydraulic system of hydraulic support and inconsistent step distance of support pushing, a precise pushing control scheme for hydraulic support was put forward. Precise control of support moving and scraper conveyor pushing and automatic elimination of pin roll gap are realized by introducing pushing control logical valve and optimizing automatic support pushing control flow of electro-hydraulic control system. The experimental and field application results show that the scheme improves automatic pushing control accuracy of hydraulic support on fully mechanized coal mining face and guarantees consistent step distance of support pushing.
Key words:coal mining; fully mechanized coal mining face; hydraulic support; precise pushing; pushing control logical valve
文章编号:1671-251X(2017)05-0006-04
DOI:10.13272/j.issn.1671-251x.2017.05.002
收稿日期:2017-02-20;
修回日期:2017-04-13;责任编辑:盛男。
基金项目:国家安监总局2016年破解安全生产难题科技攻关项目(2016PJNT03)。
作者简介:王峰(1984-),男,山西大同人,助理研究员,硕士,主要从事煤矿开采自动化方面的研究工作,E-mail:wangfeng@tdmarco.com。
中图分类号:TD67/355
文献标志码:A
网络出版:时间:2017-04-25 17:32
网络出版地址:http://kns.cnki.net/kcms/detail/32.1627.TP.20170425.1732.002.html
王峰.液压支架精确推移控制方案研究与应用[J].工矿自动化,2017,43(5):6-9.