实验研究
孙继平, 蒋恩松
(中国矿业大学(北京) 机电与信息工程学院, 北京 100083)
摘要:针对TOA方法对时间测量精度要求高,但现有矿井WiFi通信系统通信过程中时间测量分辨率低的问题,提出了一种对WiFi信号进行二次扩频以获得高时间分辨率的TOA测距方法。在WiFi移动站上集成多载波扩频调制部件,用以对测距的WiFi信号进行二次扩频;在WiFi基站集成多载波扩频解调部件,并利用FPGA设计的高速数字匹配滤波器扩频码捕获算法,在亚码片级上对WiFi移动站发出的测距信号进行捕获,进而得到高分辨率的信号传播时延。试验结果表明,该方法测距误差均值为1.92 m,能够为WiFi通信系统进行TOA定位提供可靠的测距值。
关键词:矿井人员定位; TOA测距; WiFi二次扩频; 直接序列扩频; 多载波扩频
Abstract:TOA ranging method requests high precision time measurement while existing mine WiFi systems can not provide high temporal resolution timer. In order to resolve the above technical problems, a TOA ranging method using re-spread spectrum technology to WiFi signal to obtain high resolution was proposed. Multi-carrier spread spectrum modulator is integrated into WiFi mobile station which is used to spread spectrum for ranging WiFi signal. Correspondingly, multi-carrier spread spectrum demodulator is integrated into WiFi base station, and a spread spectrum code capture algorithm with high speed digital matched filter designed by FPGA is used to capture ranging signal sent by the WiFi mobile station in sub-chip level, thus, the signal propagation delay time with high resolution is obtained. The test results show that the proposed method can provide reliable ranging data with mean-error of 1.92 m for TOA positioning of WiFi communication system.
Keywords:mine personnel positioning; TOA ranging; re-spread spectrum to WiFi; direct sequence spread spectrum; multi-carrier spread spectrum
新修订的《煤矿安全规程》要求矿井装备具有煤矿井下人员精确定位功能的矿井人员定位系统[1],同时,煤矿井下人员精确定位也是实施煤矿快速有效应急救援所必须解决的问题[2],因此,矿井人员定位技术对于煤矿安全生产中的人员安全管理具有重要意义[3-5]。 WiFi技术作为矿井移动通信中的主流技术[6],在煤矿现场移动通信系统的建设中应用较为广泛。以WiFi技术为平台,进行基于到达时间(Time of Arrival, TOA)测距的矿井人员定位,是矿井人员精确定位技术的一个主要研究方向。由于现有WiFi协议并不支持高精度的TOA定位[7],所以,对基于WiFi的矿井TOA定位方法的研究较少。文献[8]提出了一种基于WiFi和计时误差抑制的巷道TOA定位方法,其核心是通过高精度计时器抑制计时误差,由于WiFi信号本身不能提供精确的测距数据,所以,该方法的实现需要额外增加软硬件,以获得收发双方之间无线电传播的精确时间,从经济性、模块化的角度而言,在目前的情况下应用前景相对不理想。文献[9]所提出的基于WiFi通信系统的混合定位方法,其精确定位部分是采用基于接收信号强度(Received Signal Strength Indicator,RSSI)测距的方法实现的,由于基于RSSI测距的方法固有抗干扰能力差[10],矿井巷道中电磁环境恶劣,多径影响严重,使得基于RSSI的矿井定位方法精度难以满足安全生产中人员管理的需求[11]。
综上所述,基于WiFi技术进行矿井TOA定位的技术难点在于TOA方法对时间测量精度要求高[12],而现有矿井WiFi通信系统的通信过程中时间测量的分辨率低。正是由于WiFi系统的测距瓶颈,使得WiFi技术很少应用于煤矿井下人员定位[13]。为了解决WiFi系统的测距问题,发挥WiFi技术在矿井无线宽带应用的优势,本文在现有的矿井WiFi技术及系统的基础上,对WiFi信号进行二次扩频,通过提高WiFi信号码速,提出了一种基于WiFi信号二次扩频的矿井TOA测距方法,使基于WiFi定位的双方能够测得高精度的信号传播时间,为实现在矿井巷道多径环境下基于WiFi和TOA测距的高精度人员定位系统提供可靠的测距信息。
基于TOA测距的WiFi系统需要解决高精度的计时和同步问题[14]。直接序列扩频(Direct Sequence Spread Spectrum, DSSS)是WiFi标准物理层采用的主要技术之一,因此,利用扩频信号的相关性测距是一个可行的方案。由于WiFi扩频码片是长度为11的Barker码,处理增益为10 dB左右,直接以WiFi的物理信号作为扩频测距信号,其时间精度显然不够,因此,方法设计的总体思想是在标准的WiFi平台上,通过复用WiFi信号进行二次扩频,提升WiFi系统的扩频能力,从中获得通信双方更高精度的信号传播时间。
WiFi信号二次扩频测距系统构成如图1所示,在WiFi基站设计多载波扩频解调器,射频收发器连接到接收通道选择开关后形成通常的WiFi信号接收通道及测距信号接收通道;在WiFi移动站中设计多载波扩频调制器,WiFi模块信号输出端连接到发送通道选择开关上,形成通常的WiFi信号发送通道及测距信号发送通道。

图1 WiFi信号二次扩频测距系统构成
Fig.1 Architecture of ranging system of re-spread spectrum to WiFi signal
在不执行测距功能时,WiFi基站与WiFi移动站之间进行的是正常的WiFi通信,它们相当于一般意义上的WiFi基站和移动站。
执行测距功能时,移动站的多载波扩频调制器对WiFi信号进行二次扩频,并通过射频收发器将信号发射出去,基站接收到该信号后,经多载波扩频解调器解调并在高性能FPGA处理器高速运算支持下,获得二次扩频信号的相位时延。
1.2.1 测距触发机制
矿井TOA测距方法通过特定的测距询问帧/测距响应帧来启动WiFi基站与指定的WiFi移动站之间的测距功能并完成二者之间距离的测定,为此,设计测距询问帧、测距响应帧的类型为控制帧,由帧控制、持续时间、接收站点地址、发送站点地址、帧校验序列5个域组成。其中,接收站点地址指示执行测距的移动站,即接收测距询问帧的移动站地址,发送站点地址是指发出测距询问帧的基站地址。测距询问帧的子帧类型设置为0001,持续时间为1个测距响应帧时间加3个短帧间隔;测距响应帧的子帧类型为0010,持续时间为1个短帧间隔。二者所设置的子帧类型均为802.11协议保留未用[15],不会对原有WiFi的MAC层协议造成影响。
1.2.2 多载波扩频机制
测距响应帧加上物理层帧头后,由WiFi标准采用的11位Barker在物理层对其进行第1次扩频,则第1次扩频后的测距响应帧为
sw(t)=
dkPTd(t-kTd)biPTb(t-iTb)
(1)
式中:dk为WiFi信号序列,k为WiFi数据码序列次序;PT(t)为脉宽为T的矩形单位脉冲,t为时间;Td为一位WiFi数据的持续时间,Td=1×10-6s;bi为Barker码序列,i为Barker码序列次序;Tb为一位Barker码的持续时间,Tb=Td/11。
信号sw(t)的带宽为22 MHz。而WiFi标准所占用的ISM(Industrial Scientific Medical)频段宽度为83.5 MHz,对WiFi信号进行二次扩频必将面临ISM 带宽限制的瓶颈,为了充分利用ISM带宽,获取更大的扩频增益,设计了多载波直接序列扩频方案,如图2所示。

图2 多载波直接序列扩频方案
Fig.2 Direct sequence spread spectrm Scheme with multi-carrier
信号sw(t)经过串并转换,分成7路并行信号, 3级m序列发生器产生长度为7的m序列c(t),m序列可表示如下:
(2)
式中:cj表示m序列码,j为m序列次序;Tc为一位m序列码的持续时间,Tc=Tb/7。
分别对这7路并行信号进行扩频调制,每一路扩频信号单独在各自的子载波通道内完成载波调制操作,多载波扩频调制器提供了7个调制子载波,它们分别利用WiFi的1,3,5,7,9,11,13信道完成正交频分复用(Orthogonal Frequency Division Multiplexing, OFDM)扩频调制,这样,能够将扩频后的信号限制在ISM所要求的带宽内传送,最大限度地利用了ISM带宽,解决了扩频信号所需带宽问题。在无缝对接WiFi标准的基础上,可获得超过8 dB处理增益。经多载波扩频调制后的信号可表示为
sc(t)=
d(t)b(t)c(t)cos(2πfjt)
(3)
式中fj为调制子载波的频率。
1.2.3 扩频码捕获机制
捕获部件由多载波扩频解调器与FPGA处理器联合构成,是WiFi二次扩频系统的核心部件,其功能框图如图3所示。
多载波扩频解调器提供了7个通道的子载波解调器及相应的振荡器,接收信号r(t)经各子载波通道载波解调后,通过并/串转换电路,得到的数字基带信号rc(t)可表示为
rc(t)=
dk(t)bi(t-
)cj(t-
)
(4)
式中
及
表示由于信号传播引起的接收信号与原信号之间的时延。

图3 扩频码捕获功能框图
Fig.3 Capturing functional diagram of spread spectrum code
扩频码同步捕获在FPGA处理器中实现,为此,在FPGA内部设计2个数字匹配滤波器,具体捕获过程如下:
第1步 将rc(t)经第1个I/O口引入FPGA,在高速亚码片级数字匹配滤波器中实现m序列的捕获,获得时延tac,将其作为实际时延
的估计值,同时生成本地m序列解扩码,并对二次扩频的m序列进行解扩,解扩的数字基带信号可表示为
(5)
第2步 将rc(t)由第2个I/O口再次引入FPGA,由FPGA内部的低速数字匹配滤波器进行Barker码的捕获,获得时延tco,将其作为实际时延
的逼近值。
测距精度决定于高速亚码片级数字匹配滤波器的捕获性能。WiFi二次扩频系统所采用的数字匹配滤波算法充分利用FPGA的高速运算特性,以采样时间Tsa(Tsa=Tc/8)对rc(t)采样,dk(t)是全1前导码,故采样信号可表示为
rsa=
bi(t-
)cj(t-
)δ(t-nTsa)
(6)
式中δ(t-nTsa)为单位抽样序列。
同时,将相应的数字匹配滤波器抽头系数L(k)进行内插值扩展,使其与采样信号周期长度一致,将二者进行相关运算,结果如式(7)所示。
(7)
式中M为1个m序列周期所含亚码片数。
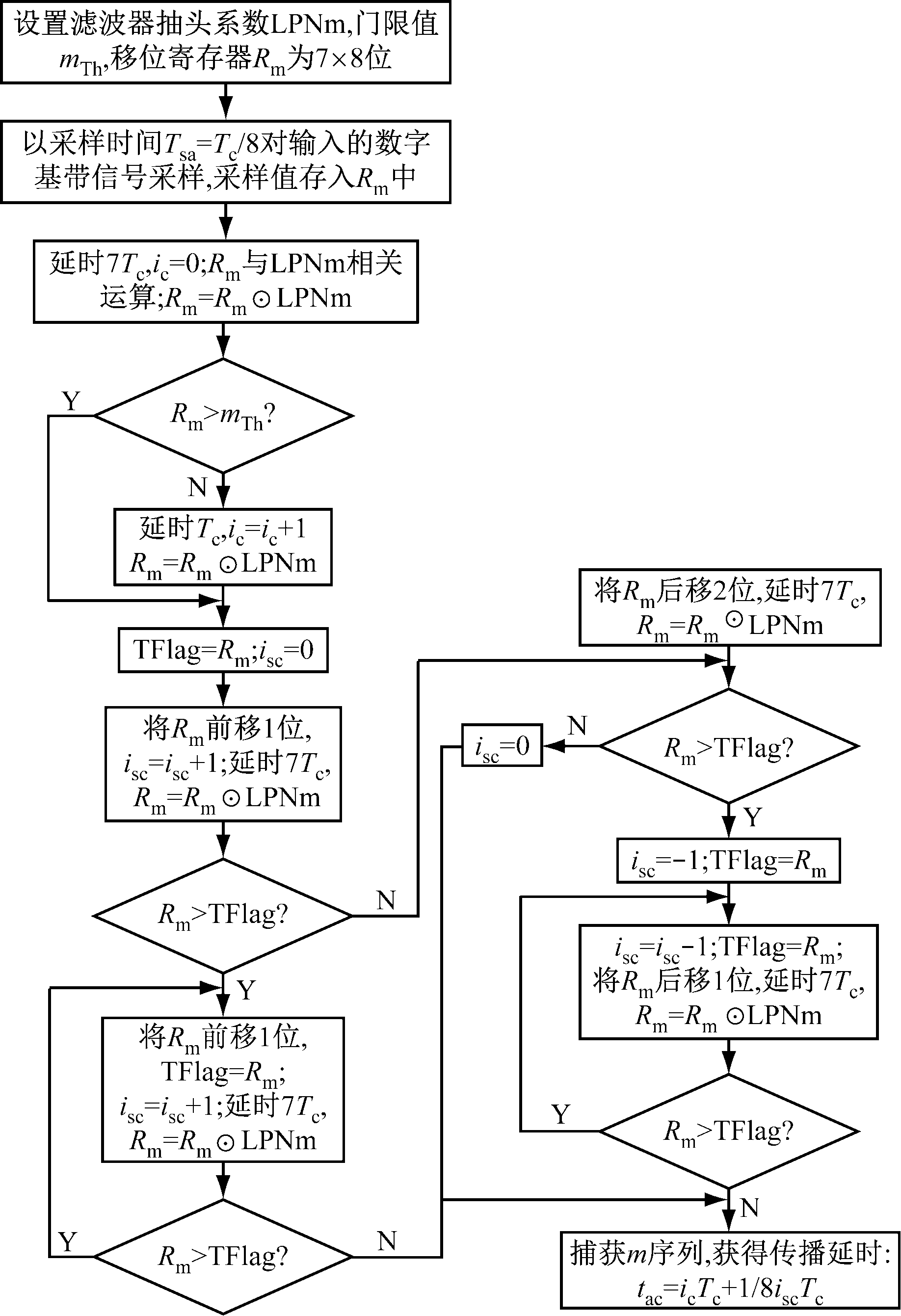
算法首先实现在一个扩频码片上的捕获,即每次相关运算,式(7)中的k移动为8;在实现对扩频码片捕获基础上,每次相关运算,k移动为1,即在码片内以1/8亚码片移动匹配,因此,能在1/8亚码片级上实现m序列的捕获,进一步提高了捕获的时间分辨率,从而获得更为精确的测距结果。高速亚码片级数字匹配滤波器的实现算法具体流程如图4所示。图中ic,isc为循环控制变量,TFlag为相关峰值标志。

图4 高速数字匹配滤波器实现算法
Fig.4 Algorithm of realizing of high digital matching filter
Barker码的捕获只需要同步到码片级即可,可由相对低速的数字匹配滤波器实现,算法在此不赘述。
综合以上2个步骤,得到测距响应帧传播时间:tp=tco+qtac。tco为粗测时间,即Barker码的时延,它决定测距的范围为300 m;q为Barker码相关峰值位置关系,若Barker码相关峰值滞后于二次扩频码峰值,q=1,否则q=-1;tac为精测时间,其分辨率由式(8)决定。
tr=Td/(NbNmNs)
(8)
式中:Nb为Barker码周期长度;Nm为二次扩频的m序列周期长度,Nm=7;Ns为捕获算法中对一个m码的采样次数,Ns=8。
将Nm,Ns代入式(8),可得tr=1.62×10-9s。
为了检验二次扩频方法对测距性能的提升效果,在低信噪比(-2 dB)条件下,分别对未进行二次扩频的WiFi原始信号及二次扩频后的WiFi信号进行了测距对比仿真。仿真结果如图5所示。

(a) 未二次扩频

(b) 已二次扩频

(c) 误差累积分布
图5 二次扩频前后测距性能对比
Fig.5 Comparison of ranging performance berfore and after re-spread spectrum
从图5(a)可看出,测距误差较大;从图5(b)可看出,测距误差显著降低。
为进一步对比二者的测距性能,图5(c)给出了二者的误差累积分布函数(Cumulative Distribution Function,CDF)对比:未进行二次扩频的测距误差分布在0~5 m处,且平缓上升,而二次扩频后的测距误差分布在0~0.5 m上升陡峭,在2 m内已达到1。表明后者相对于前者具有更为理想的误差累积分布,有更高的确定性,充分凸显了二次扩频后,由于提高了时间分辨率,对测距精度、系统的稳健性、测距的可靠性都有较大的提升。
为了实际检验基于WiFi信号二次扩频的测距方法的性能,设计如下的实测试验方案:试验平台由简易的WiFi基站及移动站构成,它们的主要组成部件为EP2AGX95DF25C4型FPGA芯片及WSN802GP射频收发器,为突出测距功能,简化WiFi二次扩频系统设计, WiFi模块由FPGA内部生成,只产生相应的测距帧,其他WiFi功能不予实现;多载波OFDM调制及解调由FPGA实现。WSN802GP射频收发器采用802.11b/g协议进行调制解调。试验在类巷道的某楼房走廊通道进行,该通道长约为60 m,高约为3 m,宽约为2.5 m,两侧有若干铁门。基站放置在通道中央位置,移动站沿通道中央移动,如图6所示。试验方案选择以射频芯片NA5TR1为核心的无线测距节点作为对比试验,该无线测距节点采用IEEE 802.15.4协议的宽带线性调频(Chirp Spread Spectrum,CSS)测距技术,在室内定位已有成熟应用。对比试验分别在同等条件下测量基站与移动节点的距离。

图6 实测环境
Fig.6 Schematic of test environment
实测结果如图7所示。从图7可看出,WiFi扩频测距和CSS测距的结果均在偏离实际线一定距离上波动。测距误差由系统误差与环境误差构成,其中,环境误差是由测距空间的严重多径效应引起的扩频码的扩展和时延导致的。系统误差是系统本身固有,由其时间分辨率及门限判别的偏差所决定,系统误差导致测距在一定范围内起伏。实测结果表明了WiFi扩频测距与CSS测距具有相似的测距功能。进一步定量分析,WiFi扩频测距的测距误差均值为1.92 m,而CSS测距误差均值为1.72 m,表明WiFi信号经扩频后提高了时间分辨率,其测距性能接近于CSS,能够提供较为准确的TOA测距信息。

图7 实测结果
Fig.7 Measurement results
(1) 基于WiFi信号二次扩频的矿井TOA测距方法能够显著提高WiFi信号的测量时间分辨率,有效提升了WiFi通信系统基于TOA的测距精度,能为矿井WiFi通信系统实现TOA定位提供可靠的测距值。仿真及实测结果表明,在类似矿井巷道环境下,TOA测距方法的测距误差均值在2 m以内,接近802.15.4a协议的CSS测距性能。
(2) 基于WiFi信号二次扩频的矿井TOA测距方法能无缝对接现有的矿井WiFi通信平台,有效地解决TOA测距中的高精度时间测量问题,对于在煤矿WiFi平台上建立人员定位和通信联络一体化的系统具有重要意义。
参考文献(References):
[1] 孙继平.2016年版《煤矿安全规程》监控与通信条款解析[J].工矿自动化,2016,42(5):1-7.
SUN Jiping.Explanations for part of monitoring and communication ofCoalMineSafetyRegulationsof 2016 Edition [J].Industry and Mine Automation.2016,42(5):1-7.
[2] 孙继平,钱晓红.煤矿事故与应急救援技术装备[J].工矿自动化,2016,42(10):1-5.
SUN Jiping,QIAN Xiaohong.Coal mine accident and emergency rescue technology and equipment [J].Industry and Mine Automation.2016,42(10):1-5.
[3] 孙继平.煤矿安全生产监控与通信技术[J].煤炭学报,2010,35(11):1925-1929.
SUN Jiping.Technologies of monitoring and communication in the coal mine [J].Journal of China Coal Society,2010,35(11):1925-1929.
[4] 孙继平.煤矿物联网特点与关键技术研究[J].煤炭学报,2011,36(1):167-171.
SUN Jiping.Research on characteristics and key technology in coal mine internet of things [J].Journal of China Coal Society,2011,36(1):167-171.
[5] 孙继平.煤矿井下人员位置监测技术与系统[J].煤炭科学技术,2010,38(11):1-5.
SUN Jiping.Personnel position monitoring technology and system in underground mine [J].Coal Science and Technology,2010,38(11):1-5.
[6] 孙继平.现代化矿井通信技术与系统[J].工矿自动化,2013,39(3):1-5.
SUN Jiping.Modern mine communication technology and system[J].Industry and Mine Automation,2013,39(3):1-5.
[7] SCHAUER L,DORFMEISTER F,MAIER M.Potentials and limitations of WIFI-positioning using time-of-flight[C]// IEEE International Conference on Indoor Positioning and Indoor Navigation,Piscataway,2013:1-9.
[8] 孙继平,李晨鑫.基于WiFi 和计时误差抑制的TOA 煤矿井下目标定位方法[J].煤炭学报,2014,39(1):192-197.
SUN Jiping,LI Chenxin.TOA underground coal mine target positioning method based on WiFi and timing error suppression [J].Journal of China Coal Society,2014,39(1):192-197.
[9] 彭霞.基于矿井WiFi通信系统的混合定位方法研究[J].工矿自动化,2013,39(8):28-31.
PENG Xia.Reseach of hybrid positioning method based on mine WiFi communication system[J].Industry and Mine Automation,2013,39(8):28-31.
[10] 万群,郭贤生,陈章鑫.室内定位理论方法和应用[M].北京:电子工业出版社,2012:20-27.
[11] 胡青松,张申,吴立新,等.矿井动目标定位:挑战、现状与趋势[J].煤炭学报,2016,41(5):1059-1068.
HU Qingsong,ZHANG Shen,WU Lixin,et al.Localization techniques of mobile objects in coal mines:challenges,solutions and trends[J].Journal of China Coal Society,2016,41(5):1059-1068.
[12] 孙继平,李晨鑫.基于TOA技术的煤矿井下人员定位精度评价方法[J].煤炭科学技术,2014,42(3):66-68.
SUN Jinping,LI Chenxin.Evaluation method of positioning accuracy for mine underground personnel based on TOA Technology[J].Coal Science and Technology,2014,42(3):66-68.
[13] 孙继平.矿井宽带无线传输技术研究[J].工矿自动化,2013,39(2):1-5.
SUN Jiping.Research of mine wireless broadband transmission technology[J].Industry and Mine Automation 2013,39(2):1-5.
[14] LIAO Lingxia,LIN Kai,WANG Xiaofei,et al.WiFi positioning overview[J].International Journal of Communication Networks and Distributed Systems,2011,7(3-4):229-248.
[15] IEEE standards 802.11—1999 Wireless LAN medium access control(MAC) and physical layer(PHY) specifications[S].
SUN Jiping, JIANG Ensong
(School of Mechanical Electronic and Information Engineering, China University of Mining and Technology(Beijing),Beijing 100083,China)
中图分类号:TD655
文献标志码:A 网络出版时间:2017-09-27 14:41
网络出版地址:http://kns.cnki.net/kcms/detail/32.1627.TP.20170927.1441.011.html
文章编号:1671-251X(2017)10-0053-06
DOI:10.13272/j.issn.1671-251x.2017.10.011
收稿日期:2017-04-26;
修回日期:2017-08-17;责任编辑张强。
基金项目:国家重点研发计划重点专项资助项目(2016YFC0801800);国家自然科学基金资助项目(51674269)。
作者简介:孙继平(1958-),男,山西翼城人,教授,博士,博士研究生导师,中国矿业大学(北京)信息工程研究所所长;获国家科技进步二等奖3项(其中作为第1完成人2项、第2完成人1项);作为第1完成人获省部级科技进步特等奖和一等奖8项;作为第1完成人主持制定中华人民共和国煤炭行业和安全生产行业标准26项;主持制定《煤矿安全规程》第十一章“监控与通信”;作为第1作者或独立完成著作12部;被 SCI和 EI检索的第1作者或独立完成论文80余篇;作为第1发明人获国家授权发明专利40余项;作为国务院煤矿事故调查专家组组长参加了10起煤矿特别重大事故调查工作;E-mail:sjp@cumtb.edu.cn。
引用格式:孙继平,蒋恩松.基于WiFi信号二次扩频的矿井TOA测距方法[J].工矿自动化,2017,43(10):53-58. SUN Jiping, JIANG Ensong. Mine TOA ranging method based on re-spread spectrum to WiFi signal[J].Industry and Mine Automation,2017,43(10):53-58.