钮月1,2,3, 李忠辉1,2,3, 王红浩4, 王佳丽5, 刘帅杰1,3, 殷山1,3, 孔艳慧1,3, 洪森1,3
(1.中国矿业大学 煤矿瓦斯与火灾防治教育部重点实验室, 江苏 徐州 221116;2.中国矿业大学 煤炭资源与安全开采国家重点实验室, 江苏 徐州 221116;3.中国矿业大学 安全工程学院, 江苏 徐州 221116; 4.郑州煤炭工业(集团)有限责任公司裴沟煤矿, 河南 新密 452382; 5.新郑煤电有限责任公司, 河南 新郑 451100)
摘要:搭建了含瓦斯煤单轴压缩信息采集系统,测试了煤样受载破坏过程中声发射及力学特性参数的变化,并对煤岩损伤演化模型及声发射特性进行了深入的分析研究。研究结果表明,含瓦斯煤在受载破坏过程中能够产生声发射信号,在受载前期声发射信号较少,受载后期较多,载荷峰值附近声发射信号达到最大值;声发射脉冲数及能量与载荷的变化趋势一致,能够直观地反映含瓦斯煤损伤程度;基于声发射特性参数的损伤演化模型,根据声发射脉冲数及能量所计算的损伤值与实测值变化趋势基本一致;作为前兆信息,声发射信号能够表征煤岩损伤演化规律,反映煤岩受载破坏状态。该研究成果将为现场煤岩瓦斯动力灾害的监测及预防提供参考。
关键词:含瓦斯煤; 受载损伤; 声发射特性; 演化规律; 力学参数; 监测预警
网络出版地址:http://www.cnki.net/kcms/detail/32.1627.TP.20160601.1027.010.html
随着煤层开采深度的增加和开采强度的增大,煤矿的高应力、高瓦斯现象日益突出,导致了冲击地压、煤与瓦斯突出等灾害日趋严重[1]。煤岩在受载过程中会产生变形破坏,释放出弹性能,产生声发射信号。声发射的强度和频度能够反映煤岩体的受载破坏及损伤程度[2]。含瓦斯煤层在发生动力灾害的过程中常常伴有大量的瓦斯涌出,瓦斯对于煤体损伤演化的过程具有重要的影响。因此,通过研究含瓦斯煤岩在受载破坏过程中声发射参数的变化,探究煤岩损伤演化规律,对于监测预报含瓦斯煤层动力灾害具有重要的意义。
目前,广大学者对煤岩材料受载过程中所产生的声发射现象已经有了深入的研究。邹银辉[3]研究了煤岩声发射特征的产生机理,并推导了理论模型。曹树刚等[4]研究了煤样在不同围压条件下受载破坏声发射信号的变化趋势,并将其与单轴情况做了比较。刘保县等[5]建立了煤岩损伤变量与声发射累计振铃数的关系式。以上研究已经取得了显著的效果,并用于现场生产实践[6-8]。但目前针对含瓦斯煤受载过程中力学及声发射特性参数与煤岩损伤演化规律间的定量研究相对较少。因此,笔者搭建了含瓦斯煤单轴压缩信息采集系统,用于测试含瓦斯煤受载破坏过程中力学及声发射特性参数的变化。根据力学理论,构建煤岩损伤模型,得到声发射参数积累量与煤样损伤变形之间的理论关系,为煤岩损伤破坏演化规律找到合适的参数推导模型。实验室条件下的成果有望用于煤矿现场,指导煤岩瓦斯动力灾害的监测与预防。
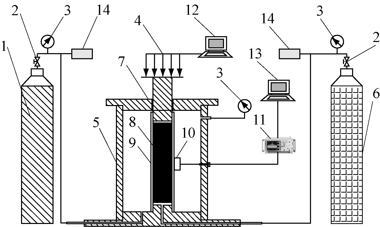
1.1 实验系统
实验系统采用含瓦斯煤单轴压缩信息采集系统,如图1所示。系统主要包括应力加载系统、声发射数据采集系统、密封缸体、瓦斯及氮气重放系统。

1-氮气气瓶; 2-开关; 3-压力表; 4-电液伺服压力机;5-缸体; 6-瓦斯气瓶; 7-密封圈; 8-煤岩试样; 9-热缩管;10-声发射传感器; 11-前置放大器; 12-力学参数采集仪;13-声发射数据采集仪; 14-卸压阀
图1 实验系统结构
(1) 应力加载系统。包括电液伺服压力机、力学参数采集仪,可实时显示测试数据和应力-应变曲线、载荷-时间曲线,记录力学参数。
(2) 声发射数据采集系统。包括声发射传感器、前置放大器、声发射数据采集仪等,将采集到的声发射信号放大、滤波后转换成数字信号,并实时显示。
(3) 密封缸体。包括缸体实体(内置煤样)、密封圈、热缩管等,用于创造密封环境。
(4) 瓦斯及氮气重放系统。包括氮气气瓶、瓦斯气瓶、开关、压力表、卸压阀等,向缸体中充入氮气,创造围压条件,向热缩管内充入瓦斯,使之与煤样充分接触,构建含瓦斯煤环境。
1.2 实验方法
实验煤样取自徐州某煤矿,将井下煤块加工成φ50 mm×100 mm的标准试件。
实验步骤如下:
(1) 连接好缸体、气瓶等元器件,将煤样用热缩管密封,置入缸体中,确保缸体密封。
(2) 利用真空泵将缸体内抽成真空状态,打开氮气气瓶开关,向缸体内充入一定压力的氮气,形成围压,打开瓦斯气瓶,向热缩管充入一定压力的瓦斯,使之与煤样充分吸附(持续8 h)。
(3) 连接力学参数采集仪、声发射数据采集仪等,进行调试。
(4) 启动电液伺服压力机,根据实验方案控制电液伺服压力机,以 1 000 N/s的力控速度对缸体施加载荷,使煤样受载破坏,同时记录力学参数,采集声发射信号。
选取有代表性的试样加载结果(氮气围压为4 MPa,瓦斯压力为0.6 MPa)进行分析。含瓦斯煤样在受载过程中的载荷及声发射特性参数随时间变化曲线如图2所示。

(a) 载荷随时间变化曲线

(b) 声发射脉冲数随时间变化曲线

(c) 声发射能量随时间变化曲线
图2 含瓦斯煤样在受载过程中的载荷及声发射特性参数随时间变化曲线
由图2可知,含瓦斯煤样在受载破坏过程中,能够产生声发射信号。受载前期,载荷较小,局部产生微破裂损伤,信号较少。受载后期,载荷不断升高,裂隙稳步扩展,声发射信号不断增强。载荷峰值附近,裂隙贯通,形成主破坏,声发射脉冲数及能量达到了最大值。声发射信号的产生来源于煤岩内部损伤过程裂隙的闭合及扩展,声发射脉冲数反映微裂纹破坏的次数,而声发射能量则反映破坏的强度,两者与载荷的变化趋势具有一致性,能直观地反映含瓦斯煤损伤过程。
3.1 基于声发射脉冲数的含瓦斯煤损伤演化模型
HEIPLE C R等认为声发射信号发生于材料的受载破坏过程中,与材料内部的剥离、断裂及裂纹扩展所释放的应变能成正比。因此,本文利用声发射脉冲数及能量来描述煤岩的损伤特性。
根据Kachanov理论,将损伤变量定义为D:
(1)
式中:Ad为承载断面上微缺陷的所有面积;A为初始时无损的断面积。
若无损材料整个截面完全破坏累计产生的声发射脉冲数为N0,单位面积微破坏时的声发射脉冲数为Nw,则有
(2)
当断面损伤面积达到Ad时,声发射脉冲数累计为Nd,则有
(3)
经过运算,得
(4)
试验过程中,煤样尚未完全破坏时,电液伺服压力机就停止加载。因此,对损伤变量做了修正。设DU为损伤的临界值,则有
(5)
为了便于计算,可设
(6)
式中:σc为残余强度;σp为峰值强度。
根据连续损伤力学理论,所建立的损伤破坏模型如下:
(7)
式中:σ为理论应力值;E为弹性模量;ε为应变;σε为应变ε未经修正的应力值。
设D(t)、Nd(t)、σ(t)和ε(t)分别为不同加载时刻t的损伤参量、累计脉冲数、应力和应变,则可推导出基于声发射脉冲数的单轴压缩含瓦斯煤的损伤模型为
σ(t)=[1-(1-σc/σp)Nd(t)/N0]E ε(t)
(8)
3.2 基于声发射能量的含瓦斯煤损伤演化模型
假设声发射能量与煤样损伤演化过程中的耗散能成正比关系,耗散能导致材料的内部损伤和塑性变形,那么损伤变量可用声发射的能量积累来表示:
(9)
式中:ΣW为损伤至t时刻累计声发射能量;Wm为煤样完全被破坏时累计的声发射能量。
同理可得出基于声发射能量的单轴压缩含瓦斯煤损伤模型为
(10)
3.3 含瓦斯煤受载损伤演化分析
根据式(4)和式(9)对图2中试样测得的声发射脉冲数及能量进行归一化处理,试样累计损伤结果如图3所示。结合式(8)、式(10),根据不同应变水平声发射脉冲数或能量及应变计算应力,得出基于声发射脉冲数和能量的应变-损伤关系曲线,并与实测值对比,如图4所示。

(a) 基于声发射脉冲数

(b) 基于声发射能量
图3 基于声发射脉冲数和能量的应变-损伤关系曲线
从图3、图4可以看出,理论值与实测值趋势基本吻合,说明利用声发射特性参数表征损伤变量是合理的。

图4 损伤理论值与实测值对比
结合图2、图4可知,基于声发射参数的含瓦斯煤受载损伤演化主要经历了4个阶段。第1阶段:初始受载至应变值达0.8×10-2,此阶段煤岩处于弹性变形状态,为初步损伤状态,损伤量较小,声发射信号较少。第2阶段:加载至应变值为1.3×10-2,此阶段煤样处于微破裂稳定发展、损伤变量不断增大状态,此时声发射信号随应力增加而逐渐提高。 第3阶段:加载至应变值为2.1×10-2,此阶段损伤加速且不稳定发展,损伤变量急剧上升至煤样破坏,煤样内部的微破裂迅速扩展、贯通,在表面出现了显著的宏观破坏,伴随着大量声电信号产生。 第4阶段:煤样处于主破裂后的状态,此时煤样基本失去承载能力,在残余载荷的作用下,破碎块体之间相互摩擦,产生了大量的声发射信号。
煤样在初始加载阶段存在塑性形变,导致弹性模量不稳定变化,因此,在同一应力值时,实际应变值大于由式(8)、式(10)计算的理论应变值。而在第2—第4阶段,基于声发射脉冲数及能量的理论损伤曲线与实测的应力-应变曲线变化趋势具有较强的一致性,声发射信号变化能够很好地表征煤样受载破坏过程中的损伤演化规律。理论计算的应力-应变曲线峰值超前于实测曲线峰值,这对于煤矿现场预测动力灾害具有重要的指导意义。 声发射信号(脉冲数及能量)作为含瓦斯煤受载破坏的前兆信息,能够反映煤岩体的受载破坏状态,为包括煤与瓦斯突出、含瓦斯煤冲击地压等在内的动力灾害的监测及预防提供了理论依据。
搭建了围压条件下含瓦斯煤单轴压缩信息采集
系统,测试了声发射及力学特性参数的变化并进行了分析,得出了以下结论:
(1) 含瓦斯煤样在受载破坏过程中,能够产生声发射信号。在受载前期,载荷较小,声发射信号较少;在受载后期,载荷不断升高,声发射信号增多;在峰值载荷附近,声发射信号达到最大值。声发射的脉冲数及能量与载荷的变化趋势一致,能够直观地反映含瓦斯煤损伤程度。
(2) 建立了基于声发射特性参数的损伤演化模型,分析了含瓦斯煤受载破坏过程中应力、应变与声发射特性参数的相互关系,根据模型所计算的损伤值与实测值的变化趋势基本一致,声发射脉冲数及能量的变化能够表征含瓦斯煤损伤演化规律。
(3) 声发射信号是含瓦斯煤受载破坏的前兆信息,能反映煤岩体的受载破坏状态。
参考文献:
[1] 钱鸣高,石平五.矿山压力与岩层控制[M].徐州:中国矿业大学出版社,2003.
[2] 韩放,纪洪广.单轴加卸荷过程中岩石声学特性及其与损伤因子关系[J].北京科技大学学报,2007,29(5):452-455.
[3] 邹银辉.煤岩声发射机理初探[J].矿业安全与环保,2004,31(1):31-33.
[4] 曹树刚,刘延保,张立强.突出煤体变形破坏声发射特征的综合分析[J].岩石力学与工程学报,2007,26(增刊1):2794-2799.
[5] 刘保县,黄敬林,王泽云,等.单轴压缩煤岩损伤演化及声发射特性研究[J].岩石力学与工程学报,2009,28(增刊1):3234-3238.
[6] LAVROV A. The Kaiser effect in rocks: principles and stress estimation techniques [J]. International Journal of Rock Mechanics and Mining Sciences, 2003,40(2):151-171.
[7] RUDAJEV V, VILHELM J, LOKAJI
EK T. Laboratory studies of acoustic emission prior to uniaxial compressive rock failure [J]. International Journal of Rock Mechanics and Mining Sciences, 2000,37(4):699-704.
[8] 刘学文,林吉中,袁祖贻.应用声发射技术评价材料疲劳损伤的研究[J].中国铁道科学,1997,18(4):74-81.
NIU Yue1,2,3, LI Zhonghui1,2,3, WANG Honghao4, WANG Jiali5,LIU Shuaijie1,3, YIN Shan1,3, KONG Yanhui1,3, HONG Sen1,3
(1.Key Laboratory of Gas and Fire Control for Coal Mines of Ministry of Education,China University of Mining and Technology, Xuzhou 221116, China; 2.State Key Laboratory of Coal Resources and Safe Mining, China University of Mining and Technology, Xuzhou 221116, China;3.School of Safety Engineering, China University of Mining and Technology, Xuzhou 221116, China;4.Peigou Coal Mine, Zhengzhou Coal Industry(Group) Co., Ltd., Xinmi 452382, China;5.Xinzheng Coal Electricity Co., Ltd., Xinzheng 451100, China)
Abstract:An information collection system of coal containing gas under uniaxial compression was built, dates' change of acoustic emission and mechanical parameters while coal samples loaded were tested, and damaged evolution model of coal and rock and characteristic of acoustic emission were studied deeply. The research results show that there are acoustic emission signals produced during loaded process for coal containing gas. The number of acoustic emission singles is less at early stage and more at later stage, while achieves the maximum value when the load reaches peak value. The change trend of pulse number and energy of acoustic emission is consistent with the load value, which can reflect damage degree of coal containing gas well. Based on the coal damaged evolution model of acoustic emission characteristics parameters, change trend of damage value calculated from the acoustic emission pulse number and energy and the actual measured value are basical identical. As a precursor information, the acoustic emission signal can represent damage evolution laws of coal and rock and reflect damage state under loaded state. The research result would provide reference for monitoring and preventing of gas dynamic disaster of coal and rock in coal mine.
Key words:coal containing gas; loaded damage; acoustic emission characteristics; evolution law; mechanical parameter; monitoring and warning
文章编号:1671-251X(2016)06-0037-05
DOI:10.13272/j.issn.1671-251x.2016.06.010
收稿日期:2015-12-28;
修回日期:2016-01-27;责任编辑:张强。
基金项目:国家自然科学基金资助项目(51574231);煤炭资源与安全开采国家重点实验室自主研究课题资助项目(SKLCRSM15X03);江苏省“青蓝工程”资助项目(201010290-02)。
作者简介:钮月(1991-),男,安徽蚌埠人,硕士研究生,研究方向为安全监测监控,E-mail:ahsyls69@cumt.edu.cn。
中图分类号:TD713
文献标志码:A 网络出版时间:2016-06-01 10:27
钮月,李忠辉,王红浩,等.含瓦斯煤受载损伤演化声发射特性实验研究[J].工矿自动化,2016,42(6):37-41.