于涛, 刘秀杰, 张玉娇, 张祥华, 王月亮
(山东科技大学 机械电子工程学院, 山东 青岛 266590)
摘要:介绍了利用Pro/E软件对液压支架进行三维建模及运动仿真的方法。该方法可以在设计阶段对产品进行分析和改进,缩短了产品的研发周期。
关键词:液压支架; 三维建模; 运动仿真
网络出版地址:http://www.cnki.net/kcms/detail/32.1627.TP.20160405.1136.020.html
液压支架是综采工作面非常重要的支护设备,其工作过程及性能的优劣对采煤工作的效率影响很大[1]。面对激烈的市场竞争,传统的液压支架设计方法已不能满足企业的要求。本文介绍了一种利用Pro/E对液压支架进行三维建模和运动仿真的方法,该方法可以直观地看到液压支架的运动特性曲线,缩短了研发周期,降低了试验成本,提高了企业经济效益。
液压支架主要由顶梁、立柱、掩护梁、底座等构件组成,而这些构件主要为组焊件,焊接完成后装配到一起。在利用Pro/E进行三维建模时,要充分了解各构件的结构,选择合适的草绘平面及参照面,严格按照设计尺寸进行建模,并对模型进行必要的简化,以提高仿真效率及准确性[2]。图1为通过拉伸、旋转、镜像等命令建立的液压支架顶梁、掩护梁、底座的三维模型。
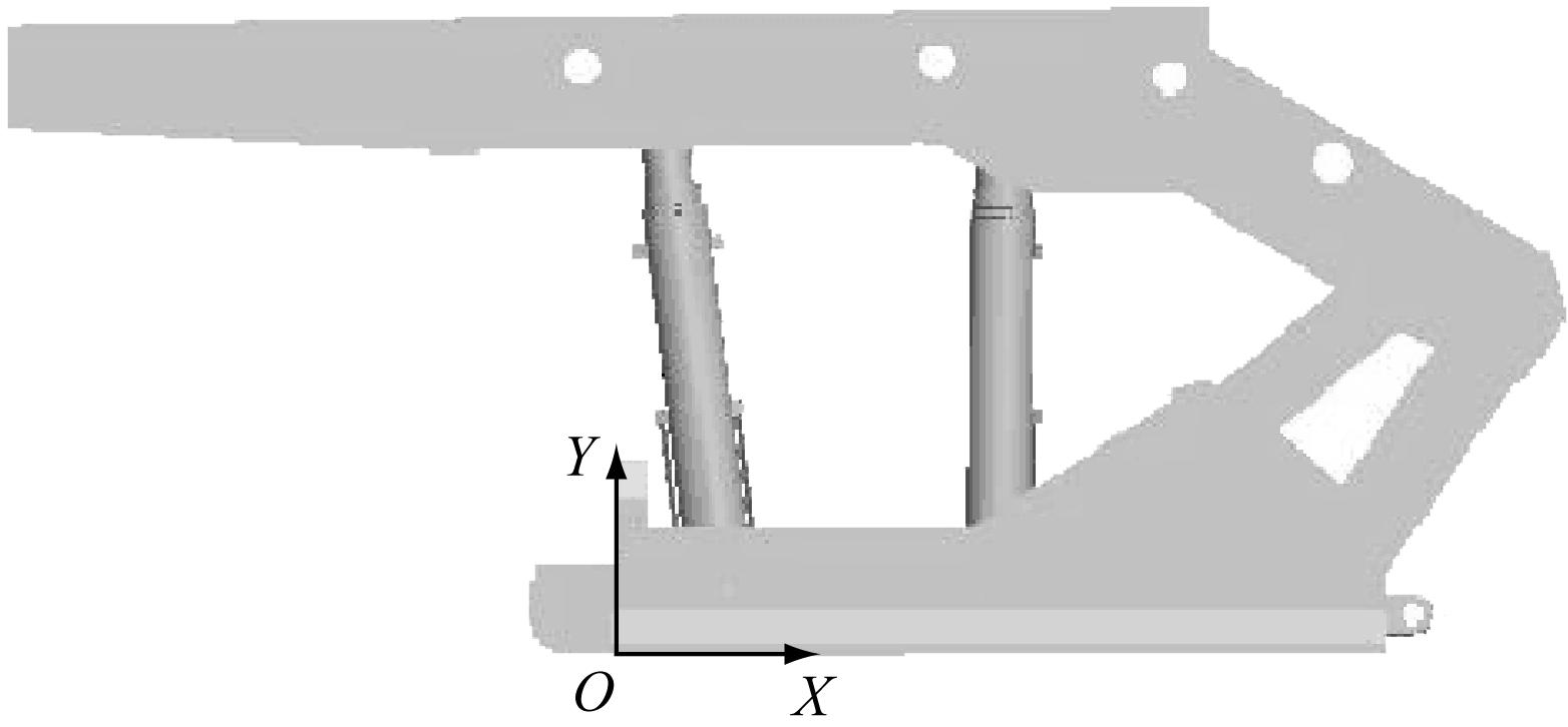
采用自上而下的方式对液压支架进行装配,根据各构件的运动关系来选择合适的约束把各构件装配为一体。底座为静止部件,采用缺省放置;连杆与底座以及掩护梁之间、顶梁与掩护梁之间均为转动副,采用销钉联接;立柱、千斤顶的活塞杆与缸体之间均为滑动副,采用滑动杆连接;立柱柱头与顶梁柱窝、底座柱窝之间为球面副,采用球连接[3-4]。图2为液压支架的装配图。
正确建立了液压支架的装配模型之后,便可以进入Pro/E的机构仿真模块。液压支架的运动主要靠液压缸来驱动,而活塞杆是主要的传力零件,它在工作时只作直线往复运动,所以将驱动电动机的运动轴放在立柱活塞杆与缸筒的“滑动杆”连接上,根据液压支架的运动规律设置伺服电动机的运动参数。在对液压支架进行运动分析之前,可以设定一些运动的初始条件,确定初始位置,然后根据需要选择合适的运动分析类型,设置运动时间,观察液压支架的运动情况。在回放时要进行碰撞检测,以保证运动仿真模型的正确性,在没有干涉的前提下可以保存运动仿真动画,方便以后查看[5]。

(a) 顶梁

(b) 掩护梁

(c) 底座
图1 液压支架三维模型

图2 液压支架装配图
在运动仿真后,对液压支架特殊点的运动轨迹进行分析,特殊点包括掩护梁顶点、顶梁顶点等。以液压支架底座对称面左下角为原点建立坐标系,X轴正方向水平向右,Y轴正方向垂直向上(图2),现以掩护梁顶点为例,进行运动轨迹分析,如图3所示。从图3可以看出,在支架由低到高的运动过程中,掩护梁顶点的运动轨迹呈双纽线,且其变化范围在12 mm内,满足设计要求。

图3 掩护梁运动轨迹曲线
图4为掩护梁顶点的运动特性曲线,从图4可以直观地看到支架上升过程中位置、速度、加速度与时间的关系。

图4 掩护梁顶点运动特性曲线分析
利用Pro/E对液压支架进行三维建模和运动仿真,得到液压支架特殊点的运动特性曲线,可在很大程度上反映液压支架的真实工作状况。通过此种方法,在设计阶段就可以直观地看到产品的整体性能及潜在的设计缺陷,根据仿真结果对产品模型进行修改,重复进行仿真,直到符合预期的结果为止。利用此方法不仅可以缩短产品的研发周期,而且可节约成本,极大地提高了企业的市场竞争力。
参考文献:
[1] 马希青,教光印,李秋生,等.基于 Pro/E的液压支架三维实体建模与运动仿真[J]. 煤矿机械,2007,28(1):73-75.
[2] 王国法.液压支架技术[M].北京:煤炭工业出版社,1999.
[3] 杨继春,杨建国.装配设计与运动仿真及Pro/E实现[M].北京:国防工业出版社,2006.
[4] 臧峰,赵啦啦,王忠宾,等.基于Pro/E的液压支架三维建模与运动仿真[J]. 煤矿机械,2007,28(5):64-66.
[5] 宋东生,王悦勇,魏栋梁,等.基于三化综合设计的液压支架研究[J].煤炭科技, 2010(3):8-10.
YU Tao, LIU Xiujie, ZHANG Yujiao, ZHANG Xianghua, WANG Yueliang
(College of Mechanical and Electronic Engineering,Shandong University of Science and Technology,Qingdao 266590,China)
Abstract:The paper introduced a method for three-dimension modeling and motion simulation of hydraulic support using software of Pro/E, it can be used to analyze and improve product in design phase and shorten product development cycle.
Key words:hydraulic support; three-dimension modeling; motion simulation
作者简介:于涛(1972-),男,山东泰安人,副教授,博士,主要从事煤炭装备设计制造的教学与研究工作,E-mail:lxjhktk@126.com。
基金项目:中国煤炭工业协会科技指导性计划项目(MTKJ 2012-344)。
收稿日期:2015-12-03;修回日期:2016-02-23;责任编辑:胡娴。
中图分类号:TD355
文献标志码:B 网络出版时间:2016-04-05 11:36
文章编号:1671-251X(2016)04-0081-02
DOI:10.13272/j.issn.1671-251x.2016.04.020
于涛,刘秀杰,张玉娇,等.基于Pro/E的液压支架三维建模和运动仿真[J].工矿自动化,2016,42(4):81-82.